GM Service Manual Online
For 1990-2009 cars only

Object Number: 1847165  Size: MF

Callout

Component Name

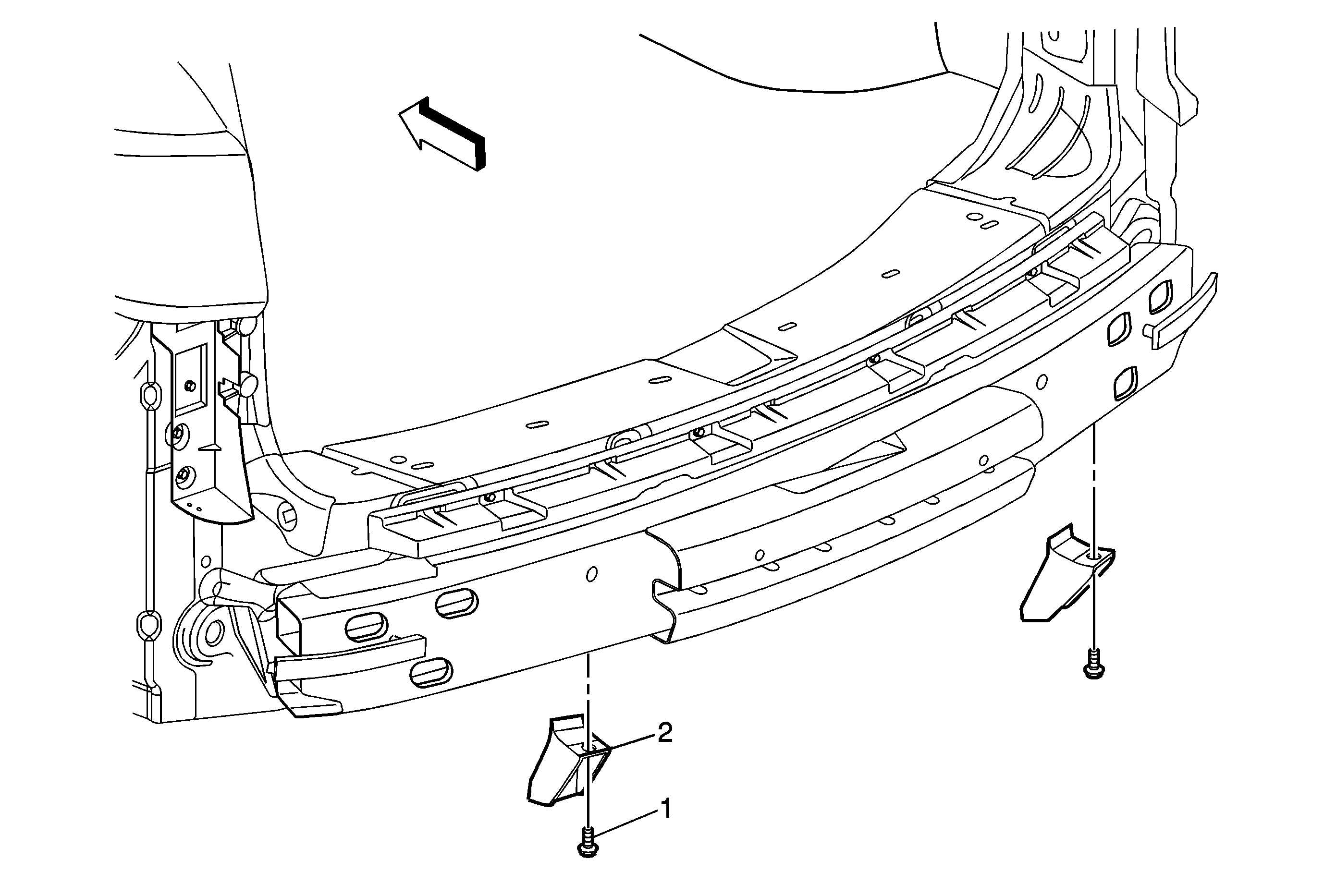
Preliminary Procedure

Remove the rear bumper fascia. Refer to Rear Bumper Upper Fascia Replacement.

1

Rear Bumper Fascia Support Bolt (Qty: 2)

Notice: Refer to Fastener Notice in the Preface section.

Tighten
6 N·m (54 lb in).

2

Rear Bumper Fascia Support