GM Service Manual Online
For 1990-2009 cars only

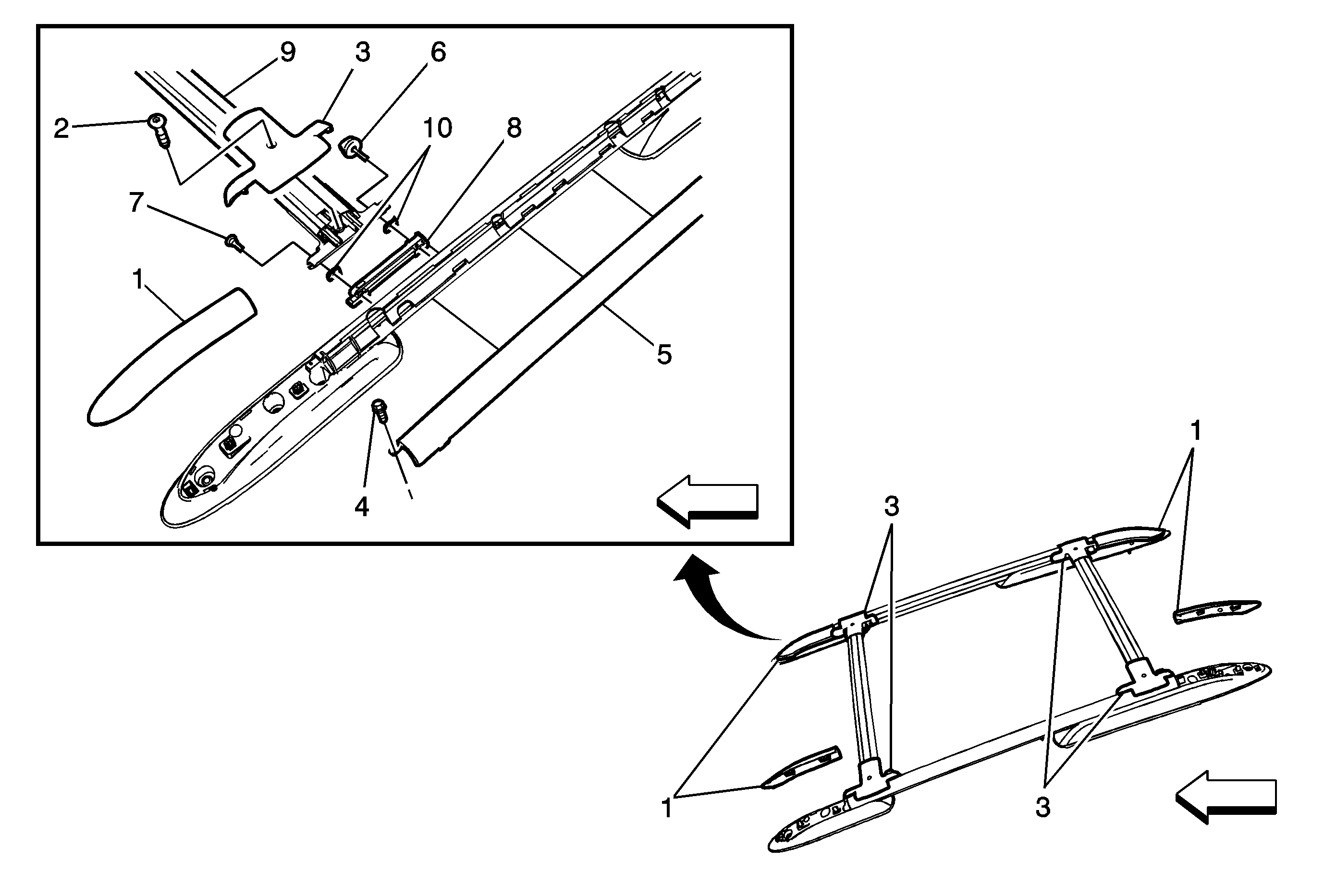
Object Number: 2064358  Size: MF

Callout

Component Name

1

Luggage Carrier Finish Cover (Qty: 4)

Procedure

Remove the luggage carrier finish covers from all for corners. Refer to Luggage Carrier Replacement.

Tip
It is necessary to remove the rear cross rail if the front cross rail is being removed.

2

Luggage Carrier Cross Rail Cover Screws (Qty: 4)

Notice: Refer to Fastener Notice in the Preface section.

Tighten
Tighten the screws to 5 N·m (44 lb in).

3

Luggage Carrier Cross Rail Covers (Qty: 4)

4

Luggage Carrier Rail Applique Screws (Qty: 4)

Tighten
Tighten the screws to 5 N·m (44 lb in).

5

Luggage Carrier Rail Appliques (Qty: 2)

6

Luggage Carrier Cross Rail Bolts (Qty: 2)

Tighten
Tighten the screws to 5 N·m (44 lb in).

Tip
Note the location of the number six bolt used for tie down. One in each inside corner of the cross rail.

7

Luggage Carrier Cross Rail Bolts (Qty: 2)

Tighten
Tighten the screws to 5 N·m (44 lb in).

8

Luggage Carrier Cross Rail Slide (Qty: 2)

9

Luggage Carrier Cross Rail

Procedures

  1. Slide the luggage carrier cross rail to the end of the rail.
  2. Unhook the cross rail and slide from the rail. Do this for both sides to remove.

10

Luggage Carrier Cross Rail Slide Nuts (Qty: 4)