GM Service Manual Online
For 1990-2009 cars only

DTC P1819 3.5L


Object Number: 1545501  Size: LF
Master Electrical Component List
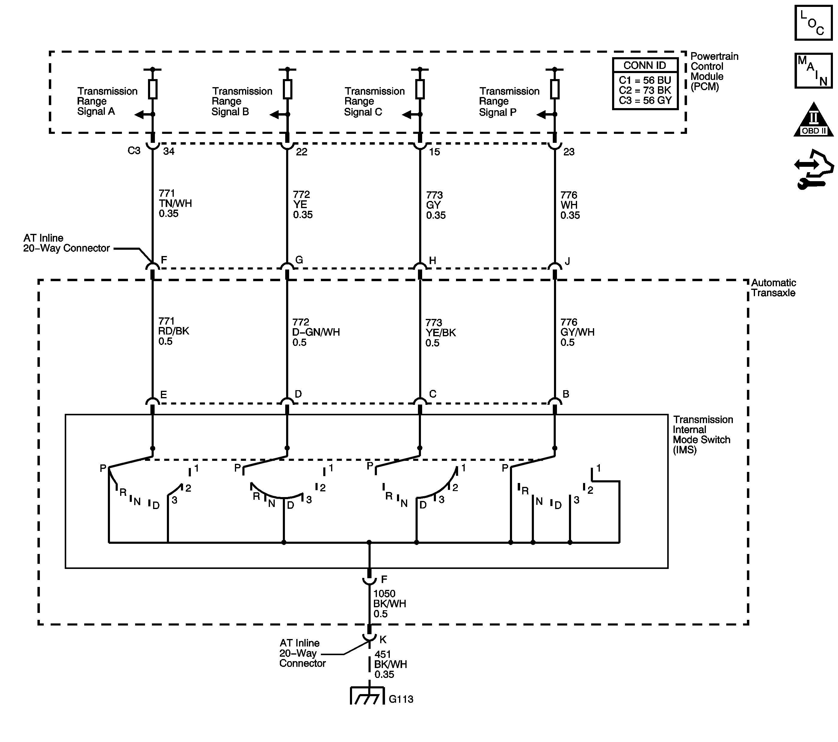
Automatic Transmission Controls Schematics (LZ9)
OBD II Symbol Description Notice
Control Module References

Circuit Description

The transmission internal mode switch (IMS) is a sliding contact switch attached to the selector detent inside the transmission side cover. The 4 inputs to the PCM indicate the position of the transmission range selector. The input voltage level at the PCM is high, B+, when the IMS is open and low when the switch is closed to ground. The 4 input parameters represented are Signals A, B, C and P - Parity. Refer to Transmission Internal Mode Switch Logic .

If the PCM detects a combination of IMS signals that do not indicate PARK or NEUTRAL while attempting to start the vehicle, then DTC P1819 sets. DTC P1819 is a type C DTC.

DTC Descriptor

This diagnostic procedure supports the following DTC:

DTC P1819 Internal Mode Switch - No Start/Wrong Range

Conditions for Running the DTC

    • The ignition switch is in the CRANK position.
    • The engine speed is 10 RPM or less.

Conditions for Setting the DTC

The PCM detects a combination of IMS signals that do not indicate PARK or NEUTRAL for 0.5 seconds.

Action Taken When the DTC Sets

    • The PCM does not illuminate the malfunction indicator lamp (MIL).
    • The PCM records the operating conditions when the Conditions for Setting the DTC are met. The PCM stores this information as Failure Records.
    • The PCM stores DTC P1819 in PCM history.

Conditions for Clearing the DTC

    • A scan tool can clear the DTC.
    • The PCM clears the DTC from PCM history if the vehicle completes 40 warm-up cycles without a non-emission-related diagnostic fault occurring.
    • The PCM cancels the DTC default actions when the ignition switch is OFF long enough in order to power down the PCM.

Test Description

The numbers below refer to the step numbers on the diagnostic table.

  1. HI values for all signals in both Park and Drive 4 indicates the ground circuit is OPEN.

  2. With the 20-way connector disconnected, all signals should indicate HI.

  3. If one circuit affects the other, this indicates a short between the two circuits.

  4. This step tests the internal transmission harness. If no fault is found in the harness, the fault will be in the switch.

Step

Action

Value(s)

Yes

No

1

Did you perform the Diagnostic System Check - Vehicle?

--

Go to Step 2

Go to Diagnostic System Check - Vehicle

2

  1. Install a scan tool.
  2. Turn ON the ignition, with the engine OFF.
  3. Important: Before clearing the DTC, use the scan tool in order to record the Failure Records. Using the Clear DTC Information function erases the Failure Records from the PCM.

  4. Record the DTC Freeze Frame and Failure Records.
  5. Clear the DTC.
  6. Select IMS on the scan tool.
  7. Place the gear select lever in PARK range, then move to NEUTRAL range.

Does each range selected match the scan tool IMS display?

--

Go to Testing for Intermittent Conditions and Poor Connections

Go to Step 3

3

  1. Select IMS A/B/C/P on the scan tool.
  2. Place the gear select lever in PARK range, then move to D4 range.

Does the IMS A/B/C/P parameter indicate the specified value for each range?

HI/HI/HI/HI

Go to Step 14

Go to Step 4

4

  1. Inspect the transmission linkage from the range selector to the manual shift shaft for proper adjustment.
  2. Adjust the linkage as necessary.
  3. Refer to Range Selector Lever Cable Adjustment .

Did the linkage require adjustment?

--

Go to Step 19

Go to Step 5

5

  1. Turn OFF the ignition.
  2. Disconnect the AT Inline 20-way connector. Additional DTCs may set.
  3. Turn ON the ignition, with the engine OFF.
  4. Select IMS A/B/C/P on the scan tool.

Do the scan tool IMS A/B/C/P signals all indicate HI?

--

Go to Step 6

Go to Step 10

6

  1. Turn OFF the ignition.
  2. Install the J 44152 jumper harness on the engine side of the AT Inline 20-way connector.
  3. Turn ON the ignition, with the engine OFF.
  4. Using the DMM and the J-35616 Terminal test kit, measure the voltage at the TR signal A circuit of the J 44152 .
  5. Refer to Automatic Transmission Inline 20-Way Connector End View .

  6. Measure the voltage at the TR signal B circuit of the J 44152 .
  7. Measure the voltage at the TR signal C circuit of the J 44152 .
  8. Measure the voltage at the TR signal P circuit of the J 44152 .

Does the voltage measure ignition voltage at all four terminals?

--

Go to Step 7

Go to Step 11

7

Connect a fused jumper wire from the TR signal A circuit of the J 44152 to ground while monitoring the scan tool IMS A/B/C/P parameter.

Refer to Automatic Transmission Inline 20-Way Connector End View .

When the TR signal circuit A is grounded, do any other signal circuits indicate LOW?

--

Go to Step 12

Go to Step 8

8

Connect a fused jumper wire from the TR signal B circuit of the J 44152 to ground while monitoring the scan tool IMS A/B/C/P parameter.

Refer to Automatic Transmission Inline 20-Way Connector End View .

When the TR signal circuit B is grounded, do any other signal circuits indicate LOW?

--

Go to Step 12

Go to Step 9

9

Connect a fused jumper wire from the TR signal C circuit of the J 44152 to ground while monitoring the scan tool IMS A/B/C/P parameter.

Refer to Automatic Transmission Inline 20-Way Connector End View .

When the TR signal circuit C is grounded, do any other signal circuits indicate LOW?

--

Go to Step 12

Go to Step 13

10

Test the TR signal circuits of the IMS that did not indicate HI for a short to ground between the PCM and the AT Inline 20-way connector. Refer to Testing for Short to Ground and Wiring Repairs .

Did you find and correct the condition?

--

Go to Step 19

Go to Step 18

11

Test the TR signal circuits of the IMS that did not indicate ignition voltage for an open between the PCM and the AT Inline 20-way connector. Refer to Testing for Continuity and Wiring Repairs .

Did you find and correct the condition?

--

Go to Step 19

Go to Step 18

12

Test the affected TR signal circuits of the IMS for a shorted together condition between the PCM and the AT Inline 20-way connector. Refer to Circuit Testing and Wiring Repairs .

Did you find and correct the condition?

--

Go to Step 19

Go to Step 18

13

Test the TR signal circuits of the IMS for an open or shorted condition between the AT Inline 20-way connector and the IMS. Refer to Circuit Testing .

Did you find the condition?

--

Go to Step 16

Go to Step 17

14

Test the ground circuit of the IMS for an open between the AT Inline 20-way connector and the chassis. Refer to Testing for Continuity and Wiring Repairs .

Did you find and correct the condition?

--

Go to Step 19

Go to Step 15

15

Test the ground circuit of the IMS for an open between the AT Inline 20-way connector and the IMS. Refer to Testing for Continuity .

Did you find the condition?

--

Go to Step 16

Go to Step 17

16

Replace the automatic transmission wiring harness assembly.

Refer to Wiring Harness Replacement .

Did you complete the replacement?

--

Go to Step 19

--

17

Replace the lever assembly-manual shaft detent with internal mode switch.

Refer to Manual Shift Detent Lever with Shaft Position Switch Assembly Removal .

Did you complete the replacement?

--

Go to Step 19

--

18

Replace the PCM. Refer to Control Module References .

Did you complete the replacement?

--

Go to Step 19

--

19

Perform the following procedure in order to verify the repair:

  1. Select DTC.
  2. Select Clear DTC Information.
  3. Start the engine in PARK range.
  4. Turn OFF the ignition.
  5. Start the engine in NEUTRAL range.
  6. Select Specific DTC.
  7. Enter DTC P1819.

Has the test run and passed?

--

Go to Step 20

Go to Step 2

20

With a scan tool, observe the stored information, capture info and DTC info.

Does the scan tool display any DTCs that you have not diagnosed?

--

Go to Diagnostic Trouble Code (DTC) List - Vehicle

System OK