GM Service Manual Online
For 1990-2009 cars only

Tools Required

J 38778 Door Trim Pad Clip Remover

Removal Procedure


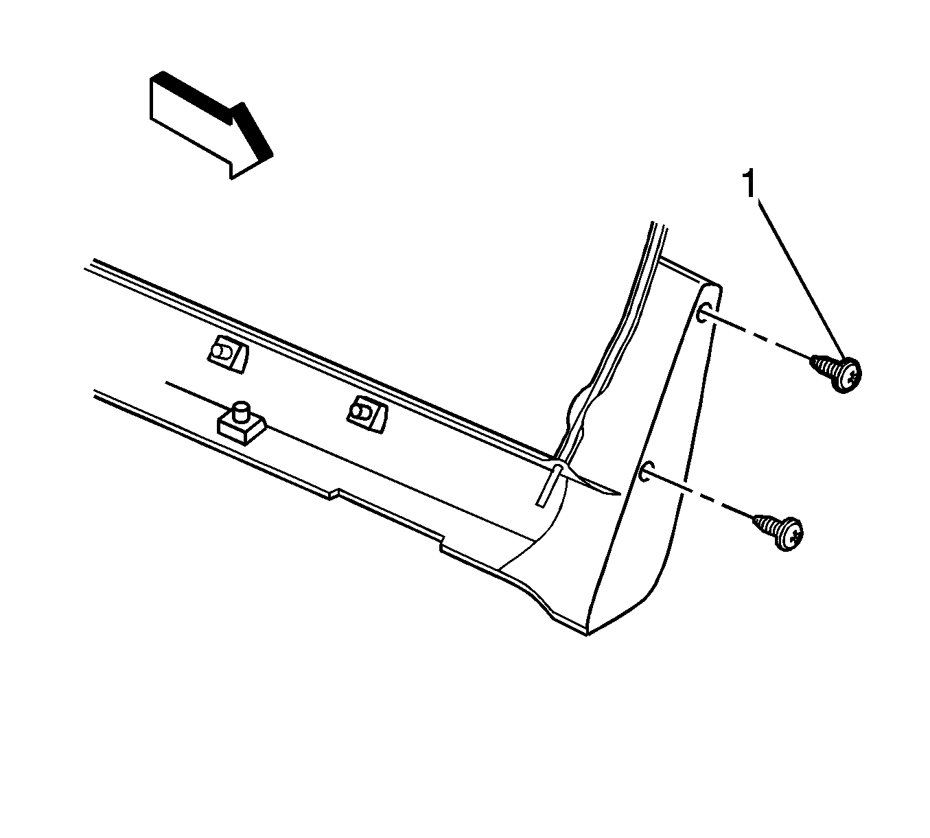
    Object Number: 1502979  Size: SH
  1. Remove the 2 rear lower rocker panel to wheelhouse molding screws (1).
  2. Release the adhesive tape from the top horizontal edge of the rear molding.
  3. Slide the rear molding rearward in order to release the molding from the body and front rocker molding.
  4. Remove the 2 front wheelhouse panel screws (1).
  5. Release the adhesive tape from the vertical edge of the front rocker panel molding.
  6. Use the J 38778 in order to remove the 6 push-in retainers at the bottom edge of the rocker molding.
  7. Using the J 38778 , remove the 9 retainers at the top edge of the rocker panel molding.

  8. Object Number: 1502974  Size: SH
  9. Remove the rocker panel molding from the vehicle.
  10. Clean the adhesive from the body panel using a 50/50 mixture by volume of isopropyl alcohol and water.
  11. Dry the surface thoroughly before applying the new molding.

Installation Procedure

    Important: Do not release the adhesive tape backing from the molding until the molding is in position.

  1. Bend the tape backing outward of the molding in order to release after the molding is secured.
  2. Install the retainers to the new rocker panel molding.

  3. Object Number: 1502974  Size: SH
  4. Position the front molding to the body side.
  5. Align the 9 upper retainers to the body panel.
  6. Push the molding inward in order to secure.
  7. Align the 6 bottom retainers to the body panel and push inward in order to secure.
  8. Release the adhesive tape backing from the front vertical edge of the molding and secure the molding to the body.
  9. Notice: Refer to Fastener Notice in the Preface section.


    Object Number: 1502978  Size: SH
  10. Install the 2 forward screws (1).
  11. Tighten
    Tighten the screws to 2 N·m (18 lb in).

  12. Secure the retainer clip to the rear rocker panel molding.
  13. Position the forward edge of the rear molding under the rear edge of the forward molding.
  14. Secure the forward 2 clips.
  15. Position the retainer to the body panel hole.
  16. Push inward in order to secure.
  17. Release the adhesive tape backing from the horizontal edge of the molding and wet-out the adhesive tape.

  18. Object Number: 1502979  Size: SH
  19. Install the screws (1).
  20. Tighten
    Tighten the screws to 2 N·m (18 lb in).