GM Service Manual Online
For 1990-2009 cars only

General Description

A crankcase ventilation system is used to consume crankcase vapors in the combustion process instead of venting them to atmosphere. Fresh air from the intake system is supplied to the crankcase, mixed with blow by gases and then passed through a calibrated orifice into the intake manifold.

Operation


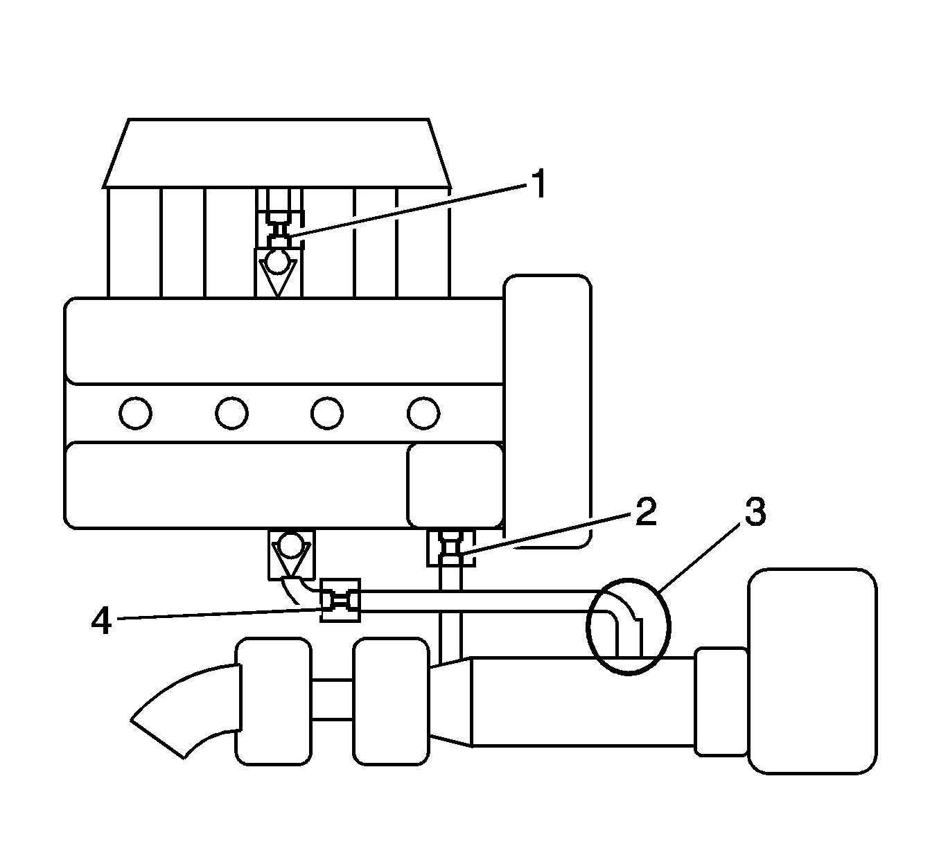
Object Number: 1922905  Size: SH

The primary control is through the positive crankcase ventilation (PCV) orifice (1) which meters the flow at a rate depending on inlet vacuum. The PCV orifice is an integral part of the camshaft cover. If abnormal operating conditions occur, the system is designed to allow excessive amounts of blow by gases to back flow through the crankcase vent orifices (2, 4) into the intake system to be consumed by normal combustion.

There is a one way valve (3) in the intake manifold in order to prevent the crankcase from being pressurized by positive pressure in the intake manifold when the turbocharger is in operation. When the turbocharger is operational, the pressure in the intake manifold can exceed atmospheric pressure which, without the one way valve, would force oil and PCV gases out of the camshaft cover and into the induction system, via the hose to the camshaft cover. This can cause coking of the throttle body and induction system, and can reduce the efficiency of both combustion and the intercooler system, in normal operation the PCV gases are drawn into the air stream post intercooler.