GM Service Manual Online
For 1990-2009 cars only
Connector 1: 1-2 Shift Solenoid (SS) Valve, Wiring Harness Side (M82)
Connector 2: 2-3 Shift Solenoid (SS) Valve, Wiring Harness Side (M82)
Connector 3: 4-5 Shift Solenoid (SS) Valve, Wiring Harness Side (M82)
Connector 4: A/C Compressor Clutch (C60)
Connector 5: A/C Refrigerant Pressure Sensor (C60)
Connector 6: Accelerator Pedal Position (APP) Sensor
Connector 7: Accessory Power Outlet
Connector 8: Air Temperature Actuator - Left
Connector 9: Air Temperature Actuator - Right
Connector 10: Ambient Light Sensor
Connector 11: Audio Amplifier - X1 (UQ3)
Connector 12: Audio Amplifier - X2 (UQ3)
Connector 13: Audio Amplifier - X3 (UQ3)
Connector 14: Automatic Transmission Shift Lock Control Solenoid (M82)
Connector 15: Backup Lamp - Left (Solstice)
Connector 16: Backup Lamp - Right (Solstice)
Connector 17: Backup Lamp (SKY)
Connector 18: Backup Lamp Switch (MA5)
Connector 19: Blower Motor
Connector 20: Blower Motor High Speed Relay
Connector 21: Blower Motor Resistor
Connector 22: Body Control Module (BCM) X1
Connector 23: Body Control Module (BCM) X2
Connector 24: Body Control Module (BCM) X3
Connector 25: Body Control Module (BCM) X4
Connector 26: Brake Booster Pump Motor (Late Production LNF)
Connector 27: Brake Booster Vacuum Sensor (LNF)
Connector 28: Brake Fluid Level Switch
Connector 29: Brake Pedal Position (BPP) Sensor
Connector 30: Camshaft Position (CMP) Actuator Solenoid Valve - Exhaust
Connector 31: Camshaft Position (CMP) Actuator Solenoid Valve - Intake
Connector 32: Camshaft Position (CMP) Sensor - Exhaust
Connector 33: Camshaft Position (CMP) Sensor - Intake
Connector 34: Cellular Telephone Microphone (UE1)
Connector 35: Center High Mounted Stop Lamp (CHMSL)
Connector 36: Clutch Pedal Position (CPP) Sensor (MA5)
Connector 37: Crankshaft Position (CKP) Sensor
Connector 38: Data Link Connector (DLC)
Connector 39: Data Link Resistor
Connector 40: Digital Radio Receiver (U2K)
Connector 41: Door Lock Actuator - Driver (AU3)
Connector 42: Door Lock Actuator - Passenger (AU3)
Connector 43: Door Lock Switch - Driver (AU3)
Connector 44: Door Lock Switch - Passenger (AU3)
Connector 45: Electronic Brake Control Module (EBCM) (JL9)
Connector 46: Engine Control Module (ECM) - X1 (LE5)
Connector 47: Engine Control Module (ECM) - X2 (LE5)
Connector 48: Engine Control Module (ECM) X1 (LNF)
Connector 49: Engine Control Module (ECM) X2 (LNF)
Connector 50: Engine Coolant Level Switch
Connector 51: Engine Coolant Temperature (ECT) Sensor (LE5)
Connector 52: Engine Coolant Temperature (ECT) Sensor (LNF)
Connector 53: Engine Cooling Fan (LE5)
Connector 54: Engine Cooling Fan (LNF)
Connector 55: Engine Oil Pressure (EOP) Switch
Connector 56: Evaporative Emission (EVAP) Canister Purge Solenoid Valve
Connector 57: Evaporative Emission (EVAP) Canister Vent Solenoid Valve
Connector 58: Evaporator Temperature Sensor (C60)
Connector 59: Fog Lamp - Left Front (T96)
Connector 60: Fog Lamp - Right Front (T96)
Connector 61: Fog Lamp Switch (T96)
Connector 62: Folding Top Cover Actuator
Connector 63: Fuel Injector 1 (LE5)
Connector 64: Fuel Injector 1 (LNF)
Connector 65: Fuel Injector 2 (LE5)
Connector 66: Fuel Injector 2 (LNF)
Connector 67: Fuel Injector 3 (LE5)
Connector 68: Fuel Injector 3 (LNF)
Connector 69: Fuel Injector 4 (LE5)
Connector 70: Fuel Injector 4 (LNF)
Connector 71: Fuel Pump and Sender Assembly
Connector 72: Fuel Rail Pressure (FRP) Sensor (LNF)
Connector 73: Fuel Tank Pressure (FTP) Sensor
Connector 74: Generator X1
Connector 75: Generator X2
Connector 76: Hazard Warning Switch (SKY)
Connector 77: Hazard Warning Switch (Solstice)
Connector 78: Headlamp - Left High Beam (SKY)
Connector 79: Headlamp - Left Low Beam (SKY)
Connector 80: Headlamp - Left (Solstice)
Connector 81: Headlamp - Right High Beam (SKY)
Connector 82: Headlamp - Right Low Beam (SKY)
Connector 83: Headlamp - Right (Solstice)
Connector 84: Heated Oxygen Sensor (HO2S) 1 (LE5)
Connector 85: Heated Oxygen Sensor (HO2S) 1 (LNF)
Connector 86: Heated Oxygen Sensor (HO2S) 2 (LE5)
Connector 87: Heated Oxygen Sensor (HO2S) 2 (LNF)
Connector 88: High Pressure Fuel Pump (LNF)
Connector 89: Horn
Connector 90: Horn Switch
Connector 91: HVAC Control Module X1
Connector 92: HVAC Control Module X2
Connector 93: HVAC Control Module X3
Connector 94: I/P Dimmer Switch (SKY)
Connector 95: I/P Dimmer Switch (Solstice)
Connector 96: Ignition Coil 1
Connector 97: Ignition Coil 2
Connector 98: Ignition Coil 3
Connector 99: Ignition Coil 4
Connector 100: Ignition Switch
Connector 101: Inflatable Restraint Front End Sensor - Left
Connector 102: Inflatable Restraint Front End Sensor - Right
Connector 103: Inflatable Restraint I/P Module X1
Connector 104: Inflatable Restraint I/P Module X2
Connector 105: Inflatable Restraint I/P Module Indicator
Connector 106: Inflatable Restraint Passenger Presence System (PPS) Module
Connector 107: Inflatable Restraint Sensing and Diagnostic Module (SDM)
Connector 108: Inflatable Restraint Steering Wheel Module X1
Connector 109: Inflatable Restraint Steering Wheel Module X2
Connector 110: Inflatable Restraint Steering Wheel Module Coil X1
Connector 111: Inflatable Restraint Steering Wheel Module Coil X2
Connector 112: Inflatable Restraint Steering Wheel Module Coil X3
Connector 113: Input Speed Sensor (ISS), Wiring Harness Side (M82)
Connector 114: Inside Rearview Mirror (ISRVM) (UE1)
Connector 115: Inside Rearview Mirror (ISRVM) (without UE1)
Connector 116: Instrument Panel Cluster (IPC)
Connector 117: Intake Air Pressure and Temperature Sensor (LNF)
Connector 118: Knock Sensor (LE5)
Connector 119: Knock Sensor (KS) - 1 (LNF)
Connector 120: Knock Sensor (KS) - 2 (LNF)
Connector 121: License Lamp
Connector 122: Manifold Absolute Pressure (MAP) Sensor (LE5)
Connector 123: Manifold Absolute Pressure (MAP) Sensor (LNF)
Connector 124: Marker Lamp - Left Front
Connector 125: Marker Lamp - Left Rear (SKY)
Connector 126: Marker Lamp - Right Front
Connector 127: Marker Lamp - Right Rear (SKY)
Connector 128: Mass Air Flow (MAF)/Intake Air Temperature (IAT) Sensor
Connector 129: Mode Actuator
Connector 130: Output Speed Sensor (OSS), Wiring Harness Side (M82)
Connector 131: Outside Air Temperature Sensor (SKY)
Connector 132: Outside Rearview Mirror - Driver (D48)
Connector 133: Outside Rearview Mirror - Passenger (D48)
Connector 134: Outside Rearview Mirror Switch (D48)
Connector 135: Park Brake Switch
Connector 136: Park Lamp - Left Front (SKY)
Connector 137: Park Lamp - Right Front (SKY)
Connector 138: Park/Turn Signal Lamp - Left (Solstice)
Connector 139: Park/Turn Signal Lamp - Right (Solstice)
Connector 140: Pressure Control (PC) Solenoid Valve, Wiring Harness Side (M82)
Connector 141: Radio - X1
Connector 142: Radio - X2
Connector 143: Rear Compartment Courtesy Lamp
Connector 144: Rear Compartment Lid Ajar Switch
Connector 145: Rear Compartment Lid Latch Release Actuator
Connector 146: Rear Compartment Lid Release Switch
Connector 147: Rear Window Defogger Grid X1
Connector 148: Rear Window Defogger Grid X2
Connector 149: Recirculation Actuator
Connector 150: Remote Control Door Lock Receiver (RCDLR) (AU3/AU0)
Connector 151: Seat Adjuster Switch - Driver (AF2)
Connector 152: Seat Belt Pretensioner - Driver (Solstice)
Connector 153: Seat Belt Pretensioner - Driver (SKY)
Connector 154: Seat Belt Pretensioner - Passenger
Connector 155: Seat Belt Switch - Driver
Connector 156: Seat Belt Switch - Passenger
Connector 157: Seat Front Vertical Motor - Driver (AF2)
Connector 158: Speaker - Left Front (UQ3)
Connector 159: Speaker - Left Front (UW5)
Connector 160: Speaker - Left Rear (UQ3)
Connector 161: Speaker - Left Rear (UW5)
Connector 162: Speaker - Left Tweeter
Connector 163: Speaker - Right Front (UQ3)
Connector 164: Speaker - Right Front (UW5)
Connector 165: Speaker - Right Rear (UQ3)
Connector 166: Speaker - Right Rear (UW5)
Connector 167: Speaker - Right Tweeter
Connector 168: Speaker - Subwoofer (UQ3)
Connector 169: Starter Motor X1
Connector 170: Starter Motor X2 (LE5)
Connector 171: Starter Motor X2 (LNF)
Connector 172: Steering Angle Sensor (JL9)
Connector 173: Steering Wheel Control Switch - Left (K34)
Connector 174: Steering Wheel Control Switch - Right (UK3)
Connector 175: Tail/Stop and Turn Signal Lamp - Left (SKY)
Connector 176: Tail/Stop and Turn Signal Lamp - Left (Solstice)
Connector 177: Tail/Stop and Turn Signal Lamp - Right (SKY)
Connector 178: Tail/Stop and Turn Signal Lamp - Right (Solstice)
Connector 179: Theft Deterrent Module (TDM)
Connector 180: Throttle Body
Connector 181: Torque Converter Clutch (TCC) Pulse Width Modulation (PWM) Solenoid Valve, Wiring Harness Side (M82)
Connector 182: Traction Control Switch (TCS) (JL9)
Connector 183: Transmission Control Module (TCM) (M82)
Connector 184: Transmission Manual Shift Shaft Switch, Wiring Harness Side (M82)
Connector 185: Turbocharger Bypass Valve Solenoid (LNF)
Connector 186: Turbocharger Wastegate Solenoid (LNF)
Connector 187: Turn Signal Lamp - Left Front (SKY)
Connector 188: Turn Signal Lamp - Right Front (SKY)
Connector 189: Turn Signal/Multifunction Switch X1
Connector 190: Turn Signal/Multifunction Switch X2
Connector 191: Vehicle Communication Interface Module (VCIM) X1 (UE1)
Connector 192: Vehicle Communication Interface Module (VCIM) X2 (UE1)
Connector 193: Vehicle Communication Interface Module (VCIM) X4 (UE1)
Connector 194: Vehicle Speed Sensor (VSS) (MA5)
Connector 195: Wheel Speed Sensor (WSS) - Left Front
Connector 196: Wheel Speed Sensor (WSS) - Left Rear
Connector 197: Wheel Speed Sensor (WSS) - Right Front
Connector 198: Wheel Speed Sensor (WSS) - Right Rear
Connector 199: Window Motor - Driver (A31)
Connector 200: Window Motor - Passenger (A31)
Connector 201: Window Switch - Driver (A31)
Connector 202: Window Switch - Passenger (A31)
Connector 203: Windshield Washer Fluid Pump
Connector 204: Windshield Wiper Motor
Connector 205: Windshield Wiper/Washer Switch
Connector 206: Yaw and Lateral Accelerometer Sensor (JL9)

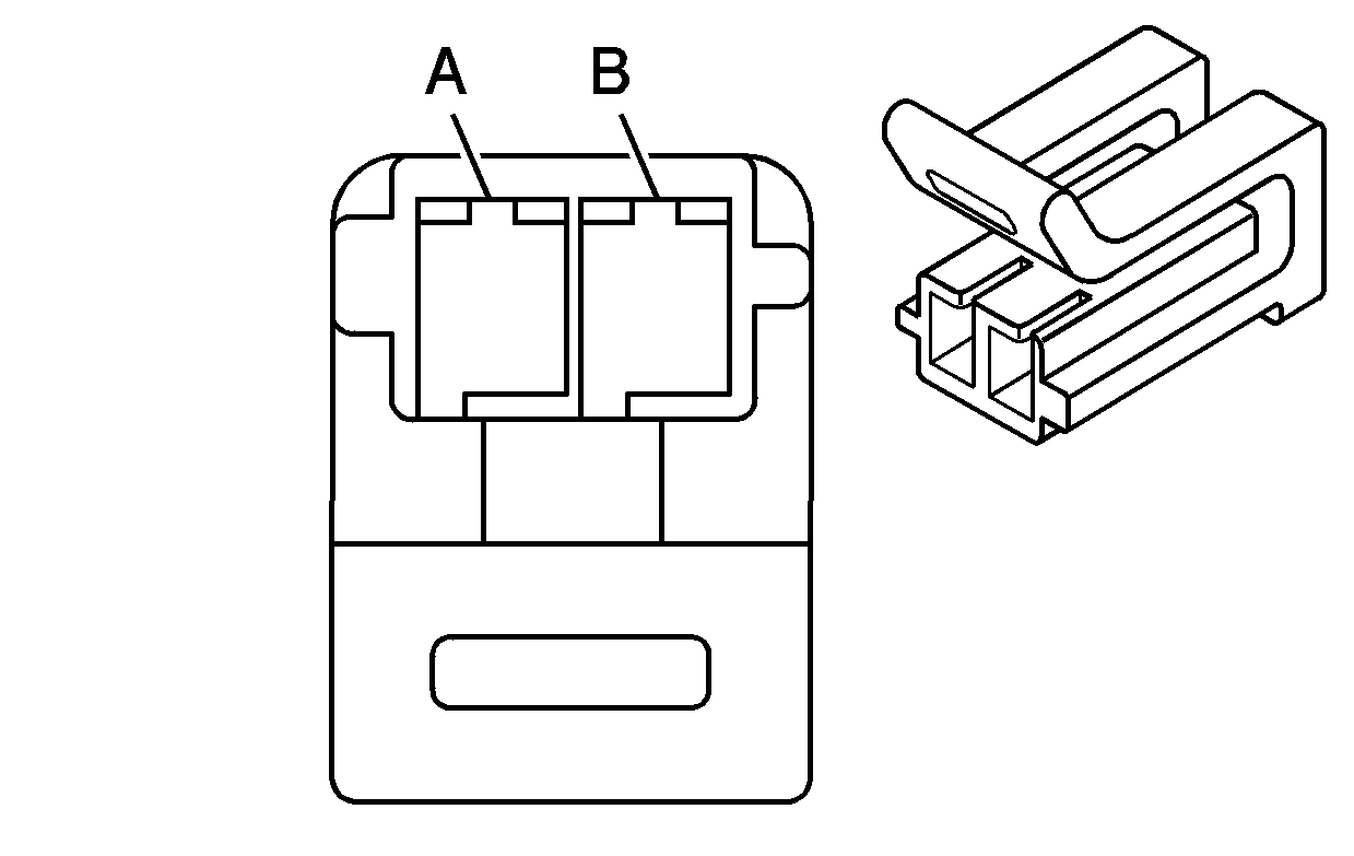
1-2 Shift Solenoid (SS) Valve, Wiring Harness Side (M82)


Object Number: 799985  Size: CH

Connector Part Information

  • OEM: 12146094
  • Service: See Catalog
  • Description: 2-Way F Metri-Pack 150.2 Series P2S (GY)

Terminal Part Information

  • Terminal/Tray: Non-Serviceable
  • Core/Insulation Crimp: Non-Serviceable
  • Release Tool/Test Probe: Non-Serviceable

1-2 Shift Solenoid (SS) Valve, Wiring Harness Side (M82)

Pin

Wire

Circuit

Function

A

BK

1222

1-2 Shift Solenoid Valve Control

B

WH

1525

Clutch Pressure Control Solenoid Valve 1 High Control

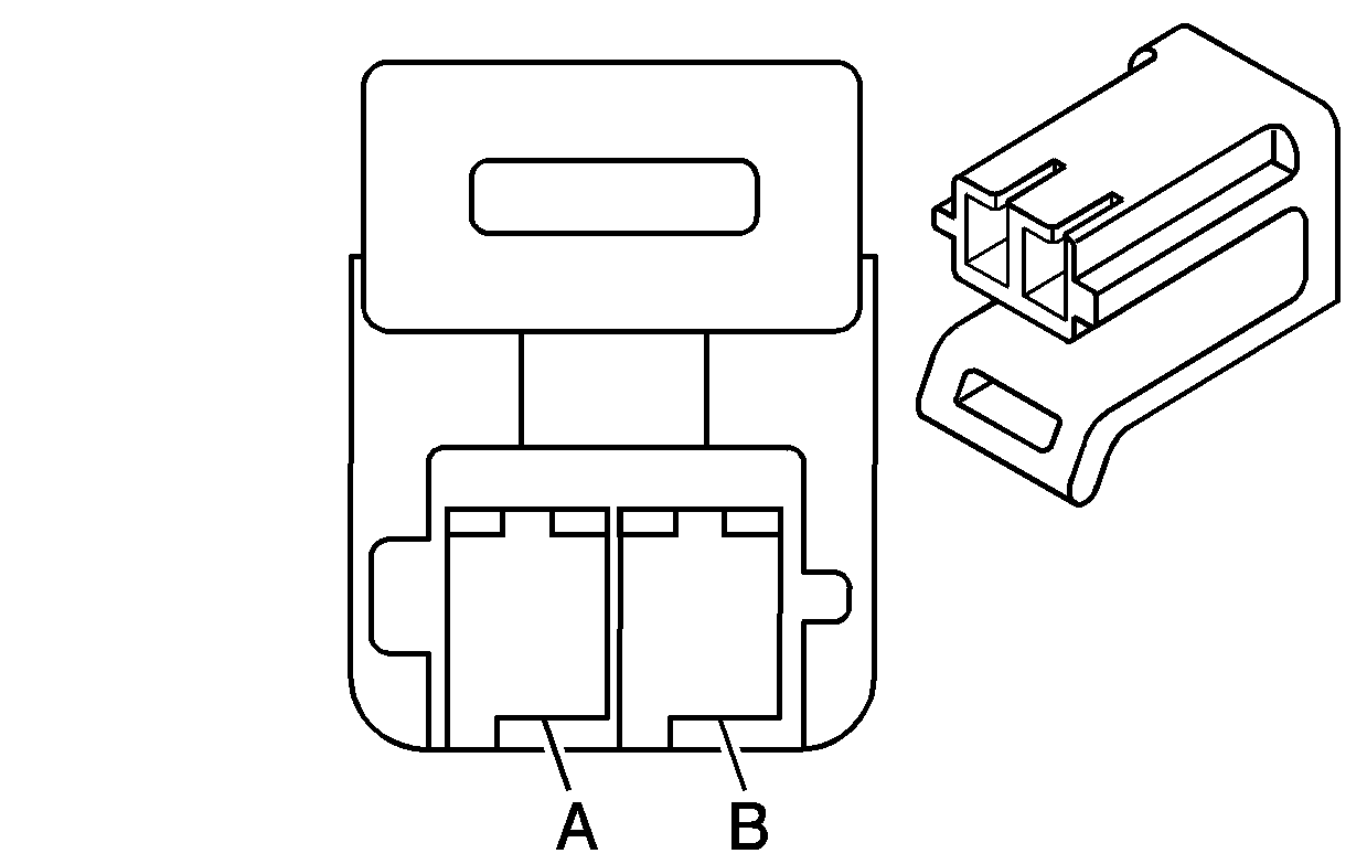
2-3 Shift Solenoid (SS) Valve, Wiring Harness Side (M82)


Object Number: 799985  Size: CH

Connector Part Information

  • OEM: 12146094
  • Service: See Catalog
  • Description: 2-Way F Metri-Pack 150.2 Series P2S (GY)

Terminal Part Information

  • Terminal/Tray: Non-Serviceable
  • Core/Insulation Crimp: Non-Serviceable
  • Release Tool/Test Probe: Non-Serviceable

2-3 Shift Solenoid (SS) Valve, Wiring Harness Side (M82)

Pin

Wire

Circuit

Function

A

BU

1223

2-3 Shift Solenoid Valve Control

B

WH

1525

Clutch Pressure Control Solenoid Valve 1 High Control

4-5 Shift Solenoid (SS) Valve, Wiring Harness Side (M82)


Object Number: 799985  Size: CH

Connector Part Information

  • OEM: 12146094
  • Service: See Catalog
  • Description: 2-Way F Metri-Pack 150.2 Series P2S (GY)

Terminal Part Information

  • Terminal/Tray: Non-Serviceable
  • Core/Insulation Crimp: Non-Serviceable
  • Release Tool/Test Probe: Non-Serviceable

4-5 Shift Solenoid (SS) Valve, Wiring Harness Side (M82)

Pin

Wire

Circuit

Function

A

GY

898

4-5 Shift Solenoid Valve Control

B

WH

1525

Clutch Pressure Control Solenoid Valve 1 High Control

A/C Compressor Clutch (C60)


Object Number: 537107  Size: CH

Connector Part Information

  • OEM: 12052644
  • Service: See Catalog
  • Description: 2-Way F Metri-Pack 150 Series, Sealed (GY)

Terminal Part Information

  • Terminal/Tray: 12048074/2
  • Core/Insulation Crimp: E/1
  • Release Tool/Test Probe: 12094429/J-35616-2A (GY)

A/C Compressor Clutch (C60)

Pin

Wire

Circuit

Function

A

0.5 BK

250

Ground

B

0.5 D-GN

59

A/C Compressor Clutch Supply Voltage

A/C Refrigerant Pressure Sensor (C60)


Object Number: 1519475  Size: CH

Connector Part Information

  • OEM: 13532244
  • Service: See Catalog
  • Description: 3-Way F GT 150 Series, Sealed (BK)

Terminal Part Information

  • Terminal/Tray: 15326267/19
  • Core/Insulation Crimp: E/4
  • Release Tool/Test Probe: 15315247/J-35616-2A (GY)

A/C Refrigerant Pressure Sensor (C60)

Pin

Wire

Circuit

Function

1

0.35 TN

5514

Low Reference

2

0.35 GY

2700

5-Volt Reference 3

3

0.35 OG/BK

380

A/C Refrigerant Pressure Sensor Signal

Accelerator Pedal Position (APP) Sensor


Object Number: 632357  Size: CH

Connector Part Information

  • OEM: 15397577
  • Service: See Catalog
  • Description: 6-Way F GT 150 Series Sealed (BK)

Terminal Part Information

  • Terminal/Tray: 12191818/8
  • Core/Insulation Crimp: E/A
  • Release Tool/Test Probe: 15315247/J-35616-2A (GY)

Accelerator Pedal Position (APP) Sensor

Pin

Wire

Circuit

Function

A

0.35 PU

1272

Low Reference

B

0.35 L-BU

1162

Adjustable Accelerator Pedal Position Sensor 2 Signal

C

0.35 TN

1274

5-Volt Reference 3

D

0.35 BN

1271

Low Reference

E

0.35 D-BU

1161

Adjustable Accelerator Pedal Position Sensor 1 Signal

F

0.35 WH/BK

1164

5-Volt Reference 2

Accessory Power Outlet


Object Number: 362748  Size: CH

Connector Part Information

  • OEM: 12176836
  • Service: 15305923
  • Description: 3-Way F Metri-Pack 280 Series (GY)

Terminal Part Information

  • Pins: A, C
  • Terminal/Tray: 12110844/4
  • Core/Insulation Crimp: C/A
  • Release Tool/Test Probe: 15315247/J-35616-4A (PU)

Accessory Power Outlet

Pin

Wire

Circuit

Function

A

1.0 RD/WH

240

Battery Positive Voltage

B

--

--

Not Used

C

1.0 BK

550

Ground

Air Temperature Actuator - Left


Object Number: 258172  Size: CH

Connector Part Information

  • OEM: 12064982
  • Service: 12102633
  • Description: 5-Way F Micro-Pack 100 Series (BK)

Terminal Part Information

  • Terminal/Tray: 12146447/3
  • Core/Insulation Crimp: E/C
  • Release Tool/Test Probe: 12031876-1/J-35616-6 (BN)

Air Temperature Actuator - Left

Pin

Wire

Circuit

Function

1

0.35 YE

1791

Low Reference

2

0.35 L-BU

733

Air Temperature Door Position Signal

3

0.35 L-BU/BK

1688

5-Volt Reference

4

0.35 D-BU

1199

Air Temperature Door Control

5

0.35 L-GN/BK

1647

Recirculation Door Control B

Air Temperature Actuator - Right


Object Number: 258172  Size: CH

Connector Part Information

  • OEM: 12064982
  • Service: 12102633
  • Description: 5-Way F Micro-Pack 100 Series (BK)

Terminal Part Information

  • Terminal/Tray: 12146447/3
  • Core/Insulation Crimp: E/C
  • Release Tool/Test Probe: 12031876-1/J-35616-6 (BN)

Air Temperature Actuator - Right

Pin

Wire

Circuit

Function

1

0.35 YE

1791

Low Reference

2

0.35 D-BU

1646

Passenger Air Temperature Door Position Signal

3

0.35 L-BU/BK

1688

5-Volt Reference

4

0.35 L-GN/BK

1647

Open Recirculation Door Control

5

0.35 TN

2273

Mode Door Control

Ambient Light Sensor


Object Number: 82383  Size: CH

Connector Part Information

  • OEM: 12047662
  • Service: 12085535
  • Description: 2-Way F Metri-Pack 150 Series (BK)

Terminal Part Information

  • Terminal/Tray: 12064971/5
  • Core/Insulation Crimp: E/C
  • Release Tool/Test Probe: 12094429/J-35616-2A (GY)

Ambient Light Sensor

Pin

Wire

Circuit

Function

A

0.35 L-GN/BK

1137

Daylight Running Lights Ambient Light Sensor Signal

B

0.35 YE/BK

1138

Low Reference

Audio Amplifier - X1 (UQ3)


Object Number: 1566782  Size: CH

Connector Part Information

  • OEM: 6098-4713
  • Service: 88988652
  • Description: 8-Way F (BK)

Terminal Part Information

  • Pins: 1, 2
  • Terminal/Tray: 8100-4445/22
  • Core/Insulation Crimp: 4/4
  • Release Tool/Test Probe: 15315247/J-35616-35 (VT)
  • Pins: 3, 4, 7, 8
  • Terminal/Tray: 8100-4444/22
  • Core/Insulation Crimp: 2/A
  • Release Tool/Test Probe: 15315247/J-35616-35 (VT)

Audio Amplifier - X1 (UQ3)

Pin

Wire

Circuit

Function

1

2.0 RD/WH

640

Battery Positive Voltage

2

2.0 BK/WH

751

Ground

3

0.8 D-BU/WH

346

Left Subwoofer Speaker Output (+)

4

0.8 L-GN/BK

1794

Left Subwoofer Speaker Output (-)

5-6

--

--

Not Used

7

0.8 L-BU/BK

315

Right Subwoofer Speaker Output (-)

8

0.8 D-GN

1795

Right Subwoofer Speaker Output (+)

Audio Amplifier - X2 (UQ3)


Object Number: 1566781  Size: CH

Connector Part Information

  • OEM: 6098-4611
  • Service: 15134091
  • Description: 16-Way F (BK)

Terminal Part Information

  • Pins: 1-8, 13-16
  • Terminal/Tray: 8240-0128/22
  • Core/Insulation Crimp: Pins 1-8 - C/A
  • Core/Insulation Crimp: Pins 13-16 - See Terminal Repair Kit
  • Release Tool/Test Probe: 15315247/J-35616-2A (GY)

Audio Amplifier - X2 (UQ3)

Pin

Wire

Circuit

Function

1

0.8 YE

1956

Left Tweeter Speaker Output (-)

2

0.8 TN

1856

Left Tweeter Speaker Output (+)

3

0.8 PU

1952

Right Tweeter Speaker Output (-)

4

0.8 L-GN

1852

Right Tweeter Speaker Output (+)

5

0.8 YE

116

Left Rear Speaker Signal Output (-)

6

0.8 BN

199

Left Rear Speaker Output (+)

7

0.8 L-BU

115

Right Rear Speaker Signal Output (-)

8

0.8 D-BU

46

Right Rear Speaker Output (+)

9-12

--

--

Not Used

13

1.0 L-GN

200

Right Front Speaker Output (+)

14

1.0 D-GN

117

Right Front Speaker Signal Output (-)

15

1.0 TN

201

Left Front Speaker Output (+)

16

1.0 GY

118

Left Front Speaker Signal Output (-)

Audio Amplifier - X3 (UQ3)


Object Number: 1566784  Size: CH

Connector Part Information

  • OEM: 7283-9076-30
  • Service: 15394150
  • Description: 16-Way F (BK)

Terminal Part Information

  • Pins: 1-4, 6, 9-12, 16
  • Terminal/Tray: 7116-4618-02/14
  • Core/Insulation Crimp: P/P
  • Release Tool/Test Probe: J-38125-215/J-35616-64B (L-BU)

Audio Amplifier - X3 (UQ3)

Pin

Wire

Circuit

Function

1

0.5 TN

511

Left Front Low Level Audio Signal (+)

2

0.5 D-GN

1947

Left Front Low Level Audio Signal (-)

3

0.5 BN

1999

Left Rear Low Level Audio Signal (-)

4

0.5 BN/WH

599

Left Rear Low Level Audio Signal

5

--

--

Not Used

6

0.35 PK

314

Radio On Signal

7-8

--

--

Not Used

9

0.5 L-GN

1948

Right Front Low Level Audio Signal (-)

10

0.5 L-GN/WH

512

Right Front Low Level Audio Signal (+)

11

0.5 D-BU

546

Right Rear Low Level Audio Signal (+)

12

0.5 TN

1946

Right Rear Low Level Audio Signal (-)

13-15

--

--

Not Used

16

0.35 L-GN

1011

Remote Radio Control Signal

Automatic Transmission Shift Lock Control Solenoid (M82)


Object Number: 280768  Size: CH

Connector Part Information

  • OEM: 12052832
  • Service: See Catalog
  • Description: 2-Way F Metri-Pack 150 Series (BK)

Terminal Part Information

  • Terminal: 12064971/5
  • Core/Insulation Crimp: E/C
  • Release Tool/Test Probe: 12094429/J-35616-2A (GY)

Automatic Transmission Shift Lock Control Solenoid (M82)

Pin

Wire

Circuit

Function

A

0.5 D-GN/WH

1932

Ignition Lock Cylinder Control Actuator Signal

B

0.35 BN

4

Accessory Voltage

Backup Lamp - Left (Solstice)


Object Number: 1593390  Size: CH

Connector Part Information

  • OEM: 15435155
  • Service: See Catalog
  • Description: 3-Way F (NA)

Terminal Part Information

  • Pins: A
  • Terminal/Tray: 7114-4102-08/9
  • Core/Insulation Crimp: 0.35 E/1
  • Release Tool/Test Probe:12094430/J-35616-3 (GY)
  • Pins: G
  • Terminal/Tray: Service w/Pigtail
  • Core/Insulation Crimp: N/A
  • Release Tool/Test Probe: N/A

Backup Lamp - Left (Solstice)

Pin

Wire

Circuit

Function

A

0.5 L-GN

24

Backup Lamp Supply Voltage

B

--

--

Not Used

G

0.5 BK

750

Ground

Backup Lamp - Right (Solstice)


Object Number: 1593390  Size: CH

Connector Part Information

  • OEM: 15435155
  • Service: See Catalog
  • Description: 3-Way F (NA)

Terminal Part Information

  • Pins: A
  • Terminal/Tray: 7114-4102-08/9
  • Core/Insulation Crimp: 0.35 E/1
  • Release Tool/Test Probe: 12094430/J-35616-3 (GY)
  • Pins: G
  • Terminal/Tray: Service w/Pigtail
  • Core/Insulation Crimp: N/A
  • Release Tool/Test Probe: N/A

Backup Lamp - Right (Solstice)

Pin

Wire

Circuit

Function

A

0.5 L-GN

24

Backup Lamp Supply Voltage

B

--

--

Not Used

G

0.5 BK

750

Ground

Backup Lamp (SKY)


Object Number: 523630  Size: CH

Connector Part Information

  • OEM: 15326801
  • Service: See Catalog
  • Description: 2-Way F GTISO Series (BK)

Terminal Part Information

  • Terminal/Tray: See Terminal Repair Kit
  • Core/Insulation Crimp: See Terminal Repair Kit
  • Release Tool/Test Probe: See Terminal Repair Kit

Backup Lamp (SKY)

Pin

Wire

Circuit

Function

A

0.5 L-GN

24

Backup Lamp Supply Voltage

B

0.5 BK

750

Ground

Backup Lamp Switch (MA5)


Object Number: 516604  Size: CH

Connector Part Information

  • OEM: 12103584
  • Service: 12085485
  • Description: 2-Way M Weather Pack (BK)

Terminal Part Information

  • Terminal/Tray: 12089040/3
  • Core/Insulation Crimp: See Terminal Repair Kit
  • Release Tool/Test Probe: 12014012-1/J-35616-9 (OG)

Backup Lamp Switch (MA5)

Pin

Wire

Circuit

Function

A

0.8 PK

539

Ignition 1 Voltage

B

0.8 L-GN

24

Backup Lamp Supply Voltage

Blower Motor


Object Number: 1658766  Size: CH

Connector Part Information

  • OEM: 7283-5590-40
  • Service: 88988702
  • Description: 2-Way F YESC/USCAR Class III Series (BK)

Terminal Part Information

  • Terminal/Tray: 7116-7122-02/10
  • Core/Insulation Crimp: A/B
  • Release Tool/Test Probe: 12094430/J-35616-42 (RD)

Blower Motor

Pin

Wire

Circuit

Function

1

3.0 OG

52

Blower Motor High Control

2

3.0 BN

141

Ignition 3 Voltage

Blower Motor High Speed Relay


Object Number: 281199  Size: CH

Connector Part Information

  • OEM: 12034003
  • Service: 88987189
  • Description: 5-Way F Special Metri-Pack 630 Conn (BK)

Terminal Part Information

  • Pins: 1, 2, 4
  • Terminal/Tray: 12084590/3
  • Core/Insulation Crimp: F/G
  • Release Tool/Test Probe: 12094430/J-35616-42 (RD)
  • Pins: 5
  • Terminal/Tray: 12015869/3
  • Core/Insulation Crimp: E/A
  • Release Tool/Test Probe: 12094430/J-35616-42 (RD)

Blower Motor High Speed Relay

Pin

Wire

Circuit

Function

1

3.0 BK

2050

Ground

2

3.0 BN

141

Ignition 3 Voltage

3

--

--

Not Used

4

3.0 OG

52

Blower Motor High Control

5

3.0 OG

52

Blower Motor High Control

Blower Motor Resistor


Object Number: 62451  Size: CH

Connector Part Information

  • OEM: 12059296
  • Service: 12059296
  • Description: 5-Way F Metri-Pack 480 Series (RD)

Terminal Part Information

  • Pins: A, E
  • Terminal/Tray: 12084595/2
  • Core/Insulation Crimp: F/G
  • Release Tool/Test Probe: 12094430/J-35616-40 (BU)
  • Pins: B, C, D
  • Terminal/Tray: 12124304/2
  • Core/Insulation Crimp: A/B
  • Release Tool/Test Probe: 12094430/J-35616-40 (BU)

Blower Motor Resistor

Pin

Wire

Circuit

Function

A

3.0 OG

52

Blower Motor High Control

B

2.0 YE

60

Blower Motor Low Control

C

2.0 TN

63

Blower Motor Medium 1 Control

D

2.0 L-BU

72

Medium 2 Blower Motor Control

E

3.0 OG

52

Blower Motor High Control

Body Control Module (BCM) X1


Object Number: 1376257  Size: CH

Connector Part Information

  • OEM: 15393122
  • Service: 88987847
  • Description: 72-Way F Micro-64 Unsealed (BU with GY case)

Terminal Part Information

  • Pins: 8, 13-17, 19, 22, 26, 31, 35, 44, 47, 51, 53-57, 60-61
  • Terminal/Tray: 15359541/4
  • Core/Insulation Crimp: M/M
  • Release Tool/Test Probe: 15381651-2/J-35616-64B (L-BU)
  • Pins: 33, 58
  • Terminal/Tray: See Terminal Repair Kit
  • Core/Insulation Crimp: See Terminal Repair Kit
  • Release Tool/Test Probe: See Terminal Repair Kit

Body Control Module (BCM) X1

Pin

Wire

Circuit

Function

1-5

--

--

Not Used

6

0.35 WH

682

Door Lock/Unlock Signal (AU3)

7

0.35 WH

682

Door Lock/Unlock Signal (AU3)

8

0.35 WH

1080

Park Lamp Relay Control

9-12

--

--

Not Used

13

0.35 PK

849

Brake Fluid Level Sensor Signal

14

0.5 L-BU

1134

Park Brake Switch Signal

15

0.35 YE

5199

Run/Crank Relay Coil Control

16

0.35 WH

193

Rear Defog Relay Control

17

0.5 D-BU

15

Right Turn Signal Lamps Supply Voltage

18

--

--

Not Used

19

0.35 PK/WH

746

Right Front Door Ajar Switch Signal

20-21

--

--

Not Used

22

0.35 GY/BK

745

Left Front Door Ajar Switch Signal

23-25

--

--

Not Used

26

0.5 L-GN

1478

Coolant Level Switch Signal

27-30

--

--

Not Used

31

0.35 L-BU

20

Stop Lamp Supply Voltage

32

--

--

Not Used

33

0.35 D-GN/WH

1135

A/T Shift Lock Control Solenoid Supply Voltage (M82)

34

--

--

Not Used

35

0.5 L-BU

14

Left Turn Signal Lamps Supply Voltage

36-39

--

--

Not Used

40

0.35 L-BU

1788

Traction Control Switch Signal (JL9)

41-43

--

--

Not Used

44

0.35 TN/WH

1969

Headlamp High Beam Relay Control

45-46

--

--

Not Used

47

0.35 YE

196

Windshield Wiper Motor Park Switch Signal

48-50

--

--

Not Used

51

0.35 D-GN

113

Windshield Wiper Motor Relay Coil Supply Voltage

52

--

--

Not Used

53

0.5 L-BU

20

Stop Lamp Supply Voltage

54

0.35 YE

317

Fog Lamp Relay Control (T96)

55

0.35 OG/BK

744

Rear Compartment Lid Ajar Switch Signal

56

0.5 OG/BK

737

Rear Compartment Lamp Control

57

0.35 BN

253

Trunk Release Relay Control

58

0.35 D-BU

38

Backup Lamp Relay Control (M82)

59

--

--

Not Used

60

0.35 TN

28

Horn Relay Control

61

0.5 BK/WH

651

Ground

62-66

--

--

Not Used

67

0.5 YE

61

Low Reference (SKY)

68-69

--

--

Not Used

70

0.5 D-GN/WH

636

Ambient Air Temperature Sensor Signal (SKY)

71

0.35 L-GN/BK

592

Daytime Running Lights Relay Control

72

--

--

Not Used

Body Control Module (BCM) X2


Object Number: 1376254  Size: CH

Connector Part Information

  • OEM: 15393121
  • Service: 88987848
  • Description: 72-Way F Micro-64 Unsealed (GY)

Terminal Part Information

  • Pins: 1-5, 9-11, 14-20, 26, 31, 33, 38, 44, 47, 51, 56-59, 61-62, 66-69, 71-72
  • Terminal/Tray: 15359541/4
  • Core/Insulation Crimp: M/M
  • Release Tool/Test Probe: 15381651-2/J-35616-64B (L-BU)

Body Control Module (BCM) X2

Pin

Wire

Circuit

Function

1

0.5 TN/BK

2500

High Speed GMLAN Serial Data Bus (+)

2

0.5 TN/BK

2500

High Speed GMLAN Serial Data Bus (+)

3

0.35 YE

10

Headlamp Relay Control (Solstice)

0.35 PK/WH

1970

Headlamp Relay Control (SKY)

4

0.35 PU

524

Headlamp Dimmer Switch High Beam Signal

5

0.35 BN/WH

301

Park Lamp Switch On Signal

6-8

--

--

Not Used

9

0.35 WH

111

Hazard Warning Switch Signal

10

0.35 TN

1576

Rear Compartment Lock Actuator Unlock

11

0.35 D-GN

264

Security Indicator Supply Voltage

12-13

--

--

Not Used

14

0.35 TN

28

Horn Relay Control

15

0.35 WH

103

Headlamp Switch Headlamps On Signal

16

0.35 OG

192

Front Fog Lamp Switch Signal (T96)

17

0.35 PU/WH

549

Headlamp Switch Headlamps Off Signal

18

0.35 GY

5359

5-Volt Reference

19

0.5 TN

2501

High Speed GMLAN Serial Data Bus (-)

20

0.5 TN

2501

High Speed GMLAN Serial Data Bus (-)

21-25

--

--

Not Used

26

0.35 D-GN

44

I/P Dimmer Switch Lamp Signal

27-30

--

--

Not Used

31

0.35 YE

5361

Brake Pedal Position Sensor Signal

32

--

--

Not Used

33

0.35 YE

317

Fog Lamp Relay Control (T96)

34-37

--

--

Not Used

38

0.35 L-GN/BK

5060

Low Speed GMLAN Serial Data

39-43

--

--

Not Used

44

0.35 L-GN/BK

1137

Daytime Running Lamps Ambient Light Sensor Signal

45-46

--

--

Not Used

47

0.35 YE/BK

1138

Low Reference

48-50

--

--

Not Used

51

0.35 BN

1356

Flash To Pass Switch Signal

52-55

--

--

Not Used

56

0.35 WH

1390

Off/Run/Crank Voltage

57

0.35 GY

112

Windshield Wiper Switch Low/Pulse Signal

58

0.35 PU

719

Low Reference

59

0.35 BN

5360

Low Reference

60

--

--

Not Used

61

0.35 GY

1884

Cruise Control Switch Signal (K34)

62

0.35 WH/BK

1073

Ignition Key Resistor Signal

63-65

--

--

Not Used

66

0.35 YE/BK

1418

Left Rear Turn Signal Switch Signal

67

0.35 D-GN/WH

1419

Right Rear Turn Signal Switch Signal

68

0.35 L-BU

292

Rear Window Defogger Grid Switch Signal

69

0.35 D-GN/WH

762

A/C Request Signal (C60)

70

--

--

Not Used

71

0.35 PU

5234

Passenger Seat Belt Indicator

72

0.35 WH

193

Rear Window Defogger Grid Relay Control

Body Control Module (BCM) X3


Object Number: 1814460  Size: CH

Connector Part Information

  • OEM: 15492675
  • Service: See Catalog
  • Description: 41-Way F Metri-Pack 280 800 Series (RD)

Terminal Part Information

  • Pins: A1, A3, A4, A5, A7, A8, A9, A10, A12, B1, D4, B3, B5, C12, D7
  • Terminal/Tray: 12110844/4
  • Core/Insulation Crimp: Pins A1, A3, A4, A5, A7, A9, A10, A12, B1, B12, D4 - E/A
  • Core/Insulation Crimp: Pins B3, B5, C12, D7 - E/C
  • Release Tool/Test Probe: 15315247/J-35616-4A (PU)
  • Pins: C5, D1, D5, D6, D10, D12, D11
  • Terminal/Tray: 12110842/4
  • Core/Insulation Crimp: Pins C5, D1, D5, D6, D10, D12 - F/G
  • Core/Insulation Crimp: Pins D11 - A/B
  • Release Tool/Test Probe: 15315247/J-35616-4A (PU)

Body Control Module (BCM) X3

Pin

Wire

Circuit

Function

A1

0.5 TN

294

Door Lock Actuator Unlock Control (AU3)

A2

--

--

Not Used

A3

0.5 D-BU/WH

149

Courtesy Lamp Supply Voltage

A4

0.5 GY

295

Door Lock Actuator Lock Control (AU3)

A5

0.5 GY

295

Door Lock Actuator Lock Control (AU3)

A6

--

--

Not Used

A7

0.5 BN

9

Park Lamp Supply Voltage

A8

0.5 PK

339

Ignition 1 Voltage

A9

0.8 YE

18

Left Rear Stop/Turn Lamp Supply Voltage

A10

0.5 GY

157

Courtesy Lamp Control

A11

--

--

Not Used

A12

0.8 D-GN

19

Right Rear Stop/Turn Lamp Supply Voltage

B1

0.5 TN

694

Driver Door Lock Actuator Unlock Control (AU3)

B2

--

--

Not Used

B3

0.35 RD/WH

1240

Battery Positive Voltage

B4

--

--

Not Used

B5

0.35 BN

4

Accessory Voltage

B6-B7

--

--

Not Available

B8-B11

--

--

Not Used

B12

0.35 GY

8

Instrument Panel Lamp Supply Voltage

C1-C2

--

--

Not Available

C3-C4

--

--

Not Used

C5

3.0 D-GN

801

Retained Accessory Power Fuse Supply Voltage

C6-C7

--

--

Not Available

C8-C11

--

--

Not Used

C12

0.35 OG

228

Windshield Washer Pump Control

D1

5.0 RD/BK

142

Battery Positive Voltage

D2-D3

--

--

Not Used

D4

0.5 RD/WH

840

Battery Positive Voltage

D5

3.0 D-GN

801

Retained Accessory Power Fuse Supply Voltage (AU3)

D6

3.0 PK

739

Ignition 1 Voltage

D7

0.35 PK

1339

Ignition 1 Voltage

D8-D9

--

--

Not Used

D10

3.0 RD/BK

442

Battery Positive Voltage

D11

2.0 RD/WH

640

Battery Positive Voltage (UQ3)

D12

3.0 RD/BK

242

Battery Positive Voltage

Body Control Module (BCM) X4


Object Number: 697044  Size: CH

Connector Part Information

  • OEM: 15492668
  • Service: 88988776
  • Description: 68-Way F Metri-Pack 280 Series, Flexlock (L-GY)

Terminal Part Information

  • Pins: F2, F4, F5, F6, F6
  • Terminal/Tray: 12110844/4
  • Core/Insulation Crimp: E/A
  • Release Tool/Test Probe: 15315247/J-35616-4A (PU)
  • Pins: B1, C1, C8, C11, C12, D1, D3, E6, F1, F9, D10, D10
  • Terminal/Tray: 12110844/4
  • Core/Insulation Crimp: Pins B1, C1, C8, C11, C12, D1, D3, E6, F1, F9 - E/C
  • Core/Insulation Crimp: Pins D10 - See Terminal Repair Kit
  • Release Tool/Test Probe: 15315247/J-35616-4A (PU)
  • Pins: D4, E12
  • Terminal/Tray: 12110842/4
  • Core/Insulation Crimp: Pins D4 - F/G
  • Core/Insulation Crimp: Pins E12 - A/B
  • Release Tool/Test Probe: 15315247/J-35616-4A (PU)

Body Control Module (BCM) X4

Pin

Wire

Circuit

Function

A1-A12

--

--

Not Used

B1

0.35 OG

228

Windshield Washer Pump Control

B2-B12

--

--

Not Used

C1

0.35 RD/WH

1440

Battery Positive Voltage

C2-C5

--

--

Not Used

C6-C7

--

--

Not Available

C8

0.35 BN

4

Accessory Voltage

C9-C10

--

--

Not Used

C11

0.35 GY

8

Instrument Panel Lamp Supply Voltage

C12

0.35 GY/BK

1458

Instrument Panel Lamp Supply Voltage (4)

D1

0.35 RD/WH

1040

Battery Positive Voltage

D2

--

--

Not Used

D3

0.35 YE

5199

Run/Crank Relay Coil Control

D4

3.0 BN

141

Ignition 3 Voltage

D5

--

--

Not Used

D6-D7

--

--

Not Available

D8-D9

--

--

Not Used

D10

0.8 RD/WH

1140

Battery Positive Voltage

D11-D12

--

--

Not Used

E1-E5

--

--

Not Used

E6

0.35 PK

439

Ignition 1 Voltage

E7-E11

--

--

Not Used

E12

2.0 BK

550

Ground

F1

0.35 RD/WH

1540

Battery Positive Voltage

F2

0.5 GY

8

Instrument Panel Lamp Supply Voltage

F3

--

--

Not Used

F4

0.5 PK

339

Ignition 1 Voltage

F5

0.35 PK

339

Ignition 1 Voltage

F6

0.5 PK

339

Ignition 1 Voltage

F7-F8

--

--

Not Used

F9

0.35 PK

1539

Ignition 1 Voltage

F10-F12

--

--

Not Used

Brake Booster Pump Motor (Late Production LNF)


Object Number: 1826248  Size: CH

Connector Part Information

  • OEM: 7282-5575-10
  • Service: See Catalog
  • Description: 2-Way M 2.8 Series (D-GY)

Terminal Part Information

  • Terminal/Tray: See Terminal Repair Kit
  • Core/Insulation Crimp: See Terminal Repair Kit
  • Release Tool/Test Probe: See Terminal Repair Kit

Brake Booster Pump Motor (Late Production LNF)

Pin

Wire Color

Circuit No.

Function

1

0.5OG

1470

Brake Booster Pump Motor Supply Voltage

2

0.5 BK/WH

1250

Ground

Brake Booster Vacuum Sensor (LNF)


Object Number: 1331443  Size: CH

Connector Part Information

  • OEM: 1 928 403 966
  • Service: See Catalog
  • Description: 3-Way F Kompakt 2.8 Series, Sealed (BK)

Terminal Part Information

  • Terminal/Tray: See Terminal Repair Kit
  • Core/Insulation Crimp: See Terminal Repair Kit
  • Release Tool/Test Probe: See Terminal Repair Kit

Brake Booster Vacuum Sensor (LNF)

Pin

Wire

Circuit

Function

1

0.5 L-GN

6257

Brake Booster Vacuum Sensor Supply Voltage (Early Production)

0.5 L-GN

6031

5-Volt Reference (Late Production)

2

0.5 L-GN/BK

6258

Brake Booster Vacuum Sensor Ground (Early Production)

0.5 YE/BK

6032

Low Reference (Late Production)

3

0.5 D-BU

1809

Brake Booster Vacuum Sensor Signal (Early Production)

0.5 OG

6030

Brake Booster Vacuum Sensor Signal (Late Production)

Brake Fluid Level Switch


Object Number: 635009  Size: CH

Connector Part Information

  • OEM: 12052641
  • Service: 12102747
  • Description: 2-Way F Metri-Pack 150 Series (BK)

Terminal Part Information

  • Terminal/Tray: 12048074/2
  • Core/Insulation Crimp: E/1
  • Release Tool/Test Probe: 12094429/J-35616-2A (GY)

Brake Fluid Level Switch

Pin

Wire

Circuit

Function

A

0.5 PK

849

Brake Fluid Level Sensor Signal

B

0.5 BK/WH

451

Ground

Brake Pedal Position (BPP) Sensor


Object Number: 1243663  Size: CH

Connector Part Information

  • OEM: 15332132
  • Service: 88953364
  • Description: 3-Way F GT 150 Series (BK)

Terminal Part Information

  • Terminal/Tray: 12191812/19
  • Core/Insulation Crimp: E/C
  • Release Tool/Test Probe: 15315247/J-35616-2A (GY)

Brake Pedal Position (BPP) Sensor

Pin

Wire

Circuit

Function

A

0.35 WH

5359

5-Volt Reference

B

0.35 YE

5361

Brake Pedal Position Sensor Signal

C

0.35 BN

5360

Low Reference

Camshaft Position (CMP) Actuator Solenoid Valve - Exhaust


Object Number: 646406  Size: CH

Connector Part Information

  • OEM: 15336004
  • Service: 15306187
  • Description: 2-Way F GT 150 Series Sealed (BK)

Terminal Part Information

  • Terminal/Tray: 15326267/19
  • Core/Insulation Crimp: E/4
  • Release Tool/Test Probe: 15315247/J-35616-2A (GY)

Camshaft Position (CMP) Actuator Solenoid Valve - Exhaust

Pin

Wire

Circuit

Function

A

0.5 L-GN

5282

Low Reference (LE5)

0.5 PK/BK

5293

Powertrain Main Relay Fused Supply (LNF)

B

0.5 BN/WH

6754

Camshaft Phaser Exhaust Solenoid Control (LE5)

0.5 L-GN

5282

Camshaft Phaser Exhaust Solenoid Control (LNF)

Camshaft Position (CMP) Actuator Solenoid Valve - Intake


Object Number: 646403  Size: CH

Connector Part Information

  • OEM: 15335987
  • Service: 15306430
  • Description: 2-Way F GT 150 Series Sealed (BK)

Terminal Part Information

  • Terminal/Tray: 15326267/19
  • Core/Insulation Crimp: E/4
  • Release Tool/Test Probe: 15315247/J-35616-2A (GY)

Camshaft Position (CMP) Actuator Solenoid Valve - Intake

Pin

Wire

Circuit

Function

A

0.5 PK/BK

5293

Powertrain Main Relay Fused Supply (LNF)

0.5 PU

5284

Camshaft Phaser Intake Solenoid Control (LE5)

B

0.5 BN

6753

Low Reference (LE5)

0.5 PU

5284

Camshaft Phaser Intake Solenoid Control (LNF)

Camshaft Position (CMP) Sensor - Exhaust


Object Number: 646415  Size: CH

Connector Part Information

  • OEM: 13519047
  • Service: See Catalog
  • Description: 3-Way F GT 150 Series Sealed (BK)

Terminal Part Information

  • Terminal/Tray: 12191819/8
  • Core/Insulation Crimp: E/A
  • Release Tool/Test Probe: 15315247/J-35616-2A (GY)

Camshaft Position (CMP) Sensor - Exhaust

Pin

Wire

Circuit

Function

A

0.5 GY

705

5-Volt Reference 2 (LNF)

0.35 YE/BK

5297

Camshaft Position Exhaust Sensor Supply Voltage (LE5)

B

0.5 TN

552

Low Reference (LNF)

035 GY

5296

Low Reference (LE5)

C

0.35 D-GN

5273

Camshaft Position Exhaust Sensor Signal 1

Camshaft Position (CMP) Sensor - Intake


Object Number: 646415  Size: CH

Connector Part Information

  • OEM: 13519047
  • Service: See Catalog
  • Description: 3-Way F GT 150 Series Sealed (BK)

Terminal Part Information

  • Terminal/Tray: 12191819/8
  • Core/Insulation Crimp: E/A
  • Release Tool/Test Probe: 15315247/J-35616-2A (GY)

Camshaft Position (CMP) Sensor - Intake

Pin

Wire

Circuit

Function

A

0.5 GY

705

5-Volt Reference 2 (LNF)

0.35 D-BU

5300

Camshaft Position Intake Sensor Supply Voltage (LE5)

B

0.5 TN

552

Low Reference (LNF)

0.35 TN

5301

Low Reference (LE5)

C

0.5 OG

5275

Camshaft Position Intake Sensor Signal

Cellular Telephone Microphone (UE1)


Object Number: 35441  Size: CH

Connector Part Information

  • OEM: 15496024
  • Service: 12085481
  • Description: 2-Way M Metri-Pack 150 (BK)

Terminal Part Information

  • Terminal/Tray: 12047581/2
  • Core/Insulation Crimp: E/C
  • Release Tool/Test Probe: 12094429/J-35616-3 (GY)

Cellular Telephone Microphone (UE1)

Pin

Wire

Circuit

Function

A

0.35

1489

Drain Wire

B

0.35

655

Cellular Telephone Microphone Signal

Center High Mounted Stop Lamp (CHMSL)


Object Number: 1520357  Size: CH

Connector Part Information

  • OEM: 15449029
  • Service: 88987993
  • Description: 2-Way F GT 150 Series, Sealed (GY)

Terminal Part Information

  • Terminal/Tray: 12191819/8
  • Core/Insulation Crimp: E/A
  • Release Tool/Test Probe: 15315247/J-35616-2A (GY)

Center High Mounted Stop Lamp (CHMSL)

Pin

Wire

Circuit

Function

A

0.5 L-BU

20

Stop Lamp Supply Voltage

B

0.5 BK

750

Ground

Clutch Pedal Position (CPP) Sensor (MA5)


Object Number: 1243663  Size: CH

Connector Part Information

  • OEM: 15332132
  • Service: See Catalog
  • Description: 3-Way F GT 150 Series (BK)

Terminal Part Information

  • Terminal/Tray: See Terminal Repair Kit
  • Core/Insulation Crimp: See Terminal Repair Kit
  • Release Tool/Test Probe: See Terminal Repair Kit

Clutch Pedal Position (CPP) Sensor (MA5)

Pin

Wire

Circuit

Function

A

0.35 D-BU/WH

7361

Manual Transmission Clutch Position Sensor Supply

B

0.35 L-GN

6338

Manual Transmission Clutch Position Sensor Signal Position

C

0.35 OG/D-GN

7360

Manual Transmission Clutch Position Sensor Return

Crankshaft Position (CKP) Sensor


Object Number: 1664596  Size: CH

Connector Part Information

  • OEM: 31403-3710
  • Service: See Catalog
  • Description: 3-Way F MX64 Series, Sealed (BK)

Terminal Part Information

  • Terminal/Tray: 33467-0003/23
  • Core/Insulation Crimp: H/H
  • Release Tool/Test Probe: J-38125-213/J-35616-64B (L-BU)

Crankshaft Position (CKP) Sensor

Pin

Wire

Circuit

Function

1

03.5 GY

605

5-Volt Reference

2

0.35 TN

452

Low Reference

3

0.35 YE

573

Crankshaft Position Sensor Signal 1

Data Link Connector (DLC)


Object Number: 68793  Size: CH

Connector Part Information

  • OEM: 12110250
  • Service: Not Serviced
  • Description: 16-Way F Metri-Pack 150 Series (BK)

Terminal Part Information

  • Pins: 1, 4-6, 14, 16
  • Terminal/Tray: 12129484/19
  • Core/Insulation Crimp: E/C
  • Release Tool/Test Probe: 12094429/J-35616-2A (GY)

Data Link Connector (DLC)

Pin

Wire

Circuit

Function

1

0.35 D-GN

5060

Low Speed GMLAN Serial Data

2-3

--

--

Not Used

4

0.5 BK

550

Ground

5

0.5 BK/WH

651

Ground

6

0.5 TN/BK

2500

High Speed GMLAN Serial Data Bus (+)

7-13

--

--

Not Used

14

0.5 TN

2501

High Speed GMLAN Serial Data Bus (-)

15

--

--

Not Used

16

0.5 RD/WH

40

Battery Positive Voltage

Data Link Resistor


Object Number: 523630  Size: CH

Connector Part Information

  • OEM: 13510085
  • Service: 15306156
  • Description: 2-Way F GT 150 Series (BK)

Terminal Part Information

  • Terminal/Tray: 12191819/8
  • Core/Insulation Crimp: E/A
  • Release Tool/Test Probe: 15315247/J-35616-2A (GY)

Data Link Resistor

Pin

Wire

Circuit

Function

A

0.5 TN/BK

2500

High Speed GMLAN Serial Data Bus (+)

B

0.5 TN

2501

High Speed GMLAN Serial Data Bus (-)

Digital Radio Receiver (U2K)


Object Number: 1653409  Size: CH

Connector Part Information

  • OEM: 7283-9076-30
  • Service: 15136073
  • Description: 16-Way F Kaizen 0.64 Series (BK)

Terminal Part Information

  • Pins: 2, 3, 5, 9-11, 16
  • Terminal/Tray: 7116-4618-02/14
  • Core/Insulation Crimp: P/P
  • Release Tool/Test Probe: J-38125-215/J-35616-64B (L-BU)

Digital Radio Receiver (U2K)

Pin

Wire

Circuit

Function

1

--

--

Not Used

2

0.5 BN/WH

367

Left Audio Signal (+)

3

0.5 D-GN/WH

368

Right Audio Signal (+)

4

--

--

Not Used

5

0.35 D-GN

5060

Low Speed GMLAN Serial Data

6-8

--

--

Not Used

9

0.5 BK/WH

551

Ground

10

0.5 TN/WH

372

Audio Common

11

0.35 BK

814

Drain

12-15

--

--

Not Used

16

0.5 RD/WH

1340

Battery Positive Voltage

Door Lock Actuator - Driver (AU3)


Object Number: 812596  Size: CH

Connector Part Information

  • OEM: 6-1355683-1
  • Service: See Catalog
  • Description: 6-Way F Series Sealed (BK)

Terminal Part Information

  • Pins: 2-4, 6
  • Terminal/Tray: 4-969005-1/16
  • Core/Insulation Crimp: E/1
  • Release Tool/Test Probe: J-38125-560/J-35616-33 (YE)

Door Lock Actuator - Driver (AU3)

Pin

Wire

Circuit

Function

1

--

--

Not Used

2

0.5 TN

694

Driver Door Lock Actuator Unlock Control

3

0.5 GY

295

Door Lock Actuator Lock Control

4

0.35 GY/BK

745

Left Front Door Ajar Switch Signal

5

--

--

Not Used

6

0.35 BK

550

Ground

Door Lock Actuator - Passenger (AU3)


Object Number: 812596  Size: CH

Connector Part Information

  • OEM: 6-1355683-1
  • Service: See Catalog
  • Description: 6-Way F Series Sealed (BK)

Terminal Part Information

  • Pins: 1, 3, 5, 6
  • Terminal/Tray: 964274-2/16
  • Core/Insulation Crimp: E/1
  • Release Tool/Test Probe: J-38125-560/J-35616-33 (YE)

Door Lock Actuator - Passenger (AU3)

Pin

Wire

Circuit

Function

1

0.35 TN/WH

746

Right Front Door Ajar Switch Signal

2

--

--

Not Used

3

0.35 BK

550

Ground

4

--

--

Not Used

5

0.5 TN

294

Door Lock Actuator Unlock Control

6

0.5 GY

295

Door Lock Actuator Lock Control

Door Lock Switch - Driver (AU3)


Object Number: 1376712  Size: CH

Connector Part Information

  • OEM: 15417063
  • Service: 88987857
  • Description: 3-Way F Micro-Pack 064 Series, (BK)

Terminal Part Information

  • Pins: A, B
  • Terminal/Tray: 12110844/4
  • Core/Insulation Crimp: Pins: E/C
  • Core/Insulation Crimp: Pins: E/A
  • Release Tool/Test Probe: 15315247/J-35616-4A (PU)

Door Lock Switch - Driver (AU3)

Pin

Wire

Circuit

Function

A

0.5 BK

550

Ground

B

0.35 GY

8

Instrument Lamp Supply Voltage

C

0.5 WH

682

Door Lock/Unlock Signal

Door Lock Switch - Passenger (AU3)


Object Number: 1376712  Size: CH

Connector Part Information

  • OEM: 15417063
  • Service: 88987857
  • Description: 3-Way F Micro-Pack 064 Series, (BK)

Terminal Part Information

  • Pins: A, B
  • Terminal/Tray: 12110844/4
  • Core/Insulation Crimp: Pins: E/C
  • Core/Insulation Crimp: Pins: E/A
  • Release Tool/Test Probe: 15315247/J-35616-4A (PU)

Door Lock Switch - Passenger (AU3)

Pin

Wire

Circuit

Function

A

0.5 BK

550

Ground

B

0.35 GY

8

Instrument Lamp Supply Voltage

C

0.5 WH

682

Door Lock/Unlock Signal

Electronic Brake Control Module (EBCM) (JL9)


Object Number: 1830966  Size: CH

Connector Part Information

  • OEM: 1355628
  • Service: 19115598
  • Description: 47-Way F MK25/60 Series (BK)

Terminal Part Information

  • Pins: 1, 16
  • Terminal/Tray: 7114-4142-02/10
  • Core/Insulation Crimp: A/3
  • Release Tool/Test Probe: 12094430/J-35616-43 (RD)
  • Pins: 2-15, 17-31, 33-47
  • Terminal/Tray: 638551-3
  • Core/Insulation Crimp: See Terminal Repair
  • Release Tool/Test Probe: See Terminal Repair Kit
  • Pins: 32
  • Terminal/Tray: 7114-4141-02
  • Core/Insulation Crimp: See Terminal Repair
  • Release Tool/Test Probe: See Terminal Repair Kit

Electronic Brake Control Module (EBCM) (JL9)

Pin

Wire

Circuit

Function

1

2.0 RD/BK

542

Low Reference

2-7

--

--

Not Used

8

0.5 PK

1439

Ignition 1 Voltage

9-10

--

--

Not Used

11

0.5 TN/BK

2500

High Speed Serial Data Bus (+)

12

0.5 TN/BK

2500

High Speed Serial Data Bus (+)

13

0.5 TN

2501

High Speed Serial Data Bus (-)

14

0.5 TN

2501

High Speed Serial Data Bus (-)

15

--

--

Not Used

16

3.0 BK

350

Ground

17

--

--

Not Used

18

0.5 PK/BK

6434

Can Bus High Serial Data

19

0.5 GY/BK

6435

Can Bus Low Serial Data

20-21

--

--

Not Used

22

0.5 D-GN

2087

12-Volt Reference

23-25

--

--

Not Used

26

0.5 L-GN

6257

Brake Booster Vacuum Sensor Supply Voltage (Early Production LNF)

27

0.5 L-GN/BK

6258

Brake Booster Vacuum Sensor Ground (Early Production LNF)

28

--

--

Not Used

29

0.5 L-BU

2088

Low Reference

30-31

--

--

Not Used

32

2.0 RD/WH

540

Battery Positive Voltage

33

0.5 TN

833

Low Reference

34

0.5 D-GN

872

Right Front Wheel Speed Sensor Signal

35

--

--

Not Used

36

0.5 TN

884

Left Rear Wheel Speed Sensor Signal

37

0.5 OG

885

Low Reference

38-40

--

--

Not Used

41

0.5 D-BU

1809

Brake Booster Vacuum Sensor Signal (Early Production LNF)

42

0.5 WH

883

Low Reference

43

0.5 BN

882

Right Rear Wheel Speed Sensor Signal

44

--

--

Not Used

45

0.5 L-BU

830

Left Front Wheel Speed Sensor Signal

46

0.5 YE

873

Low Reference

47

--

--

Not Used

Engine Control Module (ECM) - X1 (LE5)


Object Number: 1673472  Size: CH

Connector Part Information

  • OEM: 34566-0103
  • Service: See Catalog
  • Description: 73-Way F MX123 34566 Series (BK)

Terminal Part Information

  • Pins: 6, 9, 15, 19, 20, 34, 39, 42, 44, 54, 66, 70
  • Terminal/Tray: 33467-0005/23
  • Core/Insulation Crimp: J/J
  • Release Tool/Test Probe: J38125-213/J-35616-64B (L-BU)
  • Pins: 1, 3, 5, 8,11, 13, 18, 21, 25, 27, 30, 32, 37, 41, 45, 47, 49, 55, 57, 58, 61, 65, 67
  • Terminal/Tray: 33467-0003/23
  • Core/Insulation Crimp: H/H
  • Release Tool/Test Probe: J38125-213/J-35616-64B (L-BU)
  • Pins: 73
  • Terminal/Tray: 7116-4152-02/9
  • Core/Insulation Crimp: 2/5
  • Release Tool/Test Probe: 12094430/J-35616-35 (VT)

Engine Control Module (ECM) - X1 (LE5)

Pin

Wire

Circuit

Function

1

0.35 D-BU

1161

Adjustable Accelerator Pedal Position Sensor 1 Signal

2

--

--

Not Used

3

0.35 BN

4

Accessory Voltage

4

--

--

Not Used

5

0.35 D-GN

335

Low Speed Cooling Fan Relay Control

6

0.5 D-GN/WH

465

Fuel Pump Relay Control

7

--

--

Not Used

8

0.35 TN

5514

Low Reference (C60)

9

0.5 TN/WH

3121

Heated Oxygen Sensor Low Signal - Sensor 2

10

--

--

Not Used

11

0.35 OG/D-GN

7360

Manual Transmission Clutch Position Sensor Return (MA5)

12

--

--

Not Used

13

0.35 YE

5991

Powertrain Relay Coil Control

14

--

--

Not Used

15

0.5 GY/WH

3122

Heated Oxygen Sensor Heater Low Control - Sensor 2

16

--

--

Not Used

17

0.5 PU

3120

Heated Oxygen Sensor High Signal Sensor 2

18

0.35 L-BU

1162

Adjustable Accelerator Pedal Position Sensor 2 Signal

19

0.5 PK

1039

Ignition 1 Voltage

20

0.5 RD/WH

840

Battery Positive Voltage

21

0.35 PU

1272

Low Reference

22-23

--

--

Not Used

24

0.5 TN

2759

Low Reference

25

0.35 OG/BK

380

A/C Refrigerant Pressure Sensor Signal (C60)

26

--

--

Not Used

27

0.35 BR/WH

419

MIL Control

28-29

--

--

Not Used

30

0.35 D-GN/WH

459

A/C Compressor Clutch Relay Control (C60)

31

--

--

Not Used

32

0.35 PU/WH

6386

Starter Enable Relay Control

33

--

--

Not Used

34

0.5 PU

401

Low Reference (MA5)

35-36

--

--

Not Used

37

0.35 YE

492

Mass Air Flow Sensor Signal

38

--

--

Not Used

39

0.5 PU

1589

Fuel Level Sensor Signal

40

--

--

Not Used

41

0.35 BN

1271

Low Reference

42

0.5 D-GN

890

Fuel Tank Pressure Sensor Signal

43

0.5 TN/BK

2500

High Speed GMLAN Serial Data (+)

44

0.5 TN

2501

High Speed GMLAN Serial Data (-)

45

0.35 D-BU/WH

7361

Manual Transmission Clutch Position Sensor Supply (MA5)

46

--

--

Not Used

47

0.35 WH/BK

1164

5-Volt Reference 2

48

--

--

Not Used

49

0.35 D-BU

473

High Speed Cooling Fan Control

50-53

--

--

Not Used

54

0.5 YE

400

Vehicle Speed Sensor High Signal (MA5)

55

0.35 L-BU

20

Stop Lamp Supply Voltage

56

--

--

Not Used

57

0.35 OG/BK

1786

Transmission Park/Neutral Signal (M82)

58

0.35 L-BU

6289

Induction Air Temperature Sensor Signal

59-60

--

--

Not Used

61

0.35 L-GN

6338

Manual Transmission Clutch Position Sensor Signal Position (MA5)

62-64

--

--

Not Used

65

0.35 GY

2700

5-Volt Reference 1 (C60)

66

0.5 GY

2709

5-Volt Reference 1

67

0.35 TN

1274

5-Volt Reference 1

68-69

--

--

Not Used

70

0.5 WH

1310

Evaporative Emission Canister Vent Solenoid Control

71-72

--

--

Not Used

73

0.8 PK/BK

5290

Ignition 1 Voltage

Engine Control Module (ECM) - X2 (LE5)


Object Number: 1590596  Size: CH

Connector Part Information

  • OEM: 34566-0203
  • Service: See Catalog
  • Description: 73-Way F MX123 34566 Series (BK)

Terminal Part Information

  • Pins: 9,13, 20-24, 26, 30, 31, 33, 34, 39, 42, 43, 47, 49
  • Terminal/Tray: 33467-0003/23
  • Core/Insulation Crimp: H/H
  • Release Tool/Test Probe: J-38125-213/J-35616-64B (L-BU)
  • Pins: 4-8, 10, 14-16, 32, 37, 40, 45-46, 48, 50, 51, 53-54, 57-61, 65, 67
  • Terminal/Tray: 33467-0005/23
  • Core/Insulation Crimp: J/J
  • Release Tool/Test Probe: J-38125-213/J-35616-64B (L-BU)
  • Pins: 73
  • Terminal/Tray: See Terminal Repair Kit
  • Core/Insulation Crimp: See Terminal Repair Kit
  • Release Tool/Test Probe: See Terminal Repair Kit

Engine Control Module (ECM) - X2 (LE5)

Pin

Wire

Circuit

Function

1-3

--

--

Not Used

4

0.5 TN

2761

Low Reference

5

0.5 PU

574

Low Reference

6

0.5 TN

1744

Fuel Injector 1 Control

7

0.5 PK/BK

1746

Fuel Injector 3 Control

8

0.5 L-BU/BK

844

Fuel Injector 4 Control

9

0.35 BN

2129

Low Reference

10

0.5 L-GN/BK

1745

Fuel Injector 2 Control

11-12

--

--

Not Used

13

0.35 GY

2704

5-Volt Reference 1

14

0.5 L-GN

5282

Low Reference

15

0.5 PU

5284

Camshaft Phaser Intake Solenoid Control

16

0.5 YE

581

Throttle Actuator Control Motor Control - 1

17-19

--

--

Not Used

20

0.35 TN

5301

Low Reference

21

0.35 GY

5296

Low Reference

22

0.35 PU

2121

IC 1 Control

23

0.35 L-BU

2123

IC 3 Control

24

0.35 D-GN/WH

2124

IC 4 Control

25

--

--

Not Used

26

0.35 OG/WH

2122

IC 2 Control

27-29

--

--

Not Used

30

0.35 D-GN/WH

428

Evaporative Emission Canister Purge Solenoid Control

31

0.35 OG

225

Generator Turn On Signal

32

0.5 BN

582

Throttle Actuator Control Motor Control - 2

33

0.35 D-BU

5300

5-Volt Reference 1

34

0.35 YE/BK

5297

5-Volt Reference 1

35-36

--

--

Not Used

37

0.5 PU/WH

3110

Heated Oxygen Sensor High Signal Sensor 1

38

--

--

Not Used

39

0.35 L-GN

432

Manifold Absolute Pressure Sensor Signal

40

0.5 TN

2752

Low Reference

41

--

--

Not Used

42

0.35 YN

2760

Low Reference

43

0.35 GY

23

Generator Field Duty Signal

44

--

--

Not Used

45

0.5 YE

573

Crankshaft Position Sensor Signal

46

0.5 OG

5275

Camshaft Position Intake Sensor Signal

47

0.35 D-GN

5273

Camshaft Position Exhaust Sensor Signal

48

0.5 TN/WH

3111

Heated Oxygen Sensor Low Signal Sensor 1

49

0.35 OG/BK

469

Low Reference

50

0.5 GY

1716

Knock Sensor 1 Signal

51

0.5 D-BU

496

Knock Sensor 1 Signal

52

--

--

Not Used

53

0.5 GY

2701

5-Volt Reference 1

54

0.5 L-GN

2867

5-Volt Reference 2

55-56

--

--

Not Used

57

0.5 D-GN

485

Throttle Position Sensor 1 Signal

58

0.5 YE

410

Engine Coolant Temperature Sensor Signal

59

0.5 PU

486

Throttle Position Sensor 2 Signal

60

0.5 BN

6753

Low Reference

61

0.5 BN/WH

6754

Camshaft Phaser Exhaust Solenoid Control

62-64

--

--

Not Used

65

0.5 GY/WH

3113

Heated Oxygen Sensor Heater Low Control Sensor 1

66

--

--

Not Used

67

0.5 TN/BK

231

Oil Pressure Switch Signal

68-72

--

--

Not Used

73

2.0 BK/WH

451

Ground

Engine Control Module (ECM) X1 (LNF)


Object Number: 1826274  Size: CH

Connector Part Information

  • OEM: 1-928-404-781
  • Service: 19149311
  • Description: 96-Way F 120 MAT, 280 BDK Series, Sealed (BK)

Terminal Part Information

  • Terminal/Tray: 1928498135/19
  • Core/Insulation Crimp: Pins: 1-2,6-7,15-18,24,34,36-39,41-42,44,48,59-60,64,66-68,82-84,86,88,89-92,95-96 - J/J
  • Core/Insulation Crimp: Pins: 5,26-29, 51-53,73,75 - K/K
  • Core/Insulation Crimp: Pins: 10,13,30,35,45-46,54-56,78-80 - P/P
  • Release Tool/Test Probe: J-38125-213/J-35616-16 (L-GN)

Engine Control Module (ECM) X1 (LNF)

Pin

Wire

Circuit

Function

1

0.5 L-GN

5282

Camshaft Phaser Exhaust Solenoid Control

2

0.5 PU

5284

Camshaft Phaser Intake Solenoid Control

3-4

--

--

Not Used

5

1.0 YE

7301

High Pressure Fuel Pump Actuator High Control

6

0.5 D-GN/WH

428

Evaporative Emission Canister Purge Solenoid Control

7

0.5 OG

5275

Camshaft Position Intake Sensor Signal

8-9

--

--

Not Used

10

0.35 OG

225

Generator Turn On Signal

11-12

--

--

Not Used

13

0.35 BN/WH

2130

Low Reference

14

--

--

Not Used

15

0.5 GY

705

5-Volt Reference 2

16

0.5 D-GN

6391

Turbocharger Bypass Valve Control

17

0.5 TN/BK

231

Oil Pressure Switch Signal

18

0.5 YE

258

Turbocharger Wastegate Solenoid Control

19-23

--

--

Not Used

24

0.8 YE

581

Throttle Actuator Control Open

25

--

--

Not Used

26

1.0 L-BU

4804

Direct Fuel Injector (DFI) High Voltage Control Cylinder 4

27

1.0 L-BU/WH

4904

Direct Fuel Injector (DFI) High Voltage Supply Cylinder 4

28

1.0 D-BU

4802

Direct Fuel Injector (DFI) High Voltage Control Cylinder 2

29

1.0 D-BU/WH

4902

Direct Fuel Injector (DFI) High Voltage Supply Cylinder 2

30

0.35 GY

23

Generator Field Duty Cycle Signal

31-33

--

--

Not Used

34

0.5 D-GN

5273

Camshaft Position Exhaust Sensor Signal 1

35

0.35 YE

573

Crankshaft Position Sensor Signal 1

36

0.5 YE

2918

Fuel Rail Pressure Sensor Signal

37

0.5 L-GN

432

Manifold Absolute Pressure Sensor Signal

38

0.5 GY

598

5-Volt Reference 1

39

0.5 GY

2701

5-Volt Reference 3

40

0.5 GY

6031

5-Volt Reference (Late Production)

41

0.5 TN

552

Low Reference

42

0.5 TN

808

Low Reference

43

0.5 YE/BK

6032

Low Reference (Late Production)

44

0.5 TN

2761

Low Reference

45

0.35 GY

605

5-Volt Reference 3

46

0.35 TN

452

Low Reference

47

--

--

Not Used

48

0.8 BN

582

Throttle Actuator Control Closed

49-50

--

--

Not Used

51

1.0 BN

4801

Direct Fuel Injector (DFI) High Voltage Control Cylinder 1

52

1.0 D-GN

4803

Direct Fuel Injector (DFI) High Voltage Control Cylinder 3

53

1.0 D-GN/WH

4903

Direct Fuel Injector (DFI) High Voltage Supply Cylinder 3

54

0.35 BN/WH

419

MIL Control

55

0.35 PU

2121

IC 1 Control

56

0.35 D-GN/WH

2124

IC 4 Control

57-58

--

--

Not Used

59

0.5 D-BU

496

Knock Sensor 1 Signal

60

0.5 GY

2303

Knock Sensor 2 Signal

61-63

--

--

Not Used

64

0.5 TN

407

Low Reference

65

--

--

Not Used

66

0.5 PU

7330

Pre-Throttle Air Temp and Press (TMAP) Air Pressure Signal

67

0.5 TN/WH

3111

Heated Oxygen Sensor Low Signal Sensor 1

68

0.5 WH

5279

Heated Oxygen Sensor Pump Current Sensor 1

69-72

--

--

Not Used

73

1.0 PU

7300

High Pressure Fuel Pump Actuator Low Control

74

--

--

Not Used

75

1.0 BN/WH

4901

Direct Fuel Injector (DFI) High Voltage Supply Cylinder 1

76-77

--

--

Not Used

78

0.35 BN

2129

Low Reference

79

0.35 L-BU

2123

IC 3 Control

80

0.35 OG/WH

2122

IC 2 Control

81

--

--

Not Used

82

0.5 YE

410

Engine Coolant Temperature Sensor Signal

83

0.5 GY

1716

Knock Sensor 1 Signal

84

0.5 L-BU

1876

Knock Sensor 2 Signal

85

--

--

Not Used

86

0.5 L-BU

7329

Pre-Throttle Air Temp and Press (TMAP) Temperature Signal

87

--

--

Not Used

88

0.5 TN

2752

Low Reference

89

0.5 PU

486

Throttle Position Sensor 2 Signal

90

0.5 D-GN

485

Throttle Position Sensor 1 Signal

91

0.5 L-GN

5278

Heated Oxygen Sensor Input Pump Current Sensor 1

92

0.5 PU/WH

3110

Heated Oxygen Sensor High Signal Sensor 1

93-94

--

--

Not Used

95

0.5 GY

597

5-Volt Reference 1

96

0.5 GY/WH

3113

Heated Oxygen Sensor Heater Low Control Sensor 1

Engine Control Module (ECM) X2 (LNF)


Object Number: 1360604  Size: CH

Connector Part Information

  • OEM: 1-928-404-916
  • Service: 19115599
  • Description: 58-Way F 280 Series, Sealed (BK)

Terminal Part Information

  • Pins: 1-2,4
  • Terminal/Tray: 1928498059/24
  • Pins: 3, 5-6
  • Terminal/Tray: 1928498058/8
  • Core/Insulation Crimp: 2/5
  • Release Tool/Test Probe: J-38125-561/J-35616-35 (VT)
  • Pins:7,9-11,12-19,22-23,25,27,31, 34-36,38-39,41-42,44,46-50,52,54-56,58
  • Terminal/Tray: 1928498135/19
  • Core/Insulation Crimp: Pins: 7,9-10,12-14,16, 18-19,22,27,31, 36,38,42,50,54-56 - J/J
  • Core/Insulation Crimp: Pins: 11,15,17,23,25,34-35,39,41,44,46-49,52,58 - P/P
  • Release Tool/Test Probe: J-38125-213/J-35616-16 (L-GN)

Engine Control Module (ECM) X2 (LNF)

Pin

Wire

Circuit

Function

1

2.0 BK/WH

451

Ground

2

2.0 BK/WH

451

Ground

3

0.8 PK/BK

5290

Ignition 1 Voltage

4

2.0 BK/WH

451

Ground

5

0.8 PK/BK

5290

Ignition 1 Voltage

6

0.8 PK/BK

5290

Ignition 1 Voltage

7

0.5 GY/WH

3122

Heated Oxygen Sensor Heater Low Control Sensor 2

8

--

--

Not Used

9

0.5 TN

2759

Low Reference

10

0.5 D-GN/WH

465

Fuel Pump Relay Control

11

0.35 TN

5514

Low Reference (C60)

12

--

--

Not Used

13

0.35 YE

492

Mass Air Flow Sensor Signal

14

0.5 GY

2709

5-Volt Reference 1

15

0.35 D-BU

1161

Adjustable Accelerator Position Sensor 1 Signal

16

--

--

Not Used

17

0.35 OG/BK

1786

Transmission Park/Neutral Signal 1 (M82)

18

0.5 L-GN

24

Backup Lamp Supply Voltage

19

0.5 WH

1310

Evaporative Emission Canister Vent Solenoid Control

20

0.5 BN

7448

Vacuum Assist Pump Relay Coil Control (Late Production)

21

--

--

Not Used

22

0.35 TN

2760

Low Reference

23

0.5 TN/WH

3121

Heated Oxygen Sensor Low Signal Sensor 2

24

--

--

Not Used

25

0.35 L-BU

1162

Adjustable Accelerator Position Sensor 2 Signal

26

--

--

Not Used

27

0.5 D-GN

890

Fuel Tank Pressure Sensor Signal

28

--

--

Not Used

29

0.5 OG

6030

Brake Booster Vacuum Sensor Signal (Late Production)

30-33

--

--

Not Used

34

0.35 BN

1271

Low Reference

35

0.35 GY

2700

5-Volt Reference 3

36

0.5 PU

1589

Fuel Level Sensor Signal

37

0.35 L-GN

6338

Manual Transmission Clutch Position Sensor Signal Position (MA5)

38

0.5 PU

3120

Heated Oxygen Sensor High Signal Sensor 2

39

0.35 OG/BK

380

A/C Refrigerant Pressure Sensor Signal (C60)

40

0.5 PU

401

Vehicle Speed Sensor Low Signal (MA5)

41

0.35 BN

4

Accessory Voltage

42

0.5 TN/BK

2500

High Speed GMLAN Serial Data Bus (+)

43

--

--

Not Used

44

0.35 D-GN/WH

459

A/C Compressor Clutch Relay Control (C60)

45

--

--

Not Used

46

0.35 WH

2368

Cooling Fan Signal Control

47

0.35 PU

1272

Low Reference

48

0.35 TN

1274

5-Volt Reference 3

49

0.35 WH/BK

1164

5-Volt Reference 2

50

0.35 L-BU

6289

Induction Air Temperature Sensor Signal

51

--

--

Not Used

52

0.35 L-BU

20

Stop Lamp Supply Voltage (MA5)

53

0.5 YE

400

Vehicle Speed Sensor High Signal (MA5)

54

0.5 PK

1039

Ignition 1 Voltage

55

0.5 TN

2501

High Speed GMLAN Serial Data BUS (-)

56

0.5 RD/WH

840

Battery Positive Voltage

57

0.35 PU/WH

6386

Starter Enable Relay Control

58

0.35 YE

5991

Powertrain Relay Coil Control

Engine Coolant Level Switch


Object Number: 635009  Size: CH

Connector Part Information

  • OEM: 12052641
  • Service: 12102747
  • Description: 2-Way F Metri-Pack 150 Series (BK)

Terminal Part Information

  • Terminal/Tray: 12048074/2
  • Core/Insulation Crimp: E/1
  • Release Tool/Test Probe: 12094429/J-35616-2A (GY)

Engine Coolant Level Switch

Pin

Wire

Circuit

Function

A

0.5 L-GN

1478

Coolant Level Switch Signal

B

0.5 BK/WH

451

Ground

Engine Coolant Temperature (ECT) Sensor (LE5)


Object Number: 1538760  Size: CH

Connector Part Information

  • OEM: 15449028
  • Service: 88987978
  • Description: 2-Way F GT 150 Sealed (BK)

Terminal Part Information

  • Terminal/Tray: 12191819/8
  • Core/Insulation Crimp: E/A
  • Release Tool/Test Probe: 15315247/J-35616-2A (GY)

Engine Coolant Temperature (ECT) Sensor (LE5)

Pin

Wire

Circuit

Function

A

0.5 TN

2761

Low Reference

B

0.5 YE

410

Engine Cooling Temperature Sensor Signal

Engine Coolant Temperature (ECT) Sensor (LNF)


Object Number: 655692  Size: CH

Connector Part Information

  • OEM: 13584122
  • Service: 88987993
  • Description: 2-Way F Metri-Pack 150 Series Sealed (GY)

Terminal Part Information

  • Terminal/Tray: 15326267/19
  • Core/Insulation Crimp: E/4
  • Release Tool/Test Probe: 15315247/J-35616-2A (GY)

Engine Coolant Temperature (ECT) Sensor (LNF)

Pin

Wire

Circuit

Function

A

0.5 TN

2761

Low Reference

B

0.5 YE

410

Engine Cooling Temperature Sensor Signal

Engine Cooling Fan (LE5)


Object Number: 668832  Size: CH

Connector Part Information

  • OEM: 12124685
  • Service: 12116243
  • Description: 3-Way F Metri-Pack 630 Series, Sealed (BK)

Terminal Part Information

  • Terminal: 15305232/23
  • Core/Insulation Crimp: F/3
  • Release Tool/Test Probe: J-38125-11A/J-35616-42 (RD)

Engine Cooling Fan (LE5)

Pin

Wire

Circuit

Function

A

3.0 BK

250

Ground

B

3.0 L-BU

409

Cooling Fan Motor Supply Voltage

C

3.0 GY

532

Cooling Fan Motor Supply Voltage

Engine Cooling Fan (LNF)


Object Number: 1745131  Size: CH

Connector Part Information

  • OEM: 7283-8496-30
  • Service: 19115593
  • Description: 4-Way F Mixed Series, Sealed (BK)

Terminal Part Information

  • Terminal/Tray: Pins 1, 2 - 7116-3250/10
  • Core/Insulation Crimp: Pins 1, 2 - See Terminal Repair Kit
  • Release Tool/Test Probe: Pins: 1, 2 12094430/J-35616-22 (RD)
  • Terminal/Tray: Pin: 4 - 7116-4110-02/9
  • Core/Insulation Crimp: Pin: 4 - E/C
  • Release Tool/Test Probe: Pin: 4 - 12094430/J-35616-4A (PU)

Engine Cooling Fan (LNF)

Pin

Wire

Circuit

Function

1

8.0 RD/BK

342

Battery Positive Voltage

2

8.0 BK

650

Ground

3

--

--

Not Available

4

0.35 WH

2368

Cooling Fan Speed Control

Engine Oil Pressure (EOP) Switch


Object Number: 1664567  Size: CH

Connector Part Information

  • OEM: 15474881
  • Service: 88988620
  • Description: 4-Way F Metri-Pack 150 Series Sealed (GY)

Terminal Part Information

  • Pins: A
  • Terminal/Tray: 12048074/2
  • Core/Insulation Crimp: E/1
  • Release Tool/Test Probe: 12094429/J-35616-2A (GY)

Engine Oil Pressure (EOP) Switch

Pin

Wire

Circuit

Function

A

0.5 TN/BK

231

Oil Pressure Switch Signal

B-D

--

--

Not Used

Evaporative Emission (EVAP) Canister Purge Solenoid Valve


Object Number: 684795  Size: CH

Connector Part Information

  • OEM: 12052643
  • Service: 12101858
  • Description: 2-Way F Metri-Pack 150 Series Sealed (RD)

Terminal Part Information

  • Terminal/Tray: 12048074/2
  • Core/Insulation Crimp: E/1
  • Release Tool/Test Probe: 12094429/J-35616-2A (GY)

Evaporative Emission (EVAP) Canister Purge Solenoid Valve

Pin

Wire

Circuit

Function

A

0.5 PK/BK

5291

Ignition 1 Voltage

B

0.5 D-GN/WH

428

Evaporative Emission Canister Purge Solenoid Control (LNF)

0.35 D-GN/WH

428

Evaporative Emission Canister Purge Solenoid Control (LE5)

Evaporative Emission (EVAP) Canister Vent Solenoid Valve


Object Number: 684795  Size: CH

Connector Part Information

  • OEM: 12052643
  • Service: 12101858
  • Description: 2-Way F Metri-Pack 150 Series Sealed (RD)

Terminal Part Information

  • Terminal/Tray: 12048074/2
  • Core/Insulation Crimp: E/1
  • Release Tool/Test Probe: 12094429/J-35616-2A (GY)

Evaporative Emission (EVAP) Canister Vent Solenoid Valve

Pin

Wire

Circuit

Function

A

0.5 RD/WH

140

Battery Positive Voltage

B

0.5 WH

1310

Evaporative Emission Canister Vent Solenoid Control

Evaporator Temperature Sensor (C60)


Object Number: 82383  Size: CH

Connector Part Information

  • OEM: 12047662
  • Service: 12085535
  • Description: 2-Way F Metri-Pack 150 Series (BK)

Terminal Part Information

  • Terminal/Tray: 12064971/5
  • Core/Insulation Crimp: E/C
  • Release Tool/Test Probe: 12094429/J-35616-2A (GY)

Evaporator Temperature Sensor (C60)

Pin

Wire

Circuit

Function

A

0.35 YE

1791

Low Reference

B

0.35 GY

6137

Evaporator Core Temperature Sensor Signal

Fog Lamp - Left Front (T96)


Object Number: 1413064  Size: CH

Connector Part Information

  • OEM: 12124819
  • Service: 12085498
  • Description: 2-Way F Metri-Pack 280 Series (BK)

Terminal Part Information

  • Terminal/Tray: See Terminal Repair Kit
  • Core/Insulation Crimp: See Terminal Repair Kit
  • Release Tool/Test Probe: See Terminal Repair Kit

Fog Lamp - Left Front (T96)

Pin

Wire

Circuit

Function

A

0.5 PK

2234

Front Fog Lamp Supply Voltage

B

0.5 BK

150

Ground

Fog Lamp - Right Front (T96)


Object Number: 1413064  Size: CH

Connector Part Information

  • OEM: 12124819
  • Service: 12085498
  • Description: 2-Way F Metri-Pack 280 Series, Sealed (BK)

Terminal Part Information

  • Terminal/Tray: See Terminal Repair Kit
  • Core/Insulation Crimp: See Terminal Repair Kit
  • Release Tool/Test Probe: See Terminal Repair Kit

Fog Lamp - Right Front (T96)

Pin

Wire

Circuit

Function

A

0.5 PK

2234

Front Fog Lamp Supply Voltage

B

0.5 BK

250

Ground

Fog Lamp Switch (T96)


Object Number: 1283883  Size: CH

Connector Part Information

  • OEM: 15419483
  • Service: 89046742
  • Description: 4-Way F Metri-Pack 150 Series (BK)

Terminal Part Information

  • Terminal/Tray: 12064971/5
  • Core/Insulation Crimp: E/C
  • Release Tool/Test Probe: 12094429/J-35616-2A (GY)

Fog Lamp Switch (T96)

Pin

Wire

Circuit

Function

A

0.35 BK

550

Ground

B

0.35 YE

317

Fog Lamp Relay Control

C

0.35 OG

192

Front Fog Lamp Switch Signal

D

0.35 GY

8

Instrument Panel Lamp Supply Voltage

Folding Top Cover Actuator


Object Number: 695495  Size: CH

Connector Part Information

  • OEM: 15326870
  • Service: 88953160
  • Description: 2-Way FGT 280 (BK)

Terminal Part Information

  • Terminal/Tray: 15304711/8
  • Core/Insulation Crimp: 2/A
  • Release Tool/Test Probe: 15315247/J-35616-4A (PU)

Folding Top Cover Actuator

Pin

Wire

Circuit

Function

A

1.0 TN/WH

56

Trunk Release Motor Supply Voltage

B

1.0 BK

850

Ground

Fuel Injector 1 (LE5)


Object Number: 1721512  Size: CH

Connector Part Information

  • OEM: 7283-8596-30
  • Service: 15306160
  • Description: 2-Way F Micro-Pack 064 Series Sealed (BK)

Terminal Part Information

  • Terminal/Tray: 7116-4102-08/9
  • Core/Insulation Crimp: E/1
  • Release Tool/Test Probe: 12094430/J-35616-2A (GY)

Fuel Injector 1 (LE5)

Pin

Wire

Circuit

Function

1

0.5 PK

139

Ignition 1 Voltage

2

0.5 BK

1744

Fuel Injector 1 Control

Fuel Injector 1 (LNF)


Object Number: 784092  Size: CH

Connector Part Information

  • OEM: 1-928-403-874
  • Description: 2-Way F Kompakt 2.8 Series Sealed (BK)

Fuel Injector 1 (LNF)

Pin

Wire

Circuit

Function

1

1.0 TN

4801

Direct Fuel Injector (DFI) High Voltage Control Cylinder 1

2

1.0 TN

4901

Direct Fuel Injector (DFI) High Voltage Supply Cylinder 1

Fuel Injector 2 (LE5)


Object Number: 1721512  Size: CH

Connector Part Information

  • OEM: 7283-8596-30
  • Service: 15306160
  • Description: 2-Way F Micro-Pack 064 Series Sealed (BK)

Terminal Part Information

  • Terminal/Tray: 7116-4102-08/9
  • Core/Insulation Crimp: E/1
  • Release Tool/Test Probe: 12094430/J-35616-2A (GY)

Fuel Injector 2 (LE5)

Pin

Wire

Circuit

Function

1

0.5 PK

139

Ignition 1 Voltage

2

0.5 GN/BK

1745

Fuel Injector 2 Control

Fuel Injector 2 (LNF)


Object Number: 784092  Size: CH

Connector Part Information

  • OEM: 1-928-403-874
  • Description: 2-Way F Kompakt 2.8 Series Sealed (BK)

Fuel Injector 2 (LNF)

Pin

Wire

Circuit

Function

1

1.0 TN

4802

Direct Fuel Injector (DFI) High Voltage Control Cylinder 2

2

1.0 TN

4902

Direct Fuel Injector (DFI) High Voltage Supply Cylinder 2

Fuel Injector 3 (LE5)


Object Number: 1721512  Size: CH

Connector Part Information

  • OEM: 7283-8596-30
  • Service: 15306160
  • Description: 2-Way F Micro-Pack 064 Series Sealed (BK)

Terminal Part Information

  • Terminal/Tray: 7116-4102-08/9
  • Core/Insulation Crimp: E/1
  • Release Tool/Test Probe: 12094430/J-35616-2A (GY)

Fuel Injector 3 (LE5)

Pin

Wire

Circuit

Function

1

0.5 PK

139

Injector 1 Voltage

2

0.5 PK/BK

1746

Fuel Injector 3 Control

Fuel Injector 3 (LNF)


Object Number: 784092  Size: CH

Connector Part Information

  • OEM: 1-928-403-874
  • Description: 2-Way F Kompakt 2.8 Series Sealed (BK)

Fuel Injector 3 (LNF)

Pin

Wire

Circuit

Function

1

1.0 TN

4803

Direct Fuel Injector (DFI) High Voltage Control Cylinder 3

2

1.0 TN

4903

Direct Fuel Injector (DFI) High Voltage Supply Cylinder 3

Fuel Injector 4 (LE5)


Object Number: 1721512  Size: CH

Connector Part Information

  • OEM: 7283-8596-30
  • Service: 15306160
  • Description: 2-Way F Micro-Pack 064 Series Sealed (BK)

Terminal Part Information

  • Terminal/Tray: 7116-4102-08/9
  • Core/Insulation Crimp: E/1
  • Release Tool/Test Probe: 12094430/J-35616-2A (GY)

Fuel Injector 4 (LE5)

Pin

Wire

Circuit

Function

1

0.5 PK

139

Injector 1 Voltage

2

0.5 BU/BK

844

Fuel Injector 4 Control

Fuel Injector 4 (LNF)


Object Number: 784092  Size: CH

Connector Part Information

  • OEM: 1-928-403-874
  • Description: 2-Way F Kompakt 2.8 Series Sealed (BK)

Fuel Injector 4 (LNF)

Pin

Wire

Circuit

Function

1

1.0 TN

4804

Direct Fuel Injector (DFI) High Voltage Control Cylinder 4

2

1.0 TN

4904

Direct Fuel Injector (DFI) High Voltage Supply Cylinder 4

Fuel Pump and Sender Assembly


Object Number: 684908  Size: CH

Connector Part Information

  • OEM: 15326631
  • Service: 15306360
  • Description: 4-Way F GT 280 Series Sealed (BK)

Terminal Part Information

  • Pins: A, D, B, C
  • Terminal/Tray: 15304719/19
  • Core/Insulation Crimp: Pins A, D - 2/5
  • Core/Insulation Crimp: Pins B, C - E/5
  • Release Tool/Test Probe: 15315247/J-35616-4A (PU)

Fuel Pump and Sender Assembly

Pin

Wire

Circuit

Function

A

1.0 BK

750

Ground

B

0.5 PU

1589

Fuel Level Sensor Signal

C

0.5 TN

2759

Low Reference

D

1.0 GY

120

Fuel Pump Supply Voltage

Fuel Rail Pressure (FRP) Sensor (LNF)


Object Number: 1331443  Size: CH

Connector Part Information

  • OEM: 1-928-403-966
  • Description: 3-Way F 2.8 Series Sealed (BK)

Fuel Rail Pressure (FRP) Sensor (LNF)

Pin

Wire

Circuit

Function

1

0.5 GY

808

Low Reference

2

0.5 GY

2918

Fuel Rail Pressure Sensor Signal

3

0.5 GY

598

5-Volt Reference 1

Fuel Tank Pressure (FTP) Sensor


Object Number: 1962078  Size: CH

Connector Part Information

  • OEM: 13511996
  • Service: See Catalog
  • Description: 3-Way F 150 Series Sealed (GY)

Terminal Part Information

  • Terminal/Tray: See Terminal Repair Kit
  • Core/Insulation Crimp: See Terminal Repair Kit
  • Release Tool/Test Probe: See Terminal Repair Kit

Fuel Tank Pressure (FTP) Sensor

Pin

Wire

Circuit

Function

1

0.5 D-GN

890

Fuel Tank Pressure Sensor Signal

2

0.5 TN

2759

Low Reference

3

0.5 GY

2709

5-Volt Reference 1

Generator X1


Object Number: 697046  Size: CH

Connector Part Information

  • OEM: 12186568
  • Service: See Catalog
  • Description: 4-Way F Metri-Pack 150 Series (BK)

Terminal Part Information

  • Pins: B, C
  • Terminal/Tray: 12048074/2
  • Core/Insulation Crimp: E/1
  • Release Tool/Test Probe: 12094429/J-35616-2A (GY)

Generator X1

Pin

Wire Color

Circuit No.

Function

A

--

--

Not Used

B

0.35 OG

225

Generator Turn On Signal

C

0.35 GY

23

Generator Field Duty Cycle Signal

D

--

--

Not Used

Generator X2

Terminal Part Information

  • Terminal: 12146365
  • Description: Ring Terminal

Generator X2

Pin

Wire

Circuit

Function

A

13 RD

2

Battery Positive Voltage (LE5)

A

19 RD

2

Battery Positive Voltage (LNF)

Hazard Warning Switch (SKY)


Object Number: 333035  Size: CH

Connector Part Information

  • OEM: 12047781
  • Service: 12101864
  • Description: 3-Way F Metri-Pack 150 Series (BK)

Terminal Part Information

  • Terminal/Tray: See Terminal Repair Kit
  • Core/Insulation Crimp: See Terminal Repair Kit
  • Release Tool/Test Probe: See Terminal Repair Kit

Hazard Warning Switch (SKY)

Pin

Wire

Circuit

Function

A

0.35 GY

8

Instrument Panel Lamp Supply Voltage

B

0.35 BK

550

Ground

C

0.35 WH

111

Hazard Warning Switch Signal

Hazard Warning Switch (Solstice)


Object Number: 39665  Size: CH

Connector Part Information

  • OEM: 12089248
  • Service: 12102900
  • Description: 4-Way F Metri-Pack 150 Series (NA)

Terminal Part Information

  • Terminal/Tray: 12064971/5
  • Core/Insulation Crimp: E/C
  • Release Tool/Test Probe: 12094429/J-35616-2A (GY)

Hazard Warning Switch (Solstice)

Pin

Wire

Circuit

Function

A

0.35 BK

550

Ground

B

0.35 GY

8

Instrument Panel Lamp Supply Voltage

C

--

--

Not Used

D

0.35 WH

111

Hazard Warning Switch Signal

Headlamp - Left High Beam (SKY)


Object Number: 1528375  Size: CH

Connector Part Information

  • OEM: 15393199
  • Service: 88987187
  • Description: 2-Way F Metri-Pack 280 Series, Sealed (BK)

Terminal Part Information

  • Terminal: See Terminal Repair Kit
  • Core/Insulation Crimp: See Terminal Repair Kit
  • Release Tool/Test Probe: See Terminal Repair Kit

Headlamp - Left High Beam (SKY)

Pin

Wire

Circuit

Function

A

0.8 BK

--

Left Headlamp High Beam Supply Voltage

B

0.8 BK

--

Ground

Headlamp - Left Low Beam (SKY)


Object Number: 1528375  Size: CH

Connector Part Information

  • OEM: 15393199
  • Service: 88987187
  • Description: 2-Way F Metri-Pack 280 Series, Sealed (GY)

Terminal Part Information

  • Terminal: See Terminal Repair Kit
  • Core/Insulation Crimp: See Terminal Repair Kit
  • Release Tool/Test Probe: See Terminal Repair Kit

Headlamp - Left Low Beam (SKY)

Pin

Wire

Circuit

Function

A

0.8 RD

--

Left Headlamp Low Beam Supply Voltage

B

0.8 RD

--

Ground

Headlamp - Left (Solstice)


Object Number: 1591675  Size: CH

Connector Part Information

  • OEM: 7900-1486-003
  • Service: See Catalog
  • Description: 3-Way F (WH)

Terminal Part Information

  • Terminal/Tray: 7116-4102-08/9
  • Core/Insulation Crimp: E/1
  • Release Tool/Test Probe: 12094430/J-35616-2A (GY)

Headlamp - Left (Solstice)

Pin

Wire

Circuit

Function

1

0.8 YE

712

Right Headlamp Low Beam Supply Voltage

2

0.8 BK

150

Ground

3

0.8 D-GN/WH

711

Right Headlamp High Beam Supply Voltage

Headlamp - Right High Beam (SKY)


Object Number: 1528375  Size: CH

Connector Part Information

  • OEM: 15393199
  • Service: 88987187
  • Description: 2-Way F Metri-Pack 280 Series, Sealed (BK)

Terminal Part Information

  • Terminal: See Terminal Repair Kit
  • Core/Insulation Crimp: See Terminal Repair Kit
  • Release Tool/Test Probe: See Terminal Repair Kit

Headlamp - Right High Beam (SKY)

Pin

Wire

Circuit

Function

A

0.8 BK

--

Right Headlamp High Beam Supply Voltage

B

0.8 BK

--

Ground

Headlamp - Right Low Beam (SKY)


Object Number: 1528375  Size: CH

Connector Part Information

  • OEM: 15393199
  • Service: 88987187
  • Description: 2-Way F Metri-Pack 280 Series, Sealed (GY)

Terminal Part Information

  • Terminal: See Terminal Repair Kit
  • Core/Insulation Crimp: See Terminal Repair Kit
  • Release Tool/Test Probe: See Terminal Repair Kit

Headlamp - Right Low Beam (SKY)

Pin

Wire

Circuit

Function

A

0.8 RD

--

Right Headlamp Low Beam Supply Voltage

B

0.8 RD

--

Ground

Headlamp - Right (Solstice)


Object Number: 1591675  Size: CH

Connector Part Information

  • OEM: 7900-1486-003
  • Service: See Catalog
  • Description: 3-Way F (WH)

Terminal Part Information

  • Terminal/Tray: 7116-4102-08/9
  • Core/Insulation Crimp: E/1
  • Release Tool/Test Probe: 12094430/J-35616-2A (GY)

Headlamp - Right (Solstice)

Pin

Wire

Circuit

Function

1

0.8 TN/WH

312

Right Headlamp Low Beam Supply Voltage

2

0.8 BK

250

Ground

3

0.8 L-GN/BK

311

Right Headlamp High Beam Supply Voltage

Heated Oxygen Sensor (HO2S) 1 (LE5)


Object Number: 518981  Size: CH

Connector Part Information

  • OEM: 12160482
  • Service: See Catalog
  • Description: 4-Way F Metri-Pack 150 Series Sealed (BK)

Terminal Part Information

  • Terminal/Tray: See Terminal Repair Kit
  • Core/Insulation Crimp: See Terminal Repair Kit
  • Release Tool/Test Probe: See Terminal Repair Kit

Heated Oxygen Sensor (HO2S) 1 (LE5)

Pin

Wire

Circuit

Function

A

0.5 TN/WH

3111

Heated Oxygen Sensor Low Signal - Sensor 1

B

0.5 PU/WH

3110

Heated Oxygen Sensor High Signal - Sensor 1

C

0.5 GY/WH

3113

Heated Oxygen Sensor Heater - Sensor 1

D

0.5 PK/BK

5291

Ignition 1 Voltage

Heated Oxygen Sensor (HO2S) 1 (LNF)


Object Number: 1523693  Size: CH

Connector Part Information

  • OEM: 1-928-404-900
  • Description: 6-Way F Sealed (BK)

Heated Oxygen Sensor (HO2S) 1 (LNF)

Pin

Wire

Circuit

Function

1

0.5 WH

5279

Heated Oxygen Sensor Pump Current - Sensor 1

2

0.5 TN/WH

3111

Heated Oxygen Sensor Low Signal - Sensor 1

3

0.5 GY/WH

3113

Heated Oxygen Sensor Heater Low Control - Sensor 1

4

0.5 PK/BK

5291

Ignition 1 Voltage

5

0.5 L-GN

5278

Heated Oxygen Sensor Input Pump Current - Sensor 1

6

0.5 PU/WH

3110

Heated Oxygen Sensor High Signal - Sensor 1

Heated Oxygen Sensor (HO2S) 2 (LE5)


Object Number: 628099  Size: CH

Connector Part Information

  • OEM: 12092840
  • Service: See Catalog
  • Description: 4-Way M Metri-Pack 150 Series, Sealed (GY)

Terminal Part Information

  • Terminal/Tray: 12045773/2
  • Core/Insulation Crimp: E/1
  • Release Tool/Test Probe: 12094429/J-35616-3 (GY)

Heated Oxygen Sensor (HO2S) 2 (LE5)

Pin

Wire

Circuit

Function

A

0.5 TN/WH

3121

Heated Oxygen Sensor Low Signal - Sensor 2

B

0.5 PU

3120

Heated Oxygen Sensor High Signal - Sensor 2

C

--

--

Not Available

D

0.5 PK/BK

5291

Ignition 1 Voltage

E

0.5 GY/WH

3122

Heated Oxygen Sensor Heater Low Control - Sensor 2

Heated Oxygen Sensor (HO2S) 2 (LNF)


Object Number: 806613  Size: CH

Connector Part Information

  • OEM: 15326423
  • Service: See Catalog
  • Description: 4-Way M Metri-Pack 150 Series Sealed (BK)

Terminal Part Information

  • Terminal/Tray: See Terminal Repair Kit
  • Core/Insulation Crimp: See Terminal Repair Kit
  • Release Tool/Test Probe: See Terminal Repair Kit

Heated Oxygen Sensor (HO2S) 2 (LNF)

Pin

Wire

Circuit

Function

A

0.5 TN/WH

3121

Heated Oxygen Sensor Low Signal - Sensor 2

B

0.5 PU

3120

Heated Oxygen Sensor High Signal - Sensor 2

C

0.5 GY/WH

3122

Heated Oxygen Sensor Heater Low Control - Sensor 2

D

0.5 PK/BK

5291

Ignition 1 Voltage

High Pressure Fuel Pump (LNF)


Object Number: 784092  Size: CH

Connector Part Information

  • OEM: 1-928-403-874
  • OEM: See Catalog
  • Description: 2-Way F Kompakt 2.8 Series Sealed (BK)

Terminal Part Information

  • Terminal/Tray: See Terminal Repair Kit
  • Core/Insulation Crimp: See Terminal Repair Kit
  • Release Tool/Test Probe: See Terminal Repair Kit

High Pressure Fuel Pump (LNF)

Pin

Wire

Circuit

Function

1

1.0 PU

7300

High Pressure Fuel Pump Actuator Low Control

2

1.0 YE

7301

High Pressure Fuel Pump Actuator High Control

Horn


Object Number: 1659331  Size: CH

Connector Part Information

  • OEM: E-2157-000
  • OEM: See Catalog
  • Description: 2-Way F (BK)

Terminal Part Information

  • Terminal/Tray: See Terminal Repair Kit
  • Core/Insulation Crimp: See Terminal Repair Kit
  • Release Tool/Test Probe: See Terminal Repair Kit

Horn

Pin

Wire

Circuit

Function

1

0.8 BK

250

Ground

2

0.8 D-GN

29

Horn Control

Horn Switch


Object Number: 35451  Size: CH

Connector Part Information

  • OEM: 1209251
  • Service: See Catalog
  • Description: 2-Way F (RD)

Terminal Part Information

  • Terminal/Tray: See Terminal Repair Kit
  • Core/Insulation Crimp: See Terminal Repair Kit
  • Release Tool/Test Probe: See Terminal Repair Kit

Horn Switch

Pin

Wire

Circuit

Function

A

0.35 BN

28

Horn Relay Control

B

0.35 BK/WH

1150

Ground

0.35 BK/WH

1150

Ground

HVAC Control Module X1


Object Number: 1567536  Size: CH

Connector Part Information

  • OEM: 15118642
  • Service: 88988350
  • Description: 5-Way F (BK)

Terminal Part Information

  • Pins: 1, 5
  • Terminal/Tray: 964328-1/25
  • Core/Insulation Crimp: 4/B
  • Release Tool/Test Probe: 12093647/J-35616-40 (BU)
  • Pins: 2, 3, 4
  • Terminal/Tray: 927837-1/25
  • Core/Insulation Crimp: C/A
  • Release Tool/Test Probe: 12093647/J-35616-40 (BU)

HVAC Control Module X1

Pin

Wire

Circuit

Function

1

3.0 OG

52

Blower Motor High Control

2

2.0 L-BU

72

Medium 2 Blower Motor Control

3

2.0 TN

63

Blower Motor Medium Control (1)

4

2.0 YE

60

Blower Motor Low Control

5

3.0 BK

550

Ground

HVAC Control Module X2


Object Number: 684939  Size: CH

Connector Part Information

  • OEM: 15336594
  • Service: 15336594
  • Description: 12-Way F Micro-Pack 100 Series (GY)

Terminal Part Information

  • Pins: B, C, D, F, G, J, K, L
  • Terminal/Tray: 12146447/3
  • Core/Insulation Crimp: E/C
  • Release Tool/Test Probe: 12031876-1/J-35616-6 (BN)

HVAC Control Module X2

Pin

Wire

Circuit

Function

A

--

--

Not Used

B

0.35 RD/WH

1540

Battery Positive Voltage

C

0.35 BK

550

Ground

D

0.35 GY

8

Instrument Panel Lamp Supply Voltage

E

--

--

Not Used

F

0.35 WH

193

Rear Defog Relay Control

G

0.35 D-GN/WH

762

A/C Request Signal (C60)

H

--

--

Not Used

J

0.35 L-BU

292

Rear Defog Switch Signal

K

0.5 PK

339

Ignition 1 Voltage

L

0.35 BK/WH

651

Ground

M

--

--

Not Used

HVAC Control Module X3


Object Number: 73151  Size: CH

Connector Part Information

  • OEM: 12064799
  • Service: 15305996
  • Description: 12-Way F Micro-Pack 100 Series (BK)

Terminal Part Information

  • Terminal/Tray: 12146447/3
  • Core/Insulation Crimp: E/C
  • Release Tool/Test Probe: 12031876-1/J-35616-6 (BN)

HVAC Control Module X3

Pin

Wire

Circuit

Function

A

0.35 YE

1791

Low Reference

B

0.35 L-GN/BK

2276

Defrost Door Position Signal

C

0.35 GY

6137

Evaporator Core Temperature Sensor Signal (C60)

D

0.35 D-BU

1646

Auxiliary Air Temperature Door Position Signal

E

0.35 L-BU

733

Air Temperature Door Position Signal

F

0.35 L-BU/BK

1688

5-Volt Reference

G

0.35 D-GN

1614

Recirculation Door Control

H

0.35 TN/BK

2274

Recirculation Door Control Circuit

J

0.35 L-GN

2275

Mode Door Position Signal

K

0.35 TN

2273

Mode Door Control

L

0.35 L-GN/BK

1647

Recirculation Door Control B

M

0.35 D-BU

1199

Air Temperature Door Control

I/P Dimmer Switch (SKY)


Object Number: 808685  Size: CH

Connector Part Information

  • OEM: 12020299
  • Service: See Catalog
  • Description: 5-Way F P/C Edgeboard-Standard (NA)

Terminal Part Information

  • Terminal: See Terminal Repair Kit
  • Core/Insulation Crimp: See Terminal Repair Kit
  • Release Tool/Test Probe: See Terminal Repair Kit

I/P Dimmer Switch (SKY)

Pin

Wire

Circuit

Function

A

--

--

Not Used

B

0.35 PU

719

Low Reference

C

0.35 D-GN

44

Instrument Panel Lamp Dimmer Switch Signal

D-E

--

--

Not Used

I/P Dimmer Switch (Solstice)


Object Number: 646420  Size: CH

Connector Part Information

  • OEM: 15332135
  • Service: 15306414
  • Description: 4-Way F GT 150 (BK)

Terminal Part Information

  • Terminal/Tray: 12191812/19
  • Core/Insulation Crimp: E/C
  • Release Tool/Test Probe: 15315247/J-35616-2A (GY)

I/P Dimmer Switch (Solstice)

Pin

Wire

Circuit

Function

A-B

--

--

Not Used

C

0.35 PU

719

Low Reference

D

0.35 D-GN

44

Instrument Panel Lamp Dimmer Switch Signal

Ignition Coil 1


Object Number: 1590069  Size: CH

Connector Part Information

  • OEM: 7283-3392-30
  • Service: 88988338
  • Description: 4-Way F GT 150 Series (BK)

Terminal Part Information

  • Terminal/Tray: 7116-4102-08/9
  • Core/Insulation Crimp: E/1
  • Release Tool/Test Probe: 12094430/J-35616-2A (GY)

Ignition Coil 1

Pin

Wire

Circuit

Function

1

0.5 BK

450

Ground

2

0.35 BN

2129

Low Reference

3

0.35 PU

2121

IC 1 Control

4

0.5 PK/BK

5292

Ignition 1 Voltage

Ignition Coil 2


Object Number: 1590069  Size: CH

Connector Part Information

  • OEM: 7283-3392-30
  • Service: 88988338
  • Description: 4-Way F GT 150 Series (BK)

Terminal Part Information

  • Terminal/Tray: 7116-4102-08/9
  • Core/Insulation Crimp: E/1
  • Release Tool/Test Probe: 12094430/J-35616-2A (GY)

Ignition Coil 2

Pin

Wire

Circuit

Function

1

0.5 BK

450

Ground

2

0.35 BN/WH

2130

Low Reference (LE5)

0.35 BN

2129

Low Reference (LNF)

3

0.35 OG/WH

2122

IC 2 Control

4

0.5 PK/BK

5292

Ignition 1 Voltage

Ignition Coil 3


Object Number: 1590069  Size: CH

Connector Part Information

  • OEM: 7283-3392-30
  • Service: 88988338
  • Description: 4-Way F GT 150 Series (BK)

Terminal Part Information

  • Terminal/Tray: 7116-4102-08/9
  • Core/Insulation Crimp: E/1
  • Release Tool/Test Probe: 12094430/J-35616-2A (GY)

Ignition Coil 3

Pin

Wire

Circuit

Function

1

0.5 BK

450

Ground

2

0.35 BN

2129

Low Reference

3

0.35 L-BU

2123

IC 3 Control

4

0.5 PK/BK

5292

Ignition 1 Voltage

Ignition Coil 4


Object Number: 1590069  Size: CH

Connector Part Information

  • OEM: 7283-3392-30
  • Service: 88988338
  • Description: 4-Way F GT 150 Series (BK)

Terminal Part Information

  • Terminal/Tray: 7116-4102-08/9
  • Core/Insulation Crimp: E/1
  • Release Tool/Test Probe: 12094430/J-35616-2A (GY)

Ignition Coil 4

Pin

Wire

Circuit

Function

1

0.5 BK

450

Ground

2

0.35 BN/WH

2130

Low Reference (LNF)

0.35 BN

2129

Low Reference (LE5)

3

0.35 D-GN/WH

2124

IC 4 Control

4

0.5 PK/BK

5292

Ignition 1 Voltage

Ignition Switch


Object Number: 307727  Size: CH

Connector Part Information

  • OEM: 1L-AG5-6S-S3C1
  • Service: See Catalog
  • Description: 6-Way F 1L - AG5 Series (GN)

Terminal Part Information

  • Pins: 2, 3, 4, 5, 6
  • Terminal/Tray: See Terminal Repair Kit
  • Core/Insulation Crimp: See Terminal Repair Kit
  • Release Tool/Test Probe: See Terminal Repair Kit

Ignition Switch

Pin

Wire

Circuit

Function

1

--

--

Not Used

2

0.35 RD/WH

1040

Battery Positive Voltage

3

0.35 YE

5199

Run/Crank Relay Coil Control

4

0.35 BN

4

Accessory Voltage

5

0.35 WH

1390

Off/Run/Crank Voltage

6

0.35 WH/BK

1073

Ignition Key Resistor Signal

Inflatable Restraint Front End Sensor - Left


Object Number: 877918  Size: CH

Connector Part Information

  • OEM: 15356727
  • Service: See Catalog
  • Description: 2-Way F GT 150 Series Sealed 4.0 (YE)

Terminal Part Information

  • Terminal/Tray: Serviced with Pigtail
  • Core/Insulation Crimp: N/A
  • Release Tool/Test Probe: 15315247/J-35616-2A (GY)

Inflatable Restraint Front End Sensor - Left

Pin

Wire

Circuit

Function

A

0.5 TN/OG

5045

Low Reference

B

0.5 YE

1834

Forward Discriminating Sensor Signal

Inflatable Restraint Front End Sensor - Right


Object Number: 877918  Size: CH

Connector Part Information

  • OEM: 15356727
  • Service: See Catalog
  • Description: 2-Way F GT 150 Series Sealed 4.0 (YE)

Terminal Part Information

  • Terminal/Tray: Serviced with Pigtail
  • Core/Insulation Crimp: N/A
  • Release Tool/Test Probe: 15315247/J-35616-2A (GY)

Inflatable Restraint Front End Sensor - Right

Pin

Wire

Circuit

Function

A

0.5 GY

5600

Low Reference

B

0.5 YE/BK

2160

Front End Discriminating Sensor Signal

Inflatable Restraint I/P Module X1


Object Number: 878487  Size: CH

Connector Part Information

  • OEM: 54550268
  • Service: Service By Complete Passenger Air Bag Jumper Harness
  • Description: 2-Way F (GY) With (YE) Case

Terminal Part Information

  • Terminal/Tray: Serviced with Pigtail
  • Core/Insulation Crimp: N/A
  • Release Tool/Test Probe: N/A

Inflatable Restraint I/P Module X1

Pin

Wire

Circuit

Function

1

0.5 PK/BK

3024

Instrument Panel Module - Stage 1 - Low Control

2

0.5 L-BU/RD

3025

Instrument Panel Module - Stage 1 - High Control

Inflatable Restraint I/P Module X2


Object Number: 878490  Size: CH

Connector Part Information

  • OEM: 54550266
  • Service: Service By Complete Passenger Air Bag Jumper
  • Description: 2-Way F (BK) With (YE) Case

Terminal Part Information

  • Terminal/Tray: Serviced with Pigtail
  • Core/Insulation Crimp: N/A
  • Release Tool/Test Probe: N/A

Inflatable Restraint I/P Module X2

Pin

Wire

Circuit

Function

1

0.5 L-GN/RD

3026

Instrument Panel Module - Stage 2 - Low Control

2

0.5 RD/WH

3027

Instrument Panel Module - Stage 2 - High Control

Inflatable Restraint I/P Module Indicator


Object Number: 1538776  Size: CH

Connector Part Information

  • OEM: 15398877
  • Service: Not Serviced
  • Description: 5-Way F HCM (WH)

Terminal Part Information

  • Terminal/Tray: Serviced with Pigtail
  • Core/Insulation Crimp: N/A
  • Release Tool/Test Probe: 12094429/J-35616-64B (L-BU)

Inflatable Restraint I/P Module Indicator

Pin

Wire

Circuit

Function

1

0.35 TN/BK

723

Instrument Panel Module Disable Switch Signal

2

0.35 BK/WH

651

Ground

3

0.35 PK

353

Instrument Panel Module Suppression Indicator Control

4

0.5 PK

339

Ignition 1 Voltage

5

0.35 PU

5234

Passenger Seat Belt Indicator

Inflatable Restraint Passenger Presence System (PPS) Module


Object Number: 1464340  Size: CH

Connector Part Information

  • OEM: 15332142
  • Service: 89046638
  • Description: 6-Way M GT 150 Series (BK)

Terminal Part Information

  • Pins: A, B, C, D, E
  • Terminal/Tray: Serviced with Pigtail
  • Core/Insulation Crimp: N/A
  • Release Tool/Test Probe: See Terminal Repair Kit

Inflatable Restraint Passenger Presence System (PPS) Module

Pin

Wire

Circuit

Function

A

0.35 PK

1339

Ignition 1 Voltage

B

0.35 PK

5018

Occupant Sensor Serial Data

C

0.35 TN/BK

723

Instrument Panel Module Disable Switch Signal

D

0.35 BK/WH

351

Ground

E

0.35 PK

353

Instrument Panel Module Suppression Indicator Control

F

--

--

Not Used

Inflatable Restraint Sensing and Diagnostic Module (SDM)


Object Number: 1468532  Size: CH

Connector Part Information

  • OEM: 6-638595-2
  • Service: 88988363
  • Description: 60-Way F (YE)

Terminal Part Information

  • Terminal/Tray: Serviced with Terminated Lead
  • Core/Insulation Crimp: N/A
  • Release Tool/Test Probe: See Terminal Repair Kit

Inflatable Restraint Sensing and Diagnostic Module (SDM)

Pin

Wire

Circuit

Function

1

0.35 RD/WH

1240

Battery Positive Voltage

2

0.35 D-GN/YE

5060

Low Speed GMLAN Serial Data

3

0.35 PK

5057

Low Reference

4

0.35 TN/WH

238

Seat Belt Switch - Left

5

--

--

Not Used

6

0.35 OG

1362

Seat Belt Switch - Right - Signal

7

--

--

Not Used

8-11

--

--

Not Available

12

0.5 PU

3026

Instrument Panel Module Stage 2 Low Control

13

0.5 GY

3027

Instrument Panel Module Stage 2 High Control

14

0.5 TN

3021

Steering Wheel Module - Stage 1 High Control

15

0.5 BN

3020

Steering Wheel Module - Stage 1 Low Control

16

0.5 PK

3022

Steering Wheel Module - Stage 2 Low Control

17

0.5 WH

3023

Steering Wheel Module - Stage 2 High Control

18

0.5 YE

3025

Instrument Panel Module - Stage 1 High Control

19

0.5 OG

3024

Instrument Panel Module - Stage 1 Low Control

20-30

--

--

Not Available

31

0.5 BK/WH

351

Ground

32

--

--

Not Available

33

0.35 PK

1339

Ignition 1 Voltage

34-35

--

--

Not Available

36

0.5 GY

5600

Front End Sensor - Voltage - Right

37

0.5 YE/BK

2160

Front End Sensor - Signal - Right

38

0.5 YE

1834

Front End Sensor - Voltage - Left

39

0.5 TN/OG

5045

Front End Sensor - Signal - Left

40-51

--

--

Not Available

52

0.5 L-GN

2116

Seat Belt Pretensioner - Right - High Control

53

0.5 OG

2117

Seat Belt Pretensioner - Right - Low Control

54-55

--

--

Not Available

56

0.5 TN/WH

2118

Seat Belt Pretensioner - Left - High Control

57

0.5 OG/BK

2119

Seat Belt Pretensioner - Left - Low Control

58-59

--

--

Not Available

60

0.35 PK

5018

Occupant Sensor Serial Data

Inflatable Restraint Steering Wheel Module X1


Object Number: 966373  Size: CH

Connector Part Information

  • OEM: 15359118
  • Service: See Catalog
  • Description: 2-Way F Micro-Pack 100 Series (GY) With (WH) Case

Terminal Part Information

  • Terminal/Tray: Serviced with Pigtail
  • Core/Insulation Crimp: N/A
  • Release Tool/Test Probe: N/A

Inflatable Restraint Steering Wheel Module X1

Pin

Wire

Circuit

Function

A

0.5 TN

3021

Steering Wheel Module - Stage 1 - High Control

B

0.5 BN

3020

Steering Wheel Module - Stage 1 - Low Control

Inflatable Restraint Steering Wheel Module X2


Object Number: 966373  Size: CH

Connector Part Information

  • OEM: 15359118
  • Service: See Catalog
  • Description: 2-Way F Micro-Pack 100 Series (GY) With (PK) Case

Terminal Part Information

  • Terminal/Tray: Serviced with Pigtail
  • Core/Insulation Crimp: N/A
  • Release Tool/Test Probe: N/A

Inflatable Restraint Steering Wheel Module X2

Pin

Wire

Circuit

Function

A

0.5 WH

3023

Steering Wheel Module - Stage 2 - High Control

B

0.5 PK

3022

Steering Wheel Module - Stage 2 - Low Control

Inflatable Restraint Steering Wheel Module Coil X1


Object Number: 1593397  Size: CH

Connector Part Information

  • OEM: 15393433
  • Description: 10-Way F Micro-Pack 064 Series, Unsealed (BK)

Terminal Part Information

  • Pins: C, D, E, F, G, H, J, K
  • Terminal/Tray: 12177007/19
  • Core/Insulation Crimp: E/2
  • Release Tool/Test Probe: 12180559-1/J-35616-64B (L-BU)

Inflatable Restraint Steering Wheel Module Coil X1

Pin

Wire

Circuit

Function

A-B

--

--

Not Used

C

0.35 PK

1539

Ignition 1 Voltage

D

0.35 GY

1884

Cruise Control Switch Signal (K34)

E

0.35 D-BU

1796

Steering Wheel Controls Signal (UK3)

F

0.35 WH/BK

644

10-Volt Reference

G

0.35 GY

1458

Instrument Panel Lamp Supply Voltage (UK3)

H

0.35 D-GN/WH

1358

Driver Information Center Switch Signal

J

0.35 BN

28

Horn Relay Control

K

0.35 BK

1150

Ground

Inflatable Restraint Steering Wheel Module Coil X2


Object Number: 1593397  Size: CH

Connector Part Information

  • OEM: 15393433
  • Description: 10-Way F Micro-Pack 064 Series, Unsealed (BK)

Terminal Part Information

  • Pins: C, D, E, F, G, H, J, K
  • Terminal/Tray: 12177007/19
  • Core/Insulation Crimp: E/2
  • Release Tool/Test Probe: 12180559-1/J-35616-64B (L-BU)

Inflatable Restraint Steering Wheel Module Coil X2

Pin

Wire

Circuit

Function

A-B

--

--

Not Used

C

0.35 PK

1539

Ignition 1 Voltage

D

0.35 GY

1884

Cruise Control Switch Signal (K34)

E

0.35 D-BU

1796

Steering Wheel Controls Signal (UK3)

F

0.35 WH/BK

644

10-Volt Reference (UK3)

G

0.35 GY/BK

1458

Instrument Panel Lamp Supply Voltage - 4

H

0.35 D-GN/WH

1358

Driver Information Center Switch Signal

J

0.35 TN

28

Horn Relay Control

K

0.5 BK

1150

Ground

Inflatable Restraint Steering Wheel Module Coil X3


Object Number: 1399226  Size: CH

Connector Part Information

  • OEM: 15393421
  • Description: 4-Way F Micro-Pack 064 (YE)

Terminal Part Information

  • Terminal/Tray: Serviced with Pigtail
  • Core/Insulation Crimp: N/A
  • Release Tool/Test Probe: N/A

Inflatable Restraint Steering Wheel Module Coil X3

Pin

Wire

Circuit

Function

1

0.5 BN

3020

Steering Wheel Module - Stage 1 - Low Control

2

0.5 TN

3021

Steering Wheel Module - Stage 1 - High Control

3

0.5 PK

3022

Steering Wheel Module - Stage 2 - Low Control

4

0.5 WH

3023

Steering Wheel Module - Stage 2 High Control

Input Speed Sensor (ISS), Wiring Harness Side (M82)


Object Number: 800008  Size: CH

Connector Part Information

  • OEM: 12162201
  • Service: See Catalog
  • Description: 2-Way F Metri-Pack 150.2 Series P2S (NA)

Terminal Part Information

  • Terminal/Tray: Non-Serviceable
  • Core/Insulation Crimp: Non-Serviceable
  • Release Tool/Test Probe: Non-Serviceable

Input Speed Sensor (ISS), Wiring Harness Side (M82)

Pin

Wire

Circuit

Function

A

YE

1230

Automatic Transmission Input Speed Sensor High Signal

B

WH

1231

Automatic Transmission Input Speed Sensor Low Signal

Inside Rearview Mirror (ISRVM) (UE1)


Object Number: 655810  Size: CH

Connector Part Information

  • OEM: 917981-2 (Solstice) 15324871 (SKY)
  • Service: See Catalog
  • Description: 16-Way F Micro-Pack 100 Series (BK)

Terminal Part Information

  • Terminal/Tray: 175266-5/15
  • Core/Insulation Crimp: J/J
  • Release Tool/Test Probe: 15317247/J-35616-16 (L-GY)

Inside Rearview Mirror (ISRVM) (UE1)

Pin

Wire

Circuit

Function

1

0.5 GY

157

Courtesy Lamp Control

2-5

--

--

Not Used

6

0.5 D-BU/WH

149

Courtesy Lamp Supply

7

--

--

Not Used

8

0.5 BK

550

Ground

9-10

--

--

Not Used

11

0.35 D-GN/WH

2514

Key Pad Signal

12

0.35 L-GN/BK

2515

Key Pad Supply Voltage

13

--

--

Not Used

14

0.35 YE/BK

2516

Key Pad Green LED Signal

15

0.35 BN/WH

2517

Key Pad Red LED Signal

16

--

--

Not Used

Inside Rearview Mirror (ISRVM) (without UE1)


Object Number: 153632  Size: CH

Connector Part Information

  • OEM: 12124782
  • Service: 15306078
  • Description: 7-Way F VH Series (BK)

Terminal Part Information

  • Terminal/Tray: SVH-21T-P1.1/20
  • Core/Insulation Crimp: E/2
  • Release Tool/Test Probe: 12094429/J-35616-18 (BK)

Inside Rearview Mirror (ISRVM) (without UE1)

Pin

Wire

Circuit

Function

1

--

--

Not Used

2

0.5 BK

550

Ground

3-5

--

--

Not Used

6

0.5 GY

157

Courtesy Lamp Control

7

0.5 D-BU/WH

149

Courtesy Lamp Supply Voltage

Instrument Panel Cluster (IPC)


Object Number: 1592685  Size: CH

Connector Part Information

  • OEM: 15429805
  • Service: 89047195
  • Description: 16-Way F (NA)

Terminal Part Information

  • Pins: 1-3, 10-12
  • Terminal/Tray: See Terminal Repair Kit
  • Core/Insulation Crimp: See Terminal Repair Kit
  • Release Tool/Test Probe: See Terminal Repair Kit
  • Pins: 5, 6, 8, 9, 13, 14, 15, 16
  • Terminal/Tray: 15359541/4
  • Core/Insulation Crimp: M/M
  • Release Tool/Test Probe: 15381651-2/J-35616-64B (L-BU)

Instrument Panel Cluster (IPC)

Pin

Wire

Circuit

Function

1

0.35 L-GN/WH

5060

Low Speed GMLAN Serial Data

2

0.35 PK/BK

5982

PRNDL Lamp B Signal (M82)

3

0.35 PU/WH

5981

PRNDL Lamp A Signal (M82)

4

--

--

Not Used

5

0.35 D-GN/WH

1358

Driver Information Center Switch Signal

6

0.35 BN/WH

419

MIL Control

7

--

--

Not Used

8

0.35 GY

8

Instrument Panel Lamp Supply Voltage

9

0.35 D-GN/BK

5060

Low Speed GMLAN Serial Data

10

0.35 L-GN/WH

5984

PRNDL Lamp D Signal (M82)

11

0.35 PK

339

Ignition 1 Voltage

12

0.35 OG/BK

5983

PRNDL Lamp C Signal (M82)

13

0.35 RD/WH

1440

Battery Positive Voltage

14

0.35 D-GN

264

Security Indicator Supply Voltage

15

0.5 BK

1150

Ground

16

0.35 BK

550

Ground

Intake Air Pressure and Temperature Sensor (LNF)


Object Number: 38608  Size: CH

Connector Part Information

  • OEM: 12162187
  • Service: See Catalog
  • Description: 4-Way F Metri-Pack 150.2 Series Sealed, Pull to Seat (BK)

Terminal Part Information

  • Terminal/Tray: See Terminal Repair Kit
  • Core/Insulation Crimp: See Terminal Repair Kit
  • Release Tool/Test Probe: See Terminal Repair Kit

Intake Air Pressure and Temperature Sensor (LNF)

Pin

Wire

Circuit

Function

A

0.5 TN

407

Low Reference

B

0.5 L-BU

7329

Pre-Throttle Air Temp and Press (TMAP) Temperature Signal

C

0.5 GY

597

5-Volt Reference 1

D

0.5 PU

7330

Pre-Throttle Air Temp and Press (TMAP) Air Pressure Signal

Knock Sensor (LE5)


Object Number: 684799  Size: CH

Connector Part Information

  • OEM: 12077900
  • Service: 12116247
  • Description: 2-Way F Metri-Pack 280 Series Sealed (BK)

Terminal Part Information

  • Terminal/Tray: 12077411/2
  • Core/Insulation Crimp: 2/5
  • Release Tool/Test Probe: 12094430/J-35616-4A (PU)

Knock Sensor (LE5)

Pin

Wire

Circuit

Function

A

0.5 D-BU

496

Knock Sensor Signal

B

0.5 GY

1716

Knock Sensor Signal

Knock Sensor (KS) - 1 (LNF)


Object Number: 684799  Size: CH

Connector Part Information

  • OEM: 12077900
  • Service: See Catalog
  • Description: 2-Way F Metri-Pack 280 Series Sealed (BK)

Terminal Part Information

  • Terminal/Tray: See Terminal Repair Kit
  • Core/Insulation Crimp: See Terminal Repair Kit
  • Release Tool/Test Probe: See Terminal Repair Kit

Knock Sensor (KS) - 1 (LNF)

Pin

Wire

Circuit

Function

A

0.5 D-BU

496

Knock Sensor 1 Signal

B

0.5 GY

1716

Knock Sensor 1 Signal

Knock Sensor (KS) - 2 (LNF)


Object Number: 684799  Size: CH

Connector Part Information

  • OEM: 12077900
  • Service: See Catalog
  • Description: 2-Way F Metri-Pack 280 Series Sealed (BK)

Terminal Part Information

  • Terminal/Tray: See Terminal Repair Kit
  • Core/Insulation Crimp: See Terminal Repair Kit
  • Release Tool/Test Probe: See Terminal Repair Kit

Knock Sensor (KS) - 2 (LNF)

Pin

Wire

Circuit

Function

A

0.5 L-BU

1876

Knock Sensor 2 Signal

B

0.5 GY

2303

Knock Sensor 2 Signal

License Lamp


Object Number: 333041  Size: CH

Connector Part Information

  • OEM: 12162000
  • Service: 12167120
  • Description: 2-Way M Metri-Pack 280 Series, Sealed (BK)

Terminal Part Information

  • Terminal: See Terminal Repair Kit
  • Core/Insulation Crimp: See Terminal Repair Kit
  • Release Tool/Test Probe: See Terminal Repair Kit

License Lamp

Pin

Wire

Circuit

Function

A

0.5 BN

9

Tail/License Lamps Supply Voltage

B

0.5 BK

750

Ground

Manifold Absolute Pressure (MAP) Sensor (LE5)


Object Number: 1331443  Size: CH

Connector Part Information

  • OEM: 15365614
  • Service: See Catalog
  • Description: 3-Way F Kompakt 2.8 Series, Sealed (BK)

Terminal Part Information

  • Terminal/Tray: See Terminal Repair Kit
  • Core/Insulation Crimp: See Terminal Repair Kit
  • Release Tool/Test Probe: See Terminal Repair Kit

Manifold Absolute Pressure (MAP) Sensor (LE5)

Pin

Wire

Circuit

Function

1

0.5 GY

2704

5-Volt Reverence 2

2

0.5 OG/BK

469

Low Reference

3

0.5 L-GN

432

Manifold Absolute Pressure Sensor Signal

Manifold Absolute Pressure (MAP) Sensor (LNF)


Object Number: 1826292  Size: CH

Connector Part Information

  • OEM: 184032-1
  • Service: See Catalog
  • Description: 3-Way F SSC Sealed Series (BK)

Terminal Part Information

  • Terminal/Tray: See Terminal Repair Kit
  • Core/Insulation Crimp: See Terminal Repair Kit
  • Release Tool/Test Probe: See Terminal Repair Kit

Manifold Absolute Pressure (MAP) Sensor (LNF)

Pin

Wire

Circuit

Function

1

0.5 GY

597

5-Volt Reference 1

2

0.5 TN

407

Low Reference

3

0.5 L-GN

432

Manifold Absolute Pressure Sensor Signal

Marker Lamp - Left Front


Object Number: 1413080  Size: CH

Connector Part Information

  • OEM: 7223-1324-60
  • Service: 88988460
  • Description: 2-Way F 090 Series (GN)

Terminal Part Information

  • Terminal/Tray: 7116-1420/11
  • Core/Insulation Crimp: E/1
  • Release Tool/Test Probe: 15315247/J-35616-18 (BK)

Marker Lamp - Left Front

Pin

Wire

Circuit

Function

1

0.5 BN

9

Tail/License Lamps Supply Voltage

2

0.5 BK

150

Ground

Marker Lamp - Left Rear (SKY)


Object Number: 1413080  Size: CH

Connector Part Information

  • OEM: 7223-1324-60
  • Service: 88988460
  • Description: 2-Way F 090 Series (GN)

Terminal Part Information

  • Terminal/Tray: 7116-1420/11
  • Core/Insulation Crimp: E/1
  • Release Tool/Test Probe: 15315247/J-35616-18 (BK)

Marker Lamp - Left Rear (SKY)

Pin

Wire

Circuit

Function

1

0.5 BN

9

Tail/License Lamps Supply Voltage

2

0.5 BK

1050

Ground

Marker Lamp - Right Front


Object Number: 1413080  Size: CH

Connector Part Information

  • OEM: 7223-1324-60
  • Service: 88988460
  • Description: 2-Way F 090 Series (GN)

Terminal Part Information

  • Terminal/Tray: 7116-1420/11
  • Core/Insulation Crimp: E/1
  • Release Tool/Test Probe: 15315247/J-35616-18 (BK)

Marker Lamp - Right Front

Pin

Wire

Circuit

Function

1

0.5 BN

9

Tail/License Lamps Supply Voltage

2

0.5 BK

250

Ground

Marker Lamp - Right Rear (SKY)


Object Number: 1413080  Size: CH

Connector Part Information

  • OEM: 7223-1324-60
  • Service: 88988460
  • Description: 2-Way F 090 Series (GN)

Terminal Part Information

  • Terminal/Tray: 7116-1420/11
  • Core/Insulation Crimp: E/1
  • Release Tool/Test Probe: 15315247/J-35616-18 (BK)

Marker Lamp - Right Rear (SKY)

Pin

Wire

Circuit

Function

1

0.5 BN

9

Tail/License Lamps Supply Voltage

2

0.5 BK

750

Ground

Mass Air Flow (MAF)/Intake Air Temperature (IAT) Sensor


Object Number: 647974  Size: CH

Connector Part Information

  • OEM: 13519051
  • Service: 88987186
  • Description: 5-Way F GT 150 Series Sealed (BK)

Terminal Part Information

  • Terminal/Tray: 12191819/8
  • Core/Insulation Crimp: E/A
  • Release Tool/Test Probe: 15315247/J-35616-2A (GY)

Mass Air Flow (MAF)/Intake Air Temperature (IAT) Sensor

Pin

Wire

Circuit

Function

A

0.35 YE

492

Mass Air Flow Sensor Signal

B

0.35 BK/WH

451

Ground

C

0.35 PK/BK

5291

Ignition 1 Voltage

D

0.35 TN

2760

Low Reference

E

0.35 L-BU

6289

Induction Air Temperature Sensor Signal

Mode Actuator


Object Number: 258172  Size: CH

Connector Part Information

  • OEM: 12064982
  • Service: 12102633
  • Description: 5-Way F Micro-Pack 100 Series (BK)

Terminal Part Information

  • Terminal/Tray: 12146447/3
  • Core/Insulation Crimp: E/C
  • Release Tool/Test Probe: 12031876-1/J-35616-6 (BN)

Mode Actuator

Pin

Wire

Circuit

Function

1

0.35 YE

1791

Low Reference

2

0.35 L-GN/BK

2276

Defrost Door Position Signal

3

0.35 L-BU/BK

1688

5-Volt Reference

4

0.35 TN

2273

Mode Door Control

5

0.35 L-GN

2275

Mode Door Position Signal

Output Speed Sensor (OSS), Wiring Harness Side (M82)


Object Number: 800008  Size: CH

Connector Part Information

  • OEM: 12162201
  • Service: See Catalog
  • Description: 2-Way F Metri-Pack 150.2 Series P2S (NA)

Terminal Part Information

  • Terminal/Tray: Non-Serviceable
  • Core/Insulation Crimp: Non-Serviceable
  • Release Tool/Test Probe: Non-Serviceable

Output Speed Sensor (OSS), Wiring Harness Side (M82)

Pin

Wire

Circuit

Function

A

OG

400

Vehicle Speed Sensor High Signal

B

WH

401

Vehicle Speed Sensor Low Signal

Outside Air Temperature Sensor (SKY)


Object Number: 684793  Size: CH

Connector Part Information

  • OEM: 12052642
  • Service: See Catalog
  • Description: 2-Way F Metri-Pack 150 Series, Sealed (L-GN)

Terminal Part Information

  • Terminal/Tray: 12048074/2
  • Core/Insulation Crimp: E/1
  • Release Tool/Test Probe: 12094429/J-35616-2A (GY)

Outside Air Temperature Sensor (SKY)

Pin

Wire

Circuit

Function

A

0.5 D-GN/WH

636

Ambient Air Temperature Signal

B

0.5 YE

61

Low Reference

Outside Rearview Mirror - Driver (D48)


Object Number: 1593392  Size: CH

Connector Part Information

  • OEM: E-5965-003
  • Service: 88988356
  • Description: 3-Way M 1.5 Series, Sealed (BK)

Terminal Part Information

  • Terminal/Tray: 7114-4102-08/9
  • Core/Insulation Crimp: E/1
  • Release Tool/Test Probe: 12094430/J-35616-3 (GY)

Outside Rearview Mirror - Driver (D48)

Pin

Wire

Circuit

Function

1

0.35 WH

81

Driver Mirror Motor Left Control (SKY)

0.35 L-BU

82

Driver Mirror Motor Left Control (Solstice)

2

0.35 TN

329

Driver Mirror Motor Supply Voltage

3

0.35 L-GN

89

Driver Mirror Motor Up Control (SKY)

0.35 YE

88

Driver Mirror Motor Up Control (Solstice)

Outside Rearview Mirror - Passenger (D48)


Object Number: 1593392  Size: CH

Connector Part Information

  • OEM: E-5965-003
  • Service: 88988356
  • Description: 3-Way M 1.5 Series, Sealed (BK)

Terminal Part Information

  • Pins: 1
  • Terminal/Tray: See Terminal Repair Kit
  • Core/Insulation Crimp: See Terminal Repair Kit
  • Release Tool/Test Probe: See Terminal Repair Kit
  • Pins: 2, 3
  • Terminal/Tray: 7114-4102-08/9
  • Core/Insulation Crimp: E/1
  • Release Tool/Test Probe: 12094430/J-35616-3 (GY)

Outside Rearview Mirror - Passenger (D48)

Pin

Wire

Circuit

Function

1

0.35 OG/WH

881

Passenger Mirror Motor Left Control (SKY)

0.35 GY

090

Passenger Mirror Motor Left Control (Solstice)

2

0.35 TN/WH

330

Passenger Mirror Motor Supply Voltage

3

0.35 PU/WH

889

Passenger Mirror Motor Up Control (SKY)

0.35 BN/WH

1498

Passenger Mirror Motor Left/Down Control (Solstice)

Outside Rearview Mirror Switch (D48)


Object Number: 62464  Size: CH

Connector Part Information

  • OEM: 12064769
  • Service: 12101762
  • Description: 10-Way F Metri-Pack 150 Series (NA)

Terminal Part Information

  • Pins: B, C, D, E, F, G, H, J, K
  • Terminal/Tray: 12064971/5
  • Core/Insulation Crimp: E/C
  • Release Tool/Test Probe: 12094429/J-35616-2A (GY)

Outside Rearview Mirror Switch (D48)

Pin

Wire

Circuit

Function

A

--

--

Not Used

B

0.35 BK

550

Ground

C

0.35 TN/WH

330

Passenger Mirror Motor Supply Voltage (SKY)

0.35 TN

329

Driver Mirror Motor Supply Voltage (Solstice)

D

0.35WH

81

Driver Mirror Motor Right Control (SKY)

0.35 GY

90

Passenger Mirror Motor Left Control (Solstice)

E

0.35 GY

8

Instrument Panel Lamp Supply Voltage

F

0.35 L-GN

89

Driver Mirror Motor Down Control (SKY)

0.35 BR/WH

1498

Passenger Mirror Motor Left/Down Control (Solstice)

G

0.35 RD/WH

440

Battery Positive Voltage

H

0.35 TN

329

Driver Mirror Motor Supply Voltage (SKY)

0.35 TN/WH

330

Passenger Mirror Motor Supply Voltage (Solstice)

J

0.35 OG/WH

881

Passenger Mirror Motor Right Control (SKY)

0.35 L-BU

82

Driver Mirror Motor Left Control (Solstice)

K

0.35 PU/WH

889

Passenger Mirror Motor Down Control (SKY)

0.35 YE

88

Driver Mirror Motor Up Control (Solstice)

Park Brake Switch


Object Number: 439818  Size: CH

Connector Part Information

  • OEM: 12047682
  • Service: 12101850
  • Description: 1-Way F Metri-Pack 150 Series (BK)

Terminal Part Information

  • Terminal/Tray: 12064971/5
  • Core/Insulation Crimp: E/C
  • Release Tool/Test Probe: 12094429/J-35616-2A (GY)

Park Brake Switch

Pin

Wire

Circuit

Function

A

0.5 L-BU

1134

Park Brake Switch Signal

Park Lamp - Left Front (SKY)


Object Number: 1625659  Size: CH

Connector Part Information

  • OEM: E-3550-000
  • Service: 89046838
  • Description: 2-Way F 1.5 Series, Sealed (BK)

Terminal Part Information

  • Terminal: Pin 1: 7116-4102-08/9Pin 2: 7116-4103-08/9
  • Core/Insulation Crimp: E/1
  • Release Tool/Test Probe: 12094430/J-35616-2A (GY)

Park Lamp - Left Front (SKY)

Pin

Wire

Circuit

Function

1

0.5 BN

9

Park Lamp Supply Voltage

2

0.8 BK

150

Ground

Park Lamp - Right Front (SKY)


Object Number: 1625659  Size: CH

Connector Part Information

  • OEM: E-3550-000
  • Service: 89046838
  • Description: 2-Way F 1.5 Series, Sealed (BK)

Terminal Part Information

  • Terminal: Pin 1: 7116-4102-08/9Pin 2: 7116-4103-08/9
  • Core/Insulation Crimp: E/1
  • Release Tool/Test Probe: 12094430/J-35616-2A (GY)

Park Lamp - Right Front (SKY)

Pin

Wire

Circuit

Function

1

0.5 BN

9

Park Lamp Supply Voltage

2

0.8 BK

250

Ground

Park/Turn Signal Lamp - Left (Solstice)


Object Number: 1717007  Size: CH

Connector Part Information

  • OEM: 16530673
  • Service: See Catalog
  • Description: 3-Way F W3 Socket (WH)

Terminal Part Information

  • Terminal/Tray: See Terminal Repair Kit
  • Core/Insulation Crimp: See Terminal Repair Kit
  • Release Tool/Test Probe: See Terminal Repair Kit

Park/Turn Signal Lamp - Left (Solstice)

Pin

Wire

Circuit

Function

A

0.5 L-BU

14

Left Turn Signal Lamps Supply Voltage

B

0.5 BN

9

Tail/License Lamps Supply Voltage

G

0.5 BK

150

Ground (T96)

0.5 BK

150

Ground

Park/Turn Signal Lamp - Right (Solstice)


Object Number: 1717007  Size: CH

Connector Part Information

  • OEM: 16530673
  • Service: See Catalog
  • Description: 3-Way F W3 Socket (WH)

Terminal Part Information

  • Terminal/Tray: See Terminal Repair Kit
  • Core/Insulation Crimp: See Terminal Repair Kit
  • Release Tool/Test Probe: See Terminal Repair Kit

Park/Turn Signal Lamp - Right (Solstice)

Pin

Wire

Circuit

Function

A

0.5 D-BU

15

Right Turn Signal Lamps Supply Voltage

B

0.5 BN

9

Tail/License Lamps Supply Voltage

G

0.5 BK

250

Ground (T96)

0.5 BK

250

Ground

Pressure Control (PC) Solenoid Valve, Wiring Harness Side (M82)


Object Number: 799985  Size: CH

Connector Part Information

  • OEM: 12146094
  • Service: See Catalog
  • Description: 2-Way F Metri-Pack 150.2 Series P2S (GY)

Terminal Part Information

  • Terminal/Tray: Non-Serviceable
  • Core/Insulation Crimp: Non-Serviceable
  • Release Tool/Test Probe: Non-Serviceable

Pressure Control (PC) Solenoid Valve, Wiring Harness Side (M82)

Pin

Wire

Circuit

Function

A

GN

1228

Pressure Control Solenoid Valve High Control

B

WH

1229

Pressure Control Solenoid Valve Low Control

Radio - X1


Object Number: 1711013  Size: CH

Connector Part Information

  • OEM: 7283-9076-30
  • Service: See Catalog
  • Description: 16-Way F Kaizen 0.64 Series (BK)

Terminal Part Information

  • Pins: 1, 2, 3, 4, 4, 5, 5, 6, 6, 7, 7, 8, 9, 14, 15, 16
  • Terminal/Tray: 15359541/4
  • Core/Insulation Crimp: M/M
  • Release Tool/Test Probe: 15381651-2/J-35616-64B (L-BU)

Radio - X1

Pin

Wire

Circuit

Function

1

0.5 BN/WH

367

Left Audio Signal (+) (U2K with UQ3)

2

0.5 D-GN/WH

368

Right Audio Signal (+) (1) (U2K with UQ3)

3

0.35 PK

314

Radio On Signal (UQ3)

4

0.5 L-BU

115

Right Rear Speaker Output (-) (UW5)

0.5 TN

1946

Right Rear Low Level Audio Signal (-) (UQ3)

5

0.5 D-BU

46

Right Rear Speaker Output (+) (UW5)

0.5 D-BU

546

Right Rear Low Level Audio Signal (+) (UQ3)

6

0.5 YE

116

Left Rear Speaker Output (-) (UW5)

0.5 BN

1999

Left Rear Low Level Audio Signal (-) (UQ3)

7

0.5 BN

199

Left Rear Speaker Output (+) (UW5)

0.5 BN/WH

599

Left Rear Low Level Audio Signal (+) (UQ3)

8

0.5 PK/BK

2062

Navigation Mono Audio Signal (+)

9

0.5 TN/WH

372

Audio Common (U2K with UQ3)

10-13

--

--

Not Used

14

0.35 WH/BK

644

10-Volt Reference (UK3)

15

0.35 L-GN

1011

Remote Radio Control Signal (UQ3)

16

0.5 OG/BK

2061

Navigation Mono Audio Signal (-)

Radio - X2


Object Number: 1664602  Size: CH

Connector Part Information

  • OEM: 7283-4490-30
  • Service: See Catalog
  • Description: 14-Way F (BK)

Terminal Part Information

  • Pins: 1, 1, 8
  • Terminal/Tray: 12191812/19
  • Core/Insulation Crimp: See Terminal Repair Kit
  • Release Tool/Test Probe: 15315247/J-35616-2A (GY)
  • Pins: 4, 4, 5, 5, 6, 6, 7, 7, 9, 11
  • Terminal/Tray: 15359541/4
  • Core/Insulation Crimp: M/M
  • Release Tool/Test Probe: 15381651-2/J-35616-64B (L-BU)

Radio - X2

Pin

Wire

Circuit

Function

1

0.8 RD/WH

1140

Battery Positive Voltage

2-3

--

--

Not Used

4

0.5 D-GN

117

Right Front Speaker Output (-) (UW5)

0.5 L-GN

1948

Right Front Low Level Audio Signal (-) (UQ3)

5

0.5 L-GN

200

Right Front Speaker Output (+) (UW5)

0.5 L-GN/WH

512

Right Front Low Level Audio Signal (+) (UQ3)

6

0.5 GY

118

Left Front Speaker Output (-) (UW5)

0.5 D-GN

1947

Left Front Low Level Audio Signal (-) (UQ3)

7

0.5 TN

201

Left Front Speaker Output (+) (UW5)

0.5 TN

511

Left Front Low Level Audio Signal (+) (UQ3)

8

0.8 BK/WH

551

Ground

9

0.35 D-GN/WH

5060

Low Speed GMLAN Serial Data

10

--

--

Not Used

11

0.35 D-BU

1796

Steering Column Controls Signal

12-14

--

--

Not Used

Rear Compartment Courtesy Lamp


Object Number: 82383  Size: CH

Connector Part Information

  • OEM: 12047662
  • Service: 12085535
  • Description: 2-Way F Metri-Pack 150 Series (BK)

Terminal Part Information

  • Terminal/Tray: 12064971/5
  • Core/Insulation Crimp: E/C
  • Release Tool/Test Probe: 12094429/J-35616-2A (GY)

Rear Compartment Courtesy Lamp

Pin

Wire

Circuit

Function

A

0.5 BK

750

Ground

B

0.5 OG/BK

737

Rear Compartment Lamp Control

Rear Compartment Lid Ajar Switch


Object Number: 1542255  Size: CH

Connector Part Information

  • OEM: 12129082
  • Service: 15305896
  • Description: 2-Way F Metri-Pack 280 Series, Flexlock (GY)

Terminal Part Information

  • Pins: A, B
  • Terminal/Tray: 12110844/4
  • Core/Insulation Crimp: Pins: E/C
  • Core/Insulation Crimp: Pins: E/A
  • Release Tool/Test Probe: 15315247/J-35616-4A (PU)

Rear Compartment Lid Ajar Switch

Pin

Wire

Circuit

Function

A

0.35 OG/BK

744

Rear Compartment Lid Ajar Switch Signal

B

0.5 BK

850

Ground

Rear Compartment Lid Latch Release Actuator


Object Number: 153645  Size: CH

Connector Part Information

  • OEM: 12129081
  • Service: 12129081
  • Description: 2-Way F Metri-Pack 280 Series, Flexlock (BK)

Terminal Part Information

  • Terminal/Tray: 12110844/4
  • Core/Insulation Crimp: C/A
  • Release Tool/Test Probe: 15315247/J-35616-4A (PU)

Rear Compartment Lid Latch Release Actuator

Pin

Wire

Circuit

Function

A

1.0 TN/WH

56

Rear Compartment Lid Release Motor Supply Voltage

B

1.0 BK

850

Ground

Rear Compartment Lid Release Switch


Object Number: 39660  Size: CH

Connector Part Information

  • OEM: 12044785
  • Service: 12102900
  • Description: 4-Way F Metri-Pack 150 Series (BK)

Terminal Part Information

  • Pins: A, C
  • Terminal/Tray: 12064971/5
  • Core/Insulation Crimp: E/C
  • Release Tool/Test Probe: 12094429/J-35616-2A

Rear Compartment Lid Release Switch

Pin

Wire

Circuit

Function

A

0.35 BK/WH

651

Ground

B

--

--

Not Used

C

0.35 TN

1576

Rear Compartment Lid Release Actuator

D

--

--

Not Used

Rear Window Defogger Grid X1


Object Number: 35348  Size: CH

Connector Part Information

  • OEM: 12004267
  • Service: 08911256
  • Description: 1-Way F 56 Series Lock Type (BK)

Terminal Part Information

  • Terminal/Tray: 12124515/1
  • Core/Insulation Crimp: C/D
  • Release Tool/Test Probe: 12094430/J-35616-42 (RD)

Rear Window Defogger Grid X1

Pin

Wire

Circuit

Function

A

1.0 PU

293

Rear Defog Element Supply Voltage

Rear Window Defogger Grid X2


Object Number: 35348  Size: CH

Connector Part Information

  • OEM: 12004267
  • Service: 08911256
  • Description: 1-Way F 56 Series Lock Type (BK)

Terminal Part Information

  • Terminal/Tray: 12124515/1
  • Core/Insulation Crimp: C/D
  • Release Tool/Test Probe: 12094430/J-35616-42 (RD)

Rear Window Defogger Grid X2

Pin

Wire

Circuit

Function

A

1.0 BK

850

Ground

Recirculation Actuator


Object Number: 258172  Size: CH

Connector Part Information

  • OEM: 12064982
  • Service: 12102633
  • Description: 5-Way F Micro-Pack 100 Series (BK)

Terminal Part Information

  • Pins: 4, 5
  • Terminal/Tray: 12146447/3
  • Core/Insulation Crimp: E/C
  • Release Tool/Test Probe: 12031876-1/J35616-6 (BN)

Recirculation Actuator

Pin

Wire

Circuit

Function

1-3

--

--

Not Used

4

0.35 L-BU

1614

Recirculation Door Control

5

0.35 L-GN

2274

Recirculation Door Control Circuit

Remote Control Door Lock Receiver (RCDLR) (AU3/AU0)


Object Number: 1580055  Size: CH

Connector Part Information

  • OEM: HCMPB-04-K
  • Service: See Catalog
  • Description: 4-Way F HCM Series (BK)

Terminal Part Information

  • Pins: 1, 2, 4
  • Terminal/Tray: 12146447/3
  • Core/Insulation Crimp: E/C
  • Release Tool/Test Probe: 12031876-1/J-35616-6 (BN)

Remote Control Door Lock Receiver (RCDLR) (AU3/AU0)

Pin

Wire

Circuit

Function

1

0.5 BK/WH

851

Ground

2

0.35 D-GN/RD

5060

Low Speed GMLAN Serial Data

3

--

--

Not Used

4

0.35 RD/WH

1340

Battery Positive Voltage

Seat Adjuster Switch - Driver (AF2)


Object Number: 73146  Size: CH

Connector Part Information

  • OEM: 12052854
  • Service: 88953358
  • Description: 7-Way F Metri-Pack 280 Series (BK)

Terminal Part Information

  • Terminal/Tray: 12015858/4
  • Core/Insulation Crimp: F/G
  • Release Tool/Test Probe: 12094430/35616-4A (PU)

Seat Adjuster Switch - Driver (AF2)

Pin

Wire

Circuit

Function

A

2.0 BK

550

Ground

B

2.0 D-BU

287

Driver Seat Front Vertical Motor Down Control

C

2.0 D-GN

286

Driver Seat Front Vertical Motor Up Control

D-E

--

--

Not Used

F

2.0 RD/BK

642

Battery Positive Voltage

G

2.0 BK

550

Ground

Seat Belt Pretensioner - Driver (Solstice)


Object Number: 878503  Size: CH

Connector Part Information

  • OEM: 1376030-1
  • Service: See Catalog
  • Description: 2-Way F Squib Unsealed (YE)

Terminal Part Information

  • Terminal/Tray: See Terminal Repair Kit
  • Core/Insulation Crimp: See Terminal Repair Kit
  • Release Tool/Test Probe: See Terminal Repair Kit

Seat Belt Pretensioner - Driver (Solstice)

Pin

Wire

Circuit

Function

1

0.5 OG/BK

2119

Seat Belt Pretensioner - Driver - Low Control

2

0.5 TN/WH

2118

Seat Belt Pretensioner - Driver - High Control

Seat Belt Pretensioner - Driver (SKY)


Object Number: 1593399  Size: CH

Connector Part Information

  • OEM: 15380395
  • Service: See Catalog
  • Description: 2-Way F (GY)

Terminal Part Information

  • Terminal/Tray: See Terminal Repair Kit
  • Core/Insulation Crimp: See Terminal Repair Kit
  • Release Tool/Test Probe: See Terminal Repair Kit

Seat Belt Pretensioner - Driver (SKY)

Pin

Wire

Circuit

Function

1

0.5 OG/BK

2119

Seat Belt Pretensioner - Driver - Low Control

2

0.5 TN/WH

2118

Seat Belt Pretensioner - Driver - High Control

Seat Belt Pretensioner - Passenger


Object Number: 878503  Size: CH

Connector Part Information

  • OEM: 1376030-1
  • Service: See Catalog
  • Description: 2-Way F Squib Unsealed (YE)

Terminal Part Information

  • Terminal/Tray: See Terminal Repair Kit
  • Core/Insulation Crimp: See Terminal Repair Kit
  • Release Tool/Test Probe: See Terminal Repair Kit

Seat Belt Pretensioner - Passenger

Pin

Wire

Circuit

Function

1

0.5 OG

2117

Seat Belt Pretensioner - Passenger - Low Control

2

0.5 L-GN

2116

Seat Belt Pretensioner - Passenger - High Control

Seat Belt Switch - Driver


Object Number: 1243663  Size: CH

Connector Part Information

  • OEM: 15332132
  • Service: 88953364
  • Description: 3-Way F GT 150 Series (BK)

Terminal Part Information

  • Pins: A, C
  • Terminal/Tray: 12191812/19
  • Core/Insulation Crimp: E/C
  • Release Tool/Test Probe: 15315247/J-35616-2A (GY)

Seat Belt Switch - Driver

Pin

Wire

Circuit

Function

A

0.35 TN/WH

238

Seat Belt Switch - Left

B

--

--

Not Used

C

0.35 PK

5057

Low Reference

Seat Belt Switch - Passenger


Object Number: 1391783  Size: CH

Connector Part Information

  • OEM: 15332133
  • Service: 88987881
  • Description: 3-Way F GT 150 Series (BK)

Terminal Part Information

  • Pins: A, C
  • Terminal/Tray: 15304702/19
  • Core/Insulation Crimp: E/C
  • Release Tool/Test Probe: 15315247/J-35616-3 (GY)

Seat Belt Switch - Passenger

Pin

Wire

Circuit

Function

A

0.35 OG

1362

Seat Belt Switch - Right - Signal

B

--

--

Not Used

C

0.35 PK

5057

Low Reference

Seat Front Vertical Motor - Driver (AF2)


Object Number: 1830207  Size: CH

Connector Part Information

  • OEM: 1379217-3
  • Service: Not Serviced
  • Description: 5-Way F MQS/MPQ Mixed Series (BK)

Terminal Part Information

  • Terminal/Tray: 968075-5/17
  • Core/Insulation Crimp: 2/4
  • Release Tool/Test Probe: 12031876-1/J-35616-4A (PU)

Seat Front Vertical Motor - Driver (AF2)

Pin

Wire

Circuit

Function

1

2.0 D-GN

286

Driver Seat Front Vertical Motor Up Control

2-4

--

--

Not Used

5

2.0 D-BU

287

Driver Seat Front Vertical Motor Down Control

Speaker - Left Front (UQ3)


Object Number: 130724  Size: CH

Connector Part Information

  • OEM: 12064869
  • Service: 12117323
  • Description: 2-Way F Metri-Pack 150 Series (BU)

Terminal Part Information

  • Terminal/Tray: 12047767/2
  • Core/Insulation Crimp: E/A
  • Release Tool/Test Probe: 12094429/J-35616-2A (GY)

Speaker - Left Front (UQ3)

Pin

Wire

Circuit

Function

A

0.8 GY

118

Left Front Speaker Output (-)

B

0.8 TN

201

Left Front Speaker Output (+)

Speaker - Left Front (UW5)


Object Number: 280768  Size: CH

Connector Part Information

  • OEM: 12052832
  • Service: 12101825
  • Description: 2-Way F Metri-Pack 150 Series (BK)

Terminal Part Information

  • Terminal/Tray: 12047767/2
  • Core/Insulation Crimp: E/A
  • Release Tool/Test Probe: 12094429/J-35616-2A (GY)

Speaker - Left Front (UW5)

Pin

Wire

Circuit

Function

A

0.8 GY

118

Left Front Speaker Output (-)

B

0.8 TN

201

Left Front Speaker Output (+)

Speaker - Left Rear (UQ3)


Object Number: 280768  Size: CH

Connector Part Information

  • OEM: 12052832
  • Service: 12101825
  • Description: 2-Way F Metri-Pack 150 Series (BK)

Terminal Part Information

  • Terminal/Tray: 12047767/2
  • Core/Insulation Crimp: E/A
  • Release Tool/Test Probe: 12094429/J-35616-2A (GY)

Speaker - Left Rear (UQ3)

Pin

Wire

Circuit

Function

A

0.8 YE

116

Left Rear Speaker Output (-)

B

0.8 BN

199

Left Rear Speaker Output (+)

Speaker - Left Rear (UW5)


Object Number: 130724  Size: CH

Connector Part Information

  • OEM: 12064869
  • Service: 12117323
  • Description: 2-Way F Metri-Pack 150 Series (BU)

Terminal Part Information

  • Terminal/Tray: 12064971/5
  • Core/Insulation Crimp: E/C
  • Release Tool/Test Probe: 12094429/J-35616-2A (GY)

Speaker - Left Rear (UW5)

Pin

Wire

Circuit

Function

A

0.5 YE

116

Left Rear Speaker Output (-)

B

0.5 BN

199

Left Rear Speaker Output (+)

Speaker - Left Tweeter


Object Number: 280768  Size: CH

Connector Part Information

  • OEM: 12052832
  • Service: 12101825
  • Description: 2-Way F Metri-Pack 150 Series (BK)

Terminal Part Information

  • Terminal/Tray: 12047767/2
  • Core/Insulation Crimp: E/A
  • Release Tool/Test Probe: 12094429/J-35616-2A (GY)

Speaker - Left Tweeter

Pin

Wire

Circuit

Function

A

0.8 TN

1856

Left Tweeter Output (+) (UQ3)

0.8 GY

118

Left Front Speaker Output (-) (UW5)

B

0.8 YE

1956

Left Tweeter Output (-) (UQ3)

0.8 TN

201

Left Front Speaker Output (+) (UW5)

Speaker - Right Front (UQ3)


Object Number: 130724  Size: CH

Connector Part Information

  • OEM: 12064869
  • Service: 12117323
  • Description: 2-Way F Metri-Pack 150 Series (BU)

Terminal Part Information

  • Terminal/Tray: 12047767/2
  • Core/Insulation Crimp: E/A
  • Release Tool/Test Probe: 12094429/J-35616-2A (GY)

Speaker - Right Front (UQ3)

Pin

Wire

Circuit

Function

A

0.8 D-GN

117

Right Front Speaker Output (-)

B

0.8 L-GN

200

Right Front Speaker Output (+)

Speaker - Right Front (UW5)


Object Number: 280768  Size: CH

Connector Part Information

  • OEM: 12052832
  • Service: 12101825
  • Description: 2-Way F Metri-Pack 150 Series (BK)

Terminal Part Information

  • Terminal/Tray: 12047767/2
  • Core/Insulation Crimp: E/A
  • Release Tool/Test Probe: 12094429/J-35616-2A (GY)

Speaker - Right Front (UW5)

Pin

Wire

Circuit

Function

A

0.8 D-GN

117

Right Front Speaker Output (-)

B

0.8 L-GN

200

Right Front Speaker Output (+)

Speaker - Right Rear (UQ3)


Object Number: 280768  Size: CH

Connector Part Information

  • OEM: 12052832
  • Service: 12101825
  • Description: 2-Way F Metri-Pack 150 Series (BK)

Terminal Part Information

  • Terminal/Tray: 12047767/2
  • Core/Insulation Crimp: E/A
  • Release Tool/Test Probe: 12094429/J-35616-2A (GY)

Speaker - Right Rear (UQ3)

Pin

Wire

Circuit

Function

A

0.8 L-BU

115

Right Rear Speaker Output (-)

B

0.8 D-BU

46

Right Rear Speaker Output (+)

Speaker - Right Rear (UW5)


Object Number: 130724  Size: CH

Connector Part Information

  • OEM: 12064869
  • Service: 12117323
  • Description: 2-Way F Metri-Pack 150 Series (BU)

Terminal Part Information

  • Terminal/Tray: See Terminal Repair Kit
  • Core/Insulation Crimp: See Terminal Repair Kit
  • Release Tool/Test Probe: See Terminal Repair Kit

Speaker - Right Rear (UW5)

Pin

Wire

Circuit

Function

A

0.5 L-BU

115

Right Rear Speaker Output (-)

B

0.5 D-BU

46

Right Rear Speaker Output (+)

Speaker - Right Tweeter


Object Number: 280768  Size: CH

Connector Part Information

  • OEM: 12052832
  • Service: 12101825
  • Description: 2-Way F Metri-Pack 150 Series (BK)

Terminal Part Information

  • Terminal/Tray: 12047767/2
  • Core/Insulation Crimp: E/A
  • Release Tool/Test Probe: 12094429/J-35616-2A (GY)

Speaker - Right Tweeter

Pin

Wire

Circuit

Function

A

0.8 L-GN

1852

Right Tweeter Output (+) (UQ3)

0.8 D-GN

117

Right Front Speaker Output (-) (UW5)

B

0.8 PU

1952

Right Tweeter Output (-) (UQ3)

0.8 L-GN

200

Right Front Speaker Output (+) (UW5)

Speaker - Subwoofer (UQ3)


Object Number: 130637  Size: CH

Connector Part Information

  • OEM: 12064760
  • Service: 12085208
  • Description: 4-Way F Metri-Pack 150 Series (BK)

Terminal Part Information

  • Terminal/Tray: 12047767/2
  • Core/Insulation Crimp: E/A
  • Release Tool/Test Probe: 12094429/J-35616-2A (GY)

Speaker - Subwoofer (UQ3)

Pin

Wire

Circuit

Function

A

0.8 L-BU/BK

315

Right Subwoofer Speaker Output (-)

B

0.8 D-GN

1795

Right Subwoofer Speaker Output (+)

C

0.8 L-GN/BK

1794

Left Subwoofer Speaker Output (-)

D

0.8 D-BU/WH

346

Left Subwoofer Speaker Output (+)

Starter Motor X1


Object Number: 696940  Size: CH

Connector Part Information

  • OEM: 12089916
  • Service: See Catalog
  • Description: 1-Way F Metri-Pack 280 Series, Sealed (BK)

Terminal Part Information

  • Terminal/Tray: See Terminal Repair Kit
  • Core/Insulation Crimp: See Terminal Repair Kit
  • Release Tool/Test Probe: See Terminal Repair Kit

Starter Motor X1

Pin

Wire

Circuit

Function

A

2.0 PU

6

Starter Solenoid Crank Voltage

Starter Motor X2 (LE5)

Terminal Part Information

  • Terminal: 12103503
  • Description: Ring Terminal

Starter Motor X2 (LE5)

Pin

Wire

Circuit

Function

1

5 RD

2

Starter Solenoid Crank Voltage

Starter Motor X2 (LNF)

Terminal Part Information

  • Terminal: 12103502
  • Description: Ring Terminal

Starter Motor X2 (LNF)

Pin

Wire

Circuit

Function

1

8 RD

2

Starter Solenoid Crank Voltage

Steering Angle Sensor (JL9)


Object Number: 1835137  Size: CH

Connector Part Information

  • OEM: 1488752-1
  • Service: See Catalog
  • Description: 6-Way F 064 GET Series (BK)

Terminal Part Information

  • Terminal/Tray: See Terminal Repair Kit
  • Core/Insulation Crimp: See Terminal Repair Kit
  • Release Tool/Test Probe: See Terminal Repair Kit

Steering Angle Sensor (JL9)

Pin

Wire

Circuit

Function

1

0.5 D-GN

2087

12-Volt Reference

2

0.5 PK/BK

6434

Can Bus High Serial Data

3

0.5 PK/BK

6434

Can Bus High Serial Data

4

0.5 GY/BK

6435

Can Bus Low Serial Data

5

0.5 GY/BK

6435

Can Bus Low Serial Data

6

0.5 L-BU

2088

Low Reference

Steering Wheel Control Switch - Left (K34)


Object Number: 1333392  Size: CH

Connector Part Information

  • OEM: 50-57-9407
  • Service: 88988695
  • Description: 7-Way F SL Series Unsealed (BK)

Terminal Part Information

  • Pins: 3, 4, 5, 6, 7
  • Terminal/Tray: See Terminal Repair Kit
  • Core/Insulation Crimp: See Terminal Repair Kit
  • Release Tool/Test Probe: See Terminal Repair Kit

Steering Wheel Control Switch - Left (K34)

Pin

Wire

Circuit

Function

1

0.35 D-GN/WH

1358

Driver Information Center Switch Signal

2

--

--

Not Used

3

0.35 GY

8

Instrument Panel Lamp Supply Voltage

4

0.35 PK

1539

Ignition 1 Voltage

5

0.35 GY

1884

Cruise Control Switch Signal

6

--

--

Not Used

7

0.35 BK/WH

1150

Ground

Steering Wheel Control Switch - Right (UK3)


Object Number: 605502  Size: CH

Connector Part Information

  • OEM: 50-57-9404
  • Service: 88987918
  • Description: 4-Way F SL Series, Unsealed (BK)

Terminal Part Information

  • Terminal/Tray: See Terminal Repair Kit
  • Core/Insulation Crimp: See Terminal Repair Kit
  • Release Tool/Test Probe: See Terminal Repair Kit

Steering Wheel Control Switch - Right (UK3)

Pin

Wire

Circuit

Function

1

0.35 BK/WH

1150

Ground

2

0.35 WH/BK

644

10-Volt Reference

3

0.35 GY

8

Instrument Panel Lamp Supply Voltage

4

0.35 D-BU

1796

Steering Column Control Signal

Tail/Stop and Turn Signal Lamp - Left (SKY)


Object Number: 1413059  Size: CH

Connector Part Information

  • OEM: 6189-0319
  • Service: See Catalog
  • Description: 6-Way F TS 090 Series, Sealed (NA)

Terminal Part Information

  • Terminal/Tray: See Terminal Repair Kit
  • Core/Insulation Crimp: See Terminal Repair Kit
  • Release Tool/Test Probe: See Terminal Repair Kit

Tail/Stop and Turn Signal Lamp - Left (SKY)

Pin

Wire

Circuit

Function

1-2

--

--

Not Used

3

0.8 BN

9

Tail/License Lamps Supply Voltage

4

--

--

Not Used

5

0.8 BK

1050

Ground

6

0.8 YE

18

Left Rear Stop/Turn Lamp Supply Voltage

Tail/Stop and Turn Signal Lamp - Left (Solstice)


Object Number: 898467  Size: CH

Connector Part Information

  • OEM: 7900-1493-000
  • Service: See Catalog
  • Description: 3-Way F (BK)

Terminal Part Information

  • Terminal/Tray: 7116-4103-08/9
  • Core/Insulation Crimp: E/1
  • Release Tool/Test Probe: 12094430/J-35616-2A (GY)

Tail/Stop and Turn Signal Lamp - Left (Solstice)

Pin

Wire

Circuit

Function

1

0.8 YE

18

Left Rear Stop/Turn Lamp Supply Voltage

2

0.8 BN

9

Tail/License Lamps Supply Voltage

3

0.8 BK

1050

Ground

Tail/Stop and Turn Signal Lamp - Right (SKY)


Object Number: 1413059  Size: CH

Connector Part Information

  • OEM: 6189-0319
  • Service: See Catalog
  • Description: 6-Way F TS 090 Series, Sealed (NA)

Terminal Part Information

  • Terminal/Tray: See Terminal Repair Kit
  • Core/Insulation Crimp: See Terminal Repair Kit
  • Release Tool/Test Probe: See Terminal Repair Kit

Tail/Stop and Turn Signal Lamp - Right (SKY)

Pin

Wire

Circuit

Function

1-2

--

--

Not Used

3

0.8 BN

9

Tail/License Lamps Supply Voltage

4

--

--

Not Used

5

0.8 BK

750

Ground

6

0.8 YE

18

Right Rear Stop/Turn Lamp Supply Voltage

Tail/Stop and Turn Signal Lamp - Right (Solstice)


Object Number: 898467  Size: CH

Connector Part Information

  • OEM: 7900-1493-000
  • Service: See Catalog
  • Description: 3-Way F (BK)

Terminal Part Information

  • Terminal/Tray: 7116-4102-08/9
  • Core/Insulation Crimp: E/1
  • Release Tool/Test Probe: 12094430/J-35616-2A (GY)

Tail/Stop and Turn Signal Lamp - Right (Solstice)

Pin

Wire

Circuit

Function

1

0.8 D-GN

19

Right Rear Stop/Turn Lamp Supply Voltage

2

0.8 BN

9

Tail/License Lamps Supply Voltage

3

0.5 BK

750

Ground

Theft Deterrent Module (TDM)


Object Number: 1593355  Size: CH

Connector Part Information

  • OEM: 50-5797-05
  • Service: See Catalog
  • Description: 5-Way F Sl Series Unsealed (BK)

Terminal Part Information

  • Pins: 1-4
  • Terminal/Tray: 16-02-1110/20
  • Core/Insulation Crimp: H/H
  • Release Tool/Test Probe: J-38125-213/J-35616-64B (L-BU)

Theft Deterrent Module (TDM)

Pin

Wire

Circuit

Function

1

0.35 RD/WH

1540

Battery Positive Voltage

2

0.35 BN

4

Accessory Voltage

3

0.35 BK/WH

651

Ground

4

0.35 L-GN

5060

Low Speed GMLAN Serial Data

5

--

--

Not Used

Throttle Body


Object Number: 1664617  Size: CH

Connector Part Information

  • OEM: 15355297
  • Service: See Catalog
  • Description: 6-Way F GT 150 Series Sealed (BK)

Terminal Part Information

  • Terminal/Tray: See Terminal Repair Kit
  • Core/Insulation Crimp: See Terminal Repair Kit
  • Release Tool/Test Probe: See Terminal Repair Kit

Throttle Body

Pin

Wire

Circuit

Function

A

0.8 BN

582

Throttle Actuator Control Motor Control - 2 (LNF)

0.5 BN

582

Throttle Actuator Control Motor Control - 2 (LE5)

B

0.8 YE

581

Throttle Actuator Control Motor Control - 1 (LNF)

0.5 YE

581

Throttle Actuator Control Motor Control - 1 (LE5)

C

0.5 TN

2752

Low Reference

D

0.5 D-GN

485

Throttle Position Sensor 1 Signal

E

0.5 GY

2701

5-Volt Reference 3

F

0.5 PU

486

Throttle Position Sensor 2 Signal

Torque Converter Clutch (TCC) Pulse Width Modulation (PWM) Solenoid Valve, Wiring Harness Side (M82)


Object Number: 800000  Size: CH

Connector Part Information

  • OEM: 12162202
  • Service: See Catalog
  • Description: 2-Way F Metri-Pack 150.2 Series P2S (BU)

Terminal Part Information

  • Terminal/Tray: Non-Serviceable
  • Core/Insulation Crimp: Non-Serviceable
  • Release Tool/Test Probe: Non-Serviceable

Torque Converter Clutch (TCC) Pulse Width Modulation (PWM) Solenoid Valve, Wiring Harness Side (M82)

Pin

Wire

Circuit

Function

A

YE

418

Torque Converter Clutch Pulse width Modulated Solenoid Valve Control

B

WH

1525

Clutch Pressure Control Solenoid Valve 1 High Control

Traction Control Switch (TCS) (JL9)


Object Number: 39660  Size: CH

Connector Part Information

  • OEM: 12047785
  • Service: See Catalog
  • Description: 4-Way F Metri-Pack 150 Series (BK)

Terminal Part Information

  • Terminal/Tray: See Terminal Repair Kit
  • Core/Insulation Crimp: See Terminal Repair Kit
  • Release Tool/Test Probe: See Terminal Repair Kit

Traction Control Switch (TCS) (JL9)

Pin

Wire

Circuit

Function

A

0.35 BK

550

Ground

B

--

--

Not Used

C

0.35 L-BU

1788

Traction Control Switch Signal

D

0.35 GY

8

Instrument Panel Lamp Supply

Transmission Control Module (TCM) (M82)


Object Number: 821223  Size: CH

Connector Part Information

  • OEM: 1-1393455-2
  • Service: 15434189
  • Description: 42-Way F Sealed Module 1 Socket Housing (BK)

Terminal Part Information

  • Terminal/Tray: 2-1411578-2 /Yazaki 15
  • Core/Insulation Crimp: 7/7
  • Release Tool/Test Probe: 12094429/J-35616-64B (L-BU)

Transmission Control Module (TCM) (M82)

Pin

Wire

Circuit

Function

F1

0.35 YE

400

Vehicle Speed Sensor Signal

F2

0.35 PU

401

Low Reference

F3

0.35 OG/BK

1228

Pressure Control Solenoid Valve High Control

F4

0.35 BN

418

Torque Converter Clutch Pulse Width Modulated Solenoid Valve Control

F5

0.35 BN

4

Accessory Voltage

F6

1.0 BK/WH

451

Ground

F7

--

--

Not Used

F8

0.8 OG

1525

Clutch Pressure Control Solenoid Valve 1 High Control

F9

0.8 PK

1039

Ignition 1 Voltage

F10

0.35 OG/BK

1230

Automatic Transmission Input Speed Sensor High Signal

F11

0.35 D-BU/WH

1231

Automatic Transmission Input Speed Sensor Low Signal

F12-F14

--

--

Not Used

F15

0.35 YE/BK

1227

Transmission Fluid Temperature Sensor Signal

F16-F17

--

--

Not Used

F18

0.35 YE/BK

1223

2-3 Shift Solenoid Valve Control

F19

0.35 PU

898

4-5 Shift Solenoid Valve Control

F20

0.5 TN/BK

2500

High Speed GMLAN Serial Data Bus (+)

F21

0.5 TN

2501

High Speed GMLAN Serial Data Bus (-)

F22-F23

--

--

Not Used

F24

0.35 YE

772

Transmission Range Switch Signal B

F25

0.35 GY

773

Transmission Range Switch Signal C

F26

0.35 TN

2762

Low Reference

F27

0.5 RD/WH

840

Battery Positive Voltage

F28

--

--

Not Used

F29

0.35 L-BU/WH

1229

Pressure Control Solenoid Valve Low Control

F30

0.35 L-GN

1222

1-2 Shift Solenoid Valve Control

F31

--

--

Not Used

F32

0.5 TN/BK

2500

High Speed GMLAN Serial Data Bus (+)

F33

0.5 TN

2501

High Speed GMLAN Serial Data Bus (-)

F34-F35

--

--

Not Used

F36

0.35 TN/WH

771

Transmission Range Switch Signal A

F37

0.35 WH

776

Transmission Range Switch Signal P

F38

0.35 L-BU

20

Stop Lamp Supply Voltage

F39-F42

--

--

Not Used

Transmission Manual Shift Shaft Switch, Wiring Harness Side (M82)


Object Number: 799960  Size: CH

Connector Part Information

  • OEM: 12146095
  • Service: See Catalog
  • Description: 6-Way F Metri-Pack 150.2 Series P2S (NA)

Terminal Part Information

  • Terminal/Tray: Non-Serviceable
  • Core/Insulation Crimp: Non-Serviceable
  • Release Tool/Test Probe: Non-Serviceable

Transmission Manual Shift Shaft Switch, Wiring Harness Side (M82)

Pin

Wire

Circuit

Function

A

BN

1786

Park/Neutral Signal

B

GY

776

Transmission Range Signal P

C

BK

772

Transmission Range Signal B

D

RD

771

Transmission Range Signal A

E

BU

773

Transmission Range Signal C

F

GN

451

Ground

Turbocharger Bypass Valve Solenoid (LNF)


Object Number: 1826250  Size: CH

Connector Part Information

  • OEM: 1 928 402 571
  • Service: See Catalog
  • Description: 2-Way F Sealed (BK)

Terminal Part Information

  • Terminal/Tray: See Terminal Repair Kit
  • Core/Insulation Crimp: See Terminal Repair Kit
  • Release Tool/Test Probe: See Terminal Repair Kit

Turbocharger Bypass Valve Solenoid (LNF)

Pin

Wire

Circuit

Function

1

0.5 D-GN

6391

Turbocharger Bypass Valve Control

2

0.5 PK/BK

5293

Powertrain Main Relay Fused Supply (4)

Turbocharger Wastegate Solenoid (LNF)


Object Number: 1826250  Size: CH

Connector Part Information

  • OEM: 1 928 402 571
  • Service: See Catalog
  • Description: 2-Way F Sealed (BK)

Terminal Part Information

  • Terminal/Tray: See Terminal Repair Kit
  • Core/Insulation Crimp: See Terminal Repair Kit
  • Release Tool/Test Probe: See Terminal Repair Kit

Turbocharger Wastegate Solenoid (LNF)

Pin

Wire

Circuit

Function

1

0.5 YE

258

Turbocharger Wastegate Solenoid Control

2

0.5 PK/BK

5293

Powertrain Main Relay Fused Supply (4)

Turn Signal Lamp - Left Front (SKY)


Object Number: 95769  Size: CH

Connector Part Information

  • OEM: 15324084
  • Service: See Catalog
  • Description: 3-Way F Bulb Type W3, Right Angle (BN)

Terminal Part Information

  • Terminal: See Terminal Repair Kit
  • Core/Insulation Crimp: See Terminal Repair Kit
  • Release Tool/Test Probe: See Terminal Repair Kit

Turn Signal Lamp - Left Front (SKY)

Pin

Wire

Circuit

Function

A

0.5 L-BU

14

Left Turn Signal Lamps Supply Voltage

B

0.5 BN

9

Tail/License Lamps Supply Voltage

G

0.5 BK

150

Ground (T96)

Turn Signal Lamp - Right Front (SKY)


Object Number: 95769  Size: CH

Connector Part Information

  • OEM: 15324084
  • Service: See Catalog
  • Description: 3-Way F Bulb Type W3, Right Angle (BN)

Terminal Part Information

  • Terminal: See Terminal Repair Kit
  • Core/Insulation Crimp: See Terminal Repair Kit
  • Release Tool/Test Probe: See Terminal Repair Kit

Turn Signal Lamp - Right Front (SKY)

Pin

Wire

Circuit

Function

A

0.5 D-BU

15

Right Turn Signal Lamps Supply Voltage

B

0.5 BN

9

Tail/License Lamps Supply Voltage

G

0.5 BK

250

Ground (T96)

Turn Signal/Multifunction Switch X1


Object Number: 1376709  Size: CH

Connector Part Information

  • OEM: NACP-08-S
  • Service: See Catalog
  • Description: 8-Way F Misc (NA)

Terminal Part Information

  • Terminal/Tray: SNAC-A03T-M040/20
  • Core/Insulation Crimp: J/J
  • Release Tool/Test Probe: 12094429/J-35616-12 (BU)

Turn Signal/Multifunction Switch X1

Pin

Wire

Circuit

Function

1

0.35 BK/WH

651

Ground

2

0.35 WH

103

Headlamp Switch Headlamps On Signal

3

0.35 BN/WH

301

Park Lamp Switch On Signal

4

0.35 PU/WH

549

Headlamp Switch Headlamps Off Signal

5-8

--

--

Not Used

Turn Signal/Multifunction Switch X2


Object Number: 845610  Size: CH

Connector Part Information

  • OEM: 15393435
  • Service: 88986438
  • Description: 10-Way F Micro (BK)

Terminal Part Information

  • Terminal/Tray: 12177007/19
  • Core/Insulation Crimp: E/2
  • Release Tool/Test Probe: 12180559-1/J-35616-64B (L-BU)

Turn Signal/Multifunction Switch X2

Pin

Wire

Circuit

Function

A

--

--

Not Used

B

0.35 BK/WH

651

Ground

C

0.35 BN

1356

Flash To Pass Switch Signal

D

0.35 PU

524

Headlamp Dimmer Switch High Beam Signal

E

0.35 PK/WH

1970

Headlamp Low Beam Relay Control (Solstice)

--

--

Not Used (SKY)

F

0.35 YE

10

Headlamp Switch Signal (Solstice)

0.35 PK/WH

1970

Headlamp Low Beam Relay Control (SKY)

G

0.35 YE/BK

1418

Left Rear Turn Signal Switch Signal

H

0.35 D-GN/WH

1419

Right Rear Turn Signal Switch Signal

J-K

--

--

Not Used

Vehicle Communication Interface Module (VCIM) X1 (UE1)


Object Number: 1592588  Size: CH

Connector Part Information

  • OEM: 15431362
  • Service: 15306351
  • Description: 16-Way F Micro HVT 100 Series (NA)

Terminal Part Information

  • Pins: 2, 3, 6, 8, 11, 15
  • Terminal/Tray: 15445905/23
  • Core/Insulation Crimp: E/C
  • Release Tool/Test Probe: 15315247/J-35616-12 (BU)

Vehicle Communication Interface Module (VCIM) X1 (UE1)

Pin

Wire

Circuit

Function

1

--

--

Not Used

2

0.35 BN/WH

2517

Keypad Red LED Signal

3

0.35 YE/BK

2516

Keypad Green LED Signal

4-5

--

--

Not Used

6

0.35 L-GN/BK

2515

Keypad Supply Voltage

7

--

--

Not Used

8

0.5 BK/WH

851

Ground

9-10

--

--

Not Used

11

0.35 D-GN/WH

2514

Keypad Signal

12-14

--

--

Not Used

15

0.5 RD/WH

1340

Battery Positive Voltage

16

--

--

Not Used

Vehicle Communication Interface Module (VCIM) X2 (UE1)


Object Number: 1592599  Size: CH

Connector Part Information

  • OEM: 15431365
  • Service: 15431366
  • Description: 12-Way F Micro HVT 100 Series (NA) (Delphi)

Terminal Part Information

  • Pins: 1, 2, 8, 9, 10
  • Terminal/Tray: 15445905/23
  • Core/Insulation Crimp: E/C
  • Release Tool/Test Probe: 15315247/J-35616-12 (BU)

Vehicle Communication Interface Module (VCIM) X2 (UE1)

Pin

Wire

Circuit

Function

1

0.5 PK/BK

2062

Navigation Mono Audio Signal (+)

2

0.5 OG/BK

2061

Navigation Mono Audio Signal (-)

3-7

--

--

Not Used

8

0.35 BK

813

Drain Wire

9

0.35 GY

655

Cellular Telephone Microphone Signal

10

0.35 BK

1489

Drain Wire

11-12

--

--

Not Used

Vehicle Communication Interface Module (VCIM) X4 (UE1)


Object Number: 1592605  Size: CH

Connector Part Information

  • OEM: 15431368
  • Service: See Catalog
  • Description: 12-Way F Micro HVT 100 Series (BK)

Terminal Part Information

  • Pins: 1, 2, 3, 8, 9
  • Terminal/Tray: 15445905/23
  • Core/Insulation Crimp: E/C
  • Release Tool/Test Probe: 15315247/J-35616-12 (BU)

Vehicle Communication Interface Module (VCIM) X4 (UE1)

Pin

Wire

Circuit

Function

1

0.35 D-GN

5060

Low Speed GMLAN Serial Data

2

0.5 TN/BK

2500

High Speed GMLAN Serial Data (+)

3

0.5 TN

2501

High Speed GMLAN Serial Data (-)

4-7

--

--

Not Used

8

0.5 TN/BK

2500

High Speed GMLAN Serial Data (+)

9

0.5 TN

2501

High Speed GMLAN Serial Data (-)

10-12

--

--

Not Used

Vehicle Speed Sensor (VSS) (MA5)


Object Number: 646406  Size: CH

Connector Part Information

  • OEM: 15336004
  • Service: See Catalog
  • Description: 2-Way F GT 150 Sealed 3.2 X 4.0 (BK)

Terminal Part Information

  • Terminal/Tray: See Terminal Repair Kit
  • Core/Insulation Crimp: See Terminal Repair Kit
  • Release Tool/Test Probe: See Terminal Repair Kit

Vehicle Speed Sensor (VSS) (MA5)

Pin

Wire

Circuit

Function

A

0.5 PU

401

Vehicle Speed Sensor Low Signal

B

0.5 YE

400

Vehicle Speed Sensor High Signal

Wheel Speed Sensor (WSS) - Left Front


Object Number: 1592617  Size: CH

Connector Part Information

  • OEM: 1-928-403-698
  • Service: See Catalog
  • Description: 2-Way Sealed F (BK)

Terminal Part Information

  • Terminal/Tray: See Terminal Repair Kit
  • Core/Insulation Crimp: See Terminal Repair Kit
  • Release Tool/Test Probe: See Terminal Repair Kit

Wheel Speed Sensor (WSS) - Left Front

Pin

Wire

Circuit

Function

1

0.8 L-BU

830

Left Front Wheel Speed Sensor Signal

2

0.8 YE

873

Low Reference

Wheel Speed Sensor (WSS) - Left Rear


Object Number: 1592617  Size: CH

Connector Part Information

  • OEM: 1-928-403-698
  • Service: See Catalog
  • Description: 2-Way Sealed F (BK)

Terminal Part Information

  • Terminal/Tray: See Terminal Repair Kit
  • Core/Insulation Crimp: See Terminal Repair Kit
  • Release Tool/Test Probe: See Terminal Repair Kit

Wheel Speed Sensor (WSS) - Left Rear

Pin

Wire

Circuit

Function

1

0.8 TN

884

Left Rear Wheel Speed Sensor Signal

2

0.8 OG

885

Low Reference

Wheel Speed Sensor (WSS) - Right Front


Object Number: 1592617  Size: CH

Connector Part Information

  • OEM: 1-928-403-698
  • Service: See Catalog
  • Description: 2-Way Sealed F (BK)

Terminal Part Information

  • Terminal/Tray: See Terminal Repair Kit
  • Core/Insulation Crimp: See Terminal Repair Kit
  • Release Tool/Test Probe: See Terminal Repair Kit

Wheel Speed Sensor (WSS) - Right Front

Pin

Wire

Circuit

Function

1

0.8 D-GN

872

Right Front Wheel Speed Sensor Signal

2

0.8 TN

833

Low Reference

Wheel Speed Sensor (WSS) - Right Rear


Object Number: 1592617  Size: CH

Connector Part Information

  • OEM: 1-928-403-698
  • Service: See Catalog
  • Description: 2-Way Sealed F (BK)

Terminal Part Information

  • Terminal/Tray: See Terminal Repair Kit
  • Core/Insulation Crimp: See Terminal Repair Kit
  • Release Tool/Test Probe: See Terminal Repair Kit

Wheel Speed Sensor (WSS) - Right Rear

Pin

Wire

Circuit

Function

1

0.8 BN

882

Right Rear Wheel Speed Sensor Signal

2

0.8 WH

883

Low Reference

Window Motor - Driver (A31)


Object Number: 684837  Size: CH

Connector Part Information

  • OEM: 12129487
  • Service: 88988609
  • Description: 2-Way F Metri-Pack Series, Flexlock, Sealed (GY)

Terminal Part Information

  • Terminal/Tray: 12110845/4
  • Core/Insulation Crimp: F/5
  • Release Tool/Test Probe: 15315247/J-35616-4A (PU)

Window Motor - Driver (A31)

Pin

Wire

Circuit

Function

A

3.0 BN

165

Power Window Motor Left Front Down Control

B

3.0 D-BU

164

Power Window Motor Left Front Up Control

Window Motor - Passenger (A31)


Object Number: 684837  Size: CH

Connector Part Information

  • OEM: 12129487
  • Service: 88988609
  • Description: 2-Way F Metri-Pack 280 Series, FlexLock, Sealed (GY)

Terminal Part Information

  • Terminal/Tray: 12110845/4
  • Core/Insulation Crimp: F/5
  • Release Tool/Test Probe: 15315247/J-35616-4A (PU)

Window Motor - Passenger (A31)

Pin

Wire

Circuit

Function

A

3.0 BN

667

Power Window Motor Right Front Down Control

B

3.0 D-BU

666

Power Window Motor Right Front Up Control

Window Switch - Driver (A31)


Object Number: 1376715  Size: CH

Connector Part Information

  • OEM: 15449340
  • Service: 15306174
  • Description: 8-Way F GT 280 (BK)

Terminal Part Information

  • Pins: B
  • Terminal/Tray: 15304711/8
  • Core/Insulation Crimp: E/A
  • Release Tool/Test Probe: 15315247/J-35616-4A (PU)
  • Pins: A, C, D, F, G, H
  • Terminal/Tray: 15304713/19
  • Core/Insulation Crimp: Pins A, C, D, G, H F/D
  • Core/Insulation Crimp: Pins F 4/4
  • Release Tool/Test Probe: 15315247/J-35616-4A (PU)

Window Switch - Driver (A31)

Pin

Wire

Circuit

Function

A

3.0 L-BU

166

Power Window Master Switch Right Front Up Signal

B

0.35 GY

8

Instrument Panel Lamp Supply

C

3.0 D-GN

801

Retained Accessory Power Fuse Supply Voltage

D

3.0 TN

167

Power Window Master Switch Right Front Down Signal

E

--

--

Not Used

F

2.0 BK

550

Ground

G

3.0 D-BU

164

Power Window Motor Left Front Up Control

H

3.0 BN

165

Power Window Motor Left Front Down Control

Window Switch - Passenger (A31)


Object Number: 333036  Size: CH

Connector Part Information

  • OEM: 12192825
  • Service: 15306048
  • Description: 8-Way F Metri-Pack 280 Series (BN)

Terminal Part Information

  • Pins: H
  • Terminal/Tray: See Terminal Repair Kit
  • Core/Insulation Crimp: See Terminal Repair Kit
  • Release Tool/Test Probe: See Terminal Repair Kit
  • Pins: A, D, F, G
  • Terminal/Tray: 15304713/19
  • Core/Insulation Crimp: F/D
  • Release Tool/Test Probe: 15315247/J-35616-4A (PU)
  • Pins: B, C
  • Terminal/Tray: 15304711/8
  • Core/Insulation Crimp: E/A
  • Release Tool/Test Probe: 15315247/J-35616-4A (PU)

Window Switch - Passenger (A31)

Pin

Wire

Circuit

Function

A

3.0 D-GN

801

Retained Accessory Power Fuse Supply Voltage

B

0.35 GY

8

Instrument Panel Lamp Supply Voltage

C

0.35 BK

550

Ground

D

3.0 TN

167

Power Window Master Switch Right Front Down Signal

E

--

--

Not Used

F

3.0 BN

667

Power Window Motor Right Front Down Control

G

3.0 D-BU

666

Power Window Motor Right Front Up Control

H

3.0 L-BU

166

Power Window Master Switch Right Front Up Signal

Windshield Washer Fluid Pump


Object Number: 635009  Size: CH

Connector Part Information

  • OEM: 12052641
  • Service: 12102747
  • Description: 2-Way F Metri-Pack 150 Series (BK)

Terminal Part Information

  • Terminal/Tray: 12048074/2
  • Core/Insulation Crimp: E/1
  • Release Tool/Test Probe: 12094429/J-35616-2A (GY)

Windshield Washer Fluid Pump

Pin

Wire

Circuit

Function

A

0.5 OG

228

Windshield Washer Pump Control

B

0.5 BK

250

Ground

Windshield Wiper Motor


Object Number: 1591667  Size: CH

Connector Part Information

  • OEM: 15393432
  • Service: 89046627
  • Description: 5-Way F 090 II Class III Series, Sealed (BK)

Terminal Part Information

  • Pins: 1, 4, 5
  • Terminal/Tray: 7116-4026/11
  • Core/Insulation Crimp: E/1
  • Release Tool/Test Probe: 15313892/J-35616-18 (BK)
  • Pins: 2
  • Terminal/Tray: 7116-4025/11
  • Core/Insulation Crimp: E/A
  • Release Tool/Test Probe: 15313892/J-35616-18 (BK)

Windshield Wiper Motor

Pin

Wire

Circuit

Function

1

1.0 BK

250

Ground

2

0.35 YE

196

Windshield Wiper Motor Park Switch Signal

3

--

--

Not Used

4

1.0 PU

92

Windshield Wiper Motor High Speed Control

5

1.0 D-GN

95

Windshield Washer Switch Signal

Windshield Wiper/Washer Switch


Object Number: 130718  Size: CH

Connector Part Information

  • OEM: 12059800
  • Service: 15306169
  • Description: 5-Way F Metri-Pack 150 Series (BK)

Terminal Part Information

  • Pins: B, C, D, E
  • Terminal/Tray: 12064971/5
  • Core/Insulation Crimp: E/C
  • Release Tool/Test Probe: 12094429/J-35616-2A (GY)

Windshield Wiper/Washer Switch

Pin

Wire

Circuit

Function

A

--

--

Not Used

B

0.35 OG

228

Windshield Washer Pump Control

C

0.35 L-GN

1715

Windshield Wiper Switch High Signal

D

0.35 PK

439

Ignition 1 Voltage

E

0.35 GY

112

Windshield Wiper Switch Signal

Yaw and Lateral Accelerometer Sensor (JL9)


Object Number: 831393  Size: CH

Connector Part Information

  • OEM: 2-967616-1
  • Service: See Catalog
  • Description: 6-Way F MQS Socket Series, Sealed (BK)

Terminal Part Information

  • Terminal/Tray: See Terminal Repair Kit
  • Core/Insulation Crimp: See Terminal Repair Kit
  • Release Tool/Test Probe: See Terminal Repair Kit

Yaw and Lateral Accelerometer Sensor (JL9)

Pin

Wire

Circuit

Function

1

0.5 GY/BK

6435

Can Bus Low Serial Data

2

0.5 PK/BK

6434

Can Bus High Serial Data

3

0.5 D-GN

2087

12-Volt Reference

4

--

--

Not Used

5

0.5 L-BU

2088

Low Reference

6

--

--

Not Used