GM Service Manual Online
For 1990-2009 cars only

Object Number: 1766648  Size: MF

Callout

Component Name

Preliminary Procedures

  1. Remove the seats. Refer to Driver and Passenger Seat Replacement .
  2. Remove the door sill trim. Refer to Door Sill Plate Replacement .
  3. Remove the hinge pillar trim panel. Refer to Body Hinge Pillar Trim Panel Replacement .
  4. Remove lock pillar trim. Refer to Body Lock Pillar Trim Panel Replacement .
  5. Remove the rear window panel trim. Refer to Rear Window Panel Trim Replacement .

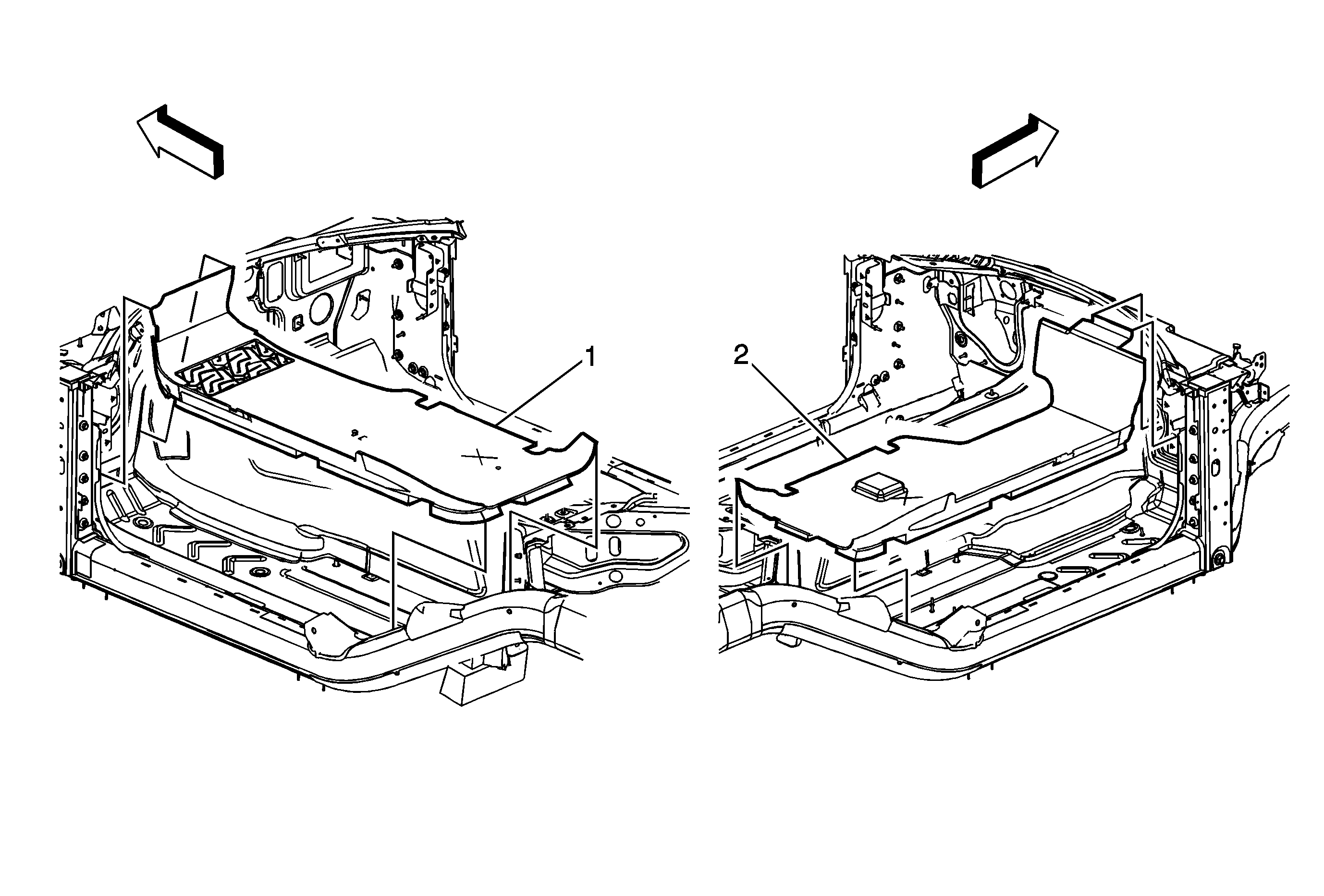
1

Front Floor Panel Carpet Driver Side Assembly

2

Front Floor Panel Carpet Passenger Side Assembly