GM Service Manual Online
For 1990-2009 cars only

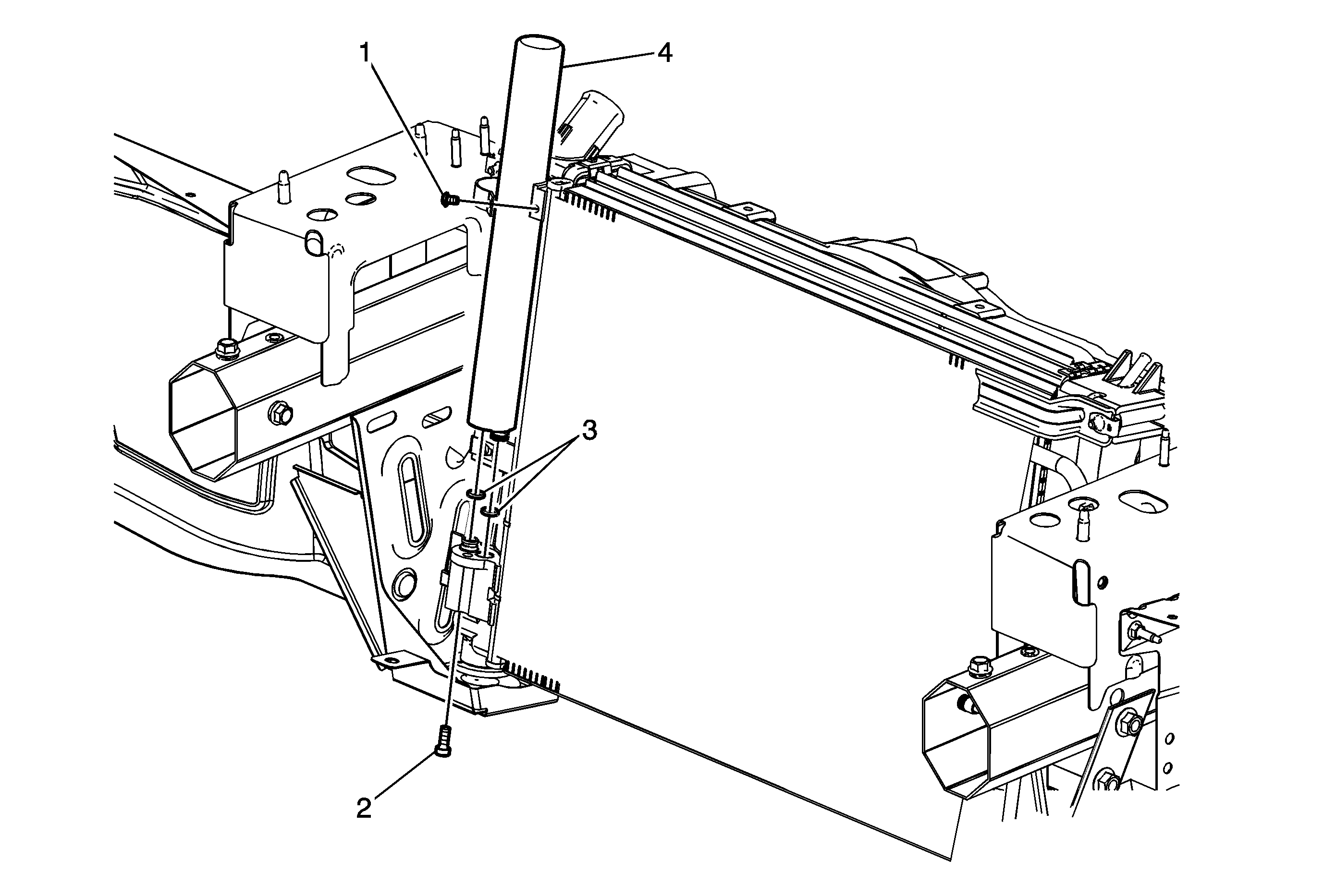
Object Number: 1875001  Size: MF

Callout

Component Name

Preliminary Procedures

  1. Recover the refrigerant. Refer to Refrigerant Recovery and Recharging .
  2. Remove the charge air cooler. Refer to Charge Air Cooler Replacement .
  3. Remove the lower radiator air baffle. Refer to Radiator Air Lower Baffle and Deflector Replacement .
  4. Remove the upper radiator air baffle. Refer to Radiator Air Upper Baffle and Deflector Replacement .

1

Receiver Dehydrator Screw

Notice: Refer to Fastener Notice in the Preface section.

Tighten
1.5 N·m (13 lb in)

2

Receiver Dehydrator Screw

Tighten
1.5 N·m (13 lb in)

3

Receiver Dehydrator O-Ring

Procedure

Remove and discard the O-rings.

4

Receiver Dehydrator Assembly