GM Service Manual Online
For 1990-2009 cars only

Object Number: 2128834  Size: MF

Callout

Component Name

Preliminary Procedure

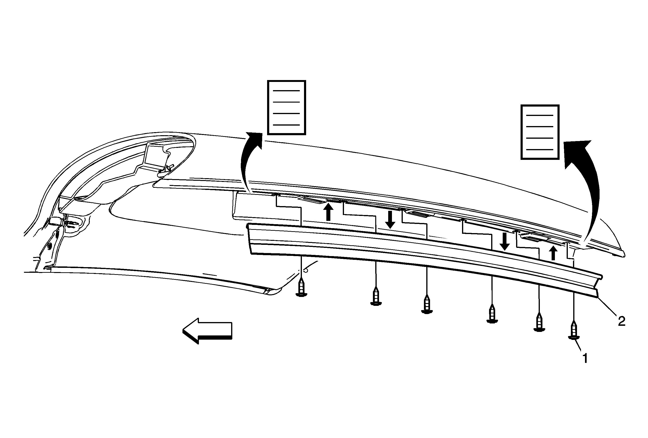
Remove the roof lift off panel weatherstrip. Refer to Lift Off Panel Weatherstrip Replacement

1

Roof Lift Off Panel Retainer Fastener (Qty: 6)

Caution: Refer to Fastener Caution in the Preface section.

Procedure

  1. Place the roof panel on a protective surface.
  2. Before removing the weatherstrip retainer from the roof, mark the line on the underside with the retainer. If the retainer is not adjusted properly waterleak /air noisy will occur.
  3. Remove all old adhesive from the retainer area.
  4. Clean around the edge and the inside surface of the roof with a 50/50 mixture of isopropyl alcohol and water by volume on a dampened lint-free cloth.

Tighten
Tighten the fastener to 2 N·m (89 lb in).

2

Roof Lift Off Panel Retainer

Procedure

Stripped, broken or improperly seated screws must be replaced or repaired to prevent water leaks.