GM Service Manual Online
For 1990-2009 cars only

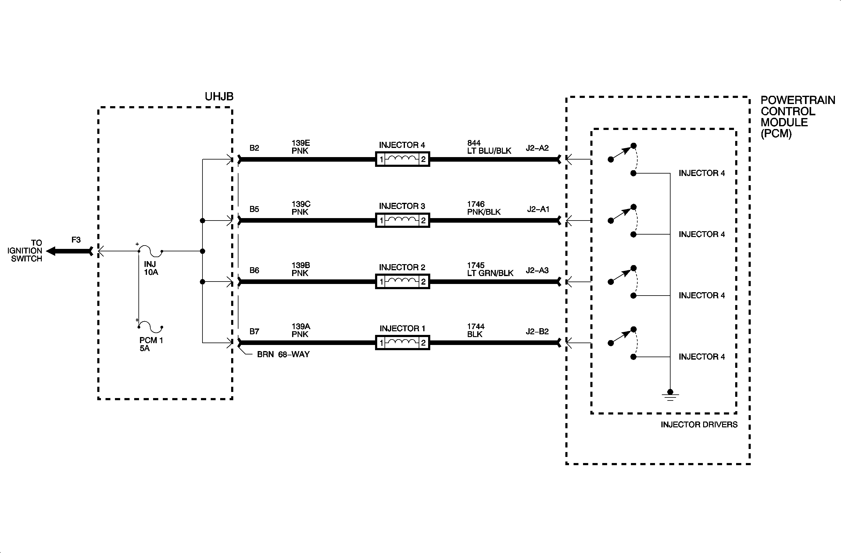
Circuit Description


Object Number: 1207598  Size: MF

The injector system on both SOHC and DOHC engines utilize sequential fuel injection (SFI). the powertrain control module (PCM) independently controls each fuel injector through a driver circuit, in accordance with intake valve openeing. The driver circuit is intentionally located in the PCM providing the ground for each injector. The length and time an injector is held open, grounded by the PCM, is calculated based on engine speed load and valve location fron the crankshaft position sensor.

Conditions for Setting the DTC

DTC P0201 Injector 1, or DTC P0202 Injector 2, or DRC P0203 Injector 3 orDTC P0204 Injector 4 will set if an injector circuit is open, shorted to voltage, or shorted to ground.

Important: The injector circuit is continuously checked when the engine is running.

Diagnostic Aids

When attempting to diagnose an intermittent problem use the scan tool to eview the malfunction history diagnostic information. This supplemental data can be used to duplicate a problem.

Imntermittents or opens suspected to be at the connector can be detected by using a diagnostic service probe. Voltage can be read on wires without disconnecting any connectors.

Check the tightness of female terminal grip with a spare male terminal.

An open or shorted injector circuit will cause a misfire DTC to set. Diagnose an injector coe first if an injector and a misfire DTC occur.

    • Fuel in the oil is a good suspect of a leaking or grounded injector.
    • Each injector is supplied battery voltage when the key is in the ON position.
    • Injector resistance is -- 12 ohms.

Object Number: 900057  Size: FP