| Subject: | Oil Consumption Concern (Diagnosis/Service Procedure) |
| Models: | All 1991 - 1997 Saturn S-Series Vehicles |
Some customers may comment that the engine is using 1 quart (0.951 liter) or more of oil every 3000 mi. (4827 km).
Engine oil consumption greater than 1 quart (0.951 liter) in 3000 mi. (4827 km) may be caused by stuck/sticking oil control and/or compression rings. Engine deposits may build up on and around the oil control ring(s), compression ring(s) and piston ring land(s) causing the ring(s) to stick and become less effective.
Perform internal engine cleaning procedure or engine repair procedure depending on amount of oil consumption.
IF engine uses 1 quart (0.951 liter) of oil in:
1500 mi. - 3000 mi. (2414 km -4827 km), perform Procedure 1: Internal Engine Cleaning
1499 mi. (2414 km) or less, perform Procedure 2: Engine Repair
While Saturn still considers oil consumption of 1 quart (0.951 liter) in 2000 mi. (3218 km) to be an acceptable level, the engine cleaning procedure contained in this bulletin may improve oil consumption performance to an even more acceptable level.
1. Inspect engine for external oil leaks and repair as necessary.
2. Verify that the correct crankcase ventilation (PCV) valve is installed. Some aftermarket PCV valves do not meet Saturn specification and can cause oil consumption. (Refer to the following chart for correct application.)
Model Year | Engine | PCV Valve Type | Saturn P/N |
|---|---|---|---|
1991 - 1997 | DOHC (LLO) | CV947 | 25147308 |
1991 - 1994 | SOHC (LKO) | CV900 | 25097213 |
1995 - 1997 | SOHC (L24) | CV947 | 25147308 |
3. Change engine oil and filter (3.8 liters [4 quarts] of oil are required to properly fill the crankcase).
4. Start engine and bring up to normal operating temperature of 197°-212° ;F (97°-100°C).
5. Park vehicle on level ground and wait a minimum of five minutes after engine is shut off. Check engine oil level to make sure it's at the FULL mark on the dipstick.
6. Mark the oil level on the dipstick with a scribe, if it is not exactly at FULL mark.
7. Record the vehicle's mileage, date of oil change and exact location of oil level on the Customer Service Order.
8. Return vehicle to customer and have customer check the engine oil level at each fuel fill and return the vehicle if oil level is at the ADD mark. If the oil level remains in the "cross-hatch" area, have the customer continue operating the vehicle for a minimum of 2000 miles (3218 km) before returning the vehicle for final oil consumption verification.
If engine uses 1 quart (0.951 liter) of oil in:
| • | 3000 mi. (4827 km) or more, return vehicle to customer - this is acceptable oil consumption. |
| • | 1500 mi. -3000 mi. (2414 km - 4827 km) proceed to Procedure 1 in this bulletin. |
| • | 1499 mi. (2414 km) or less proceed to Procedure 2 in this bulletin. |
Important: In order for the cleaner to be effective, the engine must be warm.
Notice: After the minimum 2-hour soak, there may be some cleaner left in the combustion chambers. Do not start the engine until all of the cleaner has been removed from the combustion chamber or severe engine damage may occur.
Important: *Mobil® 1 Synthetic 5W-30 or 10W-30 engine oil is to be used during the initial oil change interval following this procedure. Mobil® 1 Synthetic oil has excellent engine cleaning properties that will aid in removing deposits that were loosened and softened during this procedure.
*We believe this source and their products to be reliable. There may be additional manufacturers of such products. General Motors does not endorse, indicate any preference for or assume any responsibility for the products from this firm or for any such items which may be available from other sources.Important: Before proceeding with engine repair, consideration should be given to engine assembly replacement. Saturn may have warranted remanufactured engine assemblies available for this vehicle.
One or more of the following conditions may also cause oil consumption:| • | Engine oil level not being properly checked |
| • | External oil leakage |
| • | Incorrect positive crankcase ventilation (PCV) valve installed |
| • | Oil control ring(s) worn |
| • | Compression ring(s) worn |
| • | Cylinder bores worn and/or poor surface finish |
| • | Cylinder bores tapered, scored or out-of-round |
| • | Oil leakage between the valve guide and cylinder head |
| • | Piston ring(s) not installed correctly |
| • | Oil leakage past the valve stem seal(s) |
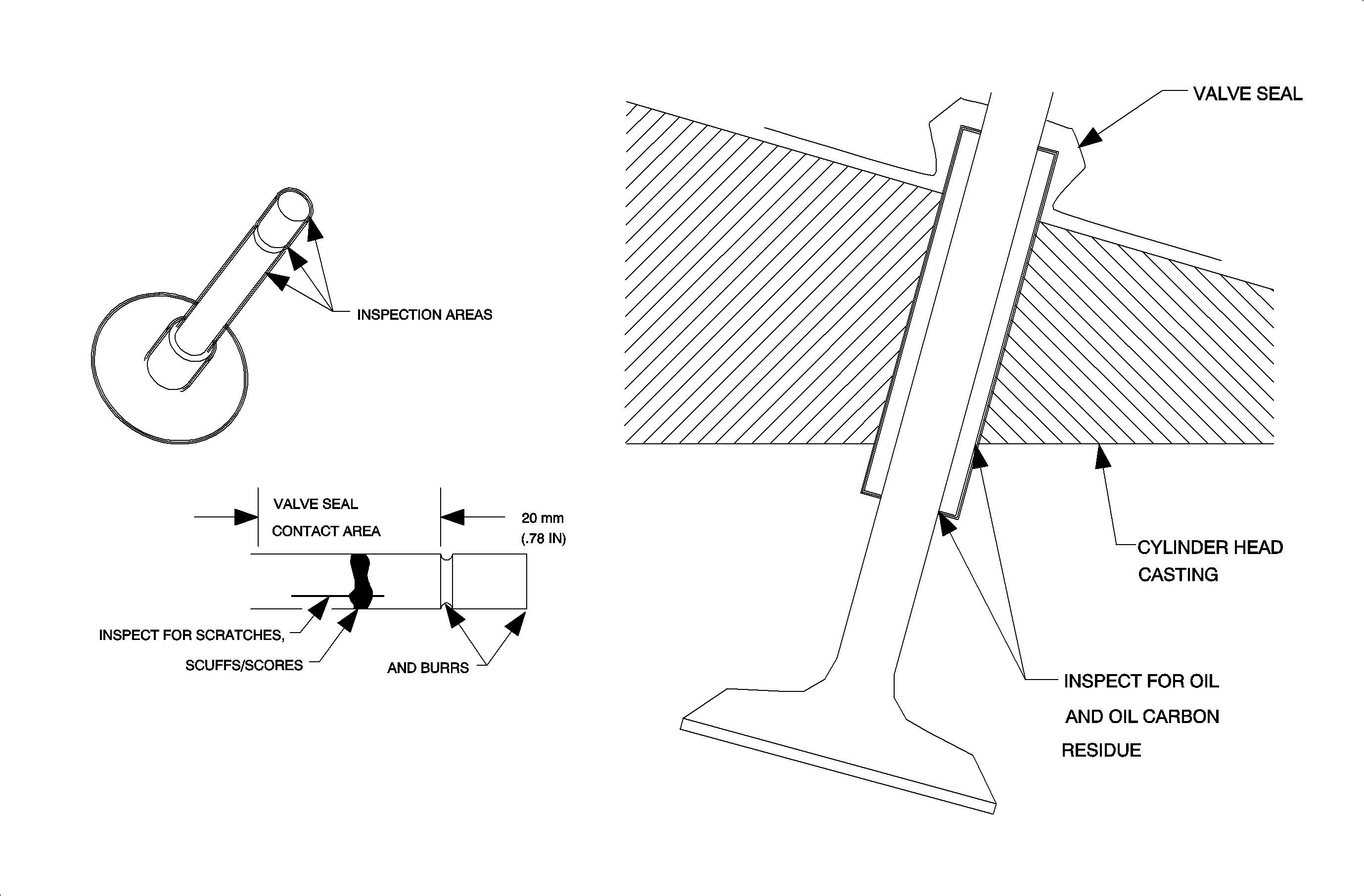
| • | Poor surface finish on the valve stem(s), (scuffs, scores and burrs) |
The compression check will identify damaged pistons and/or rings, valves, head gasket and carbon build-up on pistons or in the combustion chamber, etc.
A cylinder leakage test will identify location of compression loss (damaged intake or exhaust valve, piston or rings, cylinder head or gasket, etc.).
Important: The air pressure shut off valve must be closed when adjusting regulator to 689 kPa (100 psi). Then, open shut off valve and allow air pressure to stabilize before recording air pressure/cylinder leakage to obtain accurate readings.
| • | Bottom of the valve guide , oil is leaking past the valve stem seal. If oil is leaking past the valve stem seal, inspect the valve stem for scratches, scuffs, scores and burrs. Carbon deposits should be similar in appearance when comparing intake or exhaust valves to each other. A difference in appearance may indicate oil is leaking between the valve guide and cylinder head, or past the valve stem seal. Measure the valve to guide oil clearance using the appropriate year Engine Mechanical or Engine/Fuel/Air Intake/Exhaust Service Manual. Replace intake and/or exhaust valves, guides and all stem seals as required. |
| Notice: Only Saturn recommended essential tools must be used to remove valve spring retainers. Use of other tools can cause valve stem and seal damage resulting in oil consumption. |
| • | Valve guide outside diameter next to the cylinder head casting, the oil is leaking between the outside diameter of the valve guide and the cylinder head casting. (To help identify an oil leak between the outside diameter of the guide and the cylinder head casting, apply several drops of engine oil dye SA9176NE around the outside diameter of the valve guide and allow to sit for a minimum of three minutes. Use Black Light Kit SA9175NE to identify oil leak location.) |
| • | Oil leaking between the outside diameter of the valve guide and the cylinder head casting can be caused by a damaged cylinder head casting valve guide bore. If oil is leaking between the outside diameter of the valve guide and the cylinder head casting, refer to the appropriate year Engine Mechanical or Engine/Fuel/Air Intake/Exhaust Service Manual, and install an oversize valve guide. |
| • | Remove and discard the piston rings, and soak the piston in GM Piston and Ring Cleaner (P/N 12378549), or equivalent, to remove the carbon deposits in the ring land and piston tops. |
| • | After soaking the pistons, carefully remove any remaining carbon deposits from the ring grooves by using a piece of ring from the old piston ring set. |
Notice: Make sure crankshaft pulley/damper keyway is at 3 or 9 o'clock position to prevent damage of crankshaft connecting rod journals during honing.
- Make sure the flex hone is rotating upon entry and removal from the cylinder bore.
Important: The recommended speed of the flex hone is 150-200 rpm. Do not use air pressure driven or high-speed tools.
- Thoroughly scrub all cylinder bores after honing with a scrub brush, a strong solution of hot water and Tide® powder laundry detergent or equivalent. Thoroughly rinse with hot clean water (high-pressure, if available).
Notice: If the cylinder bores are not thoroughly cleaned, the residual grit from the honing stones will wear out the piston rings and cylinder bores extremely fast, resulting in oil consumption. Never use solvent to clean cylinder bores; it only redistributes the grit on the cylinder walls; detergent and hot water will carry the grit away.
Notice: Do not use abrasive pads to clean cylinder head and block surfaces that are sealed with the cylinder head gasket. Bristles or particles from abrasive pads can cause cylinder bore scoring and/or piston ring damage. Gasket material on cylinder head and block surfaces that are sealed with the cylinder head gasket should be removed with a plastic or wood scraper.
Part Number | Description |
|---|---|
12378549 | GM Piston and Ring Cleaner |
21000872 | Filter ASM-Oil |
For any other parts, refer to the Saturn Parts and Illustrations Catalog for the correct part numbers.
To receive credit for this repair during the warranty coverage period, submit a claim through the Saturn Retailer System as follows:
Case Type | Description | Labor Operation Code | Time |
|---|---|---|---|
VW | Engine Inspection and Oil Consumption Test | T9676 | 0.6 hr |
VW | Filter, Oil - Replace Cleaning | J0950 | 0.4 hr |
Important: An add time of 0.3 hr will be added to J0950 for Internal Engine Cleaning. This add time can only be charged to the first oil change per Procedure 1 in this bulletin. For the second oil change, claim J0950 without the additional engine cleaning time.
Important: If Technical Bulletin 92-T-14B is performed, refer to that bulletin for labor operation code and time.
For any other required repairs, refer to the appropriate Electronic Saturn Labor Time Guide for the correct labor operation code(s) and time(s).