Windshield Wiper Arm Replacement 1st Design
Removal Procedure
- Remove the wiper
arm finish cap by pulling upward on the cap at the pivot location.
- Remove the wiper arm fastener.
- Lift the wiper arm assembly away from the windshield and remove the wiper
arm from the pivot shaft.
Installation Procedure
- On the drivers side, position the wiper blade assembly between the locator dot
in the blocked out area of the windshield and the bottom of the dot matrix in the
windshield.
- On the passengers side, position the wiper blade assembly at the locating
line in the windshield.
Notice: Refer to Fastener Notice in the Preface section.
Important: Use new nuts. Torque retention of the old nuts may not be sufficient.
- Install the fastener.
Tighten
Tighten the wiper arm retaining nuts to 30 N·m (22 lb ft).
- Install the wiper
arm finish cap.
Windshield Wiper Arm Replacement 2nd Design
Tools Required
J 39822 Wiper Arm Puller Tool
Removal Procedure
- Remove the wiper
arm finish cap by pulling upward on the cap at the pivot location.
- Insert the key
into the ignition and rotate to the RUN position.
- Stop the wiper arm at the mid-wipe position, approximately 45 degrees,
by putting the wiper system on low speed and turning the key to the OFF position
when the wiper arm reaches the mid-wipe position.
- Remove the key from the ignition.
- Remove the wiper arm nut.
- Remove the wiper arm.
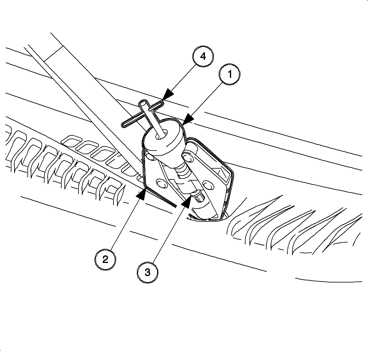
| 6.1. | Place the J 39822
over
the wiper arm head. |
| 6.2. | Tighten the cone nut (1) to secure the puller jaws (2) under
the wiper arm head. |
| 6.3. | Align the drive screw (3) over the wiper arm pivot shaft and tighten
the T-handle (4) to remove the wiper arm. |
Installation Procedure
Notice: Wiper system must be put into the PARK position before arms are installed. If
wiper system is not parked, arm may contact painted surfaces.
- Park the wiper system by turning the wiper switch ON momentarily. Once the
wiper switch is turned OFF, the wiper system should be in the PARK position.
- On the passengers side, position the wiper blade assembly at the tick
mark in the A-pillar portion of the windshield blackout strip.
Notice: Refer to Fastener Notice in the Preface section.
Important: Use new wiper arm nuts. New wiper arm nuts
have thread locking adhesive applied.
- Install the wiper arm nut.
Tighten
Tighten the wiper arm retaining nuts to 30 N·m
(22 lb ft).