GM Service Manual Online
For 1990-2009 cars only
Table 1: ABS Wheel Speed Sensor to I/P Inlines (I/P Harness Side) - Right Front Wheel
Table 2: ABS Wheel Speed Sensor to I/P Inlines (I/P Harness Side) - Left Front Wheel
Table 3: ABS Wheel Speed Sensor to I/P Inlines (Sensor Side) - Right Front Wheel
Table 4: ABS Wheel Speed Sensor to I/P Inlines (Sensor Side) - Left Front Wheel
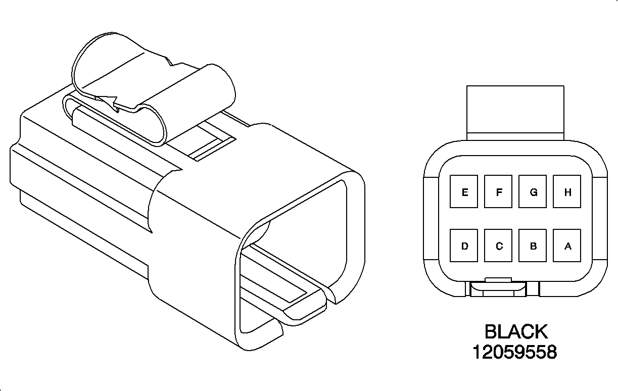
Table 5: CD Jumper Inline (F) - I/P Harness - I/P Center - Under Front of Console
Table 6: CD Jumper Inline (M) - Jumper Harness - I/P Center - Under Front of Console (Part of CD Changer)
Table 7: Crankshaft Position Sensor Inline (CPS Side) - DOHC Only - Engine Compartment - On Lower Rear of Block
Table 8: Crankshaft Position Sensor Inline (Harness Side) - DOHC Only - Engine Compartment - On Lower Rear of Block
Table 9: Decklid/Body Inline - Body harness Side - 2000/2001 Coupe - Rear Compartment - Left Rear Shock Tower
Table 10: Decklid/Body Inline - Body Harness Side - Sedan - Rear Compartment - Left Rear Shock Tower
Table 11: Decklid/Body Inline - Decklid Harness Side - Coupe - Rear Compartment - Left Rear Shock Tower
Table 12: Decklid Inline - To Body Harness - Coupe - Rear Compartment - Left Rear Shock Tower
Table 13: Decklid/Body Inline - Decklid Harness Side - Sedan - Rear Compartment - Left Rear Shock Tower
Table 14: Decklid Inline - To Body Harness - Sedan (Decklid Harness Side) - Rear Compartment - Left Rear Shock Tower
Table 15: Decklid Inline - To Decklid Harness - Coupe - Rear Compartment - Left Rear Shock Tower
Table 16: Decklid Inline - To Decklid Harness - Sedan - Rear Compartment - Left Rear Shock Tower
Table 17: Fuel Tank Inline (F) - Rear Compartment - Left
Table 18: Fuel Tank Inline (M) - Rear Compartment - Left
Table 19: Headliner/Body Inline - Coupe (Body Harness Side) - Left B-Pillar
Table 20: Headliner Body/Inline - Coupe/Sedan/Wagon (Headliner Harness Side) - Left D-Pillar -- (Upper Rear) (Wagon)
Table 21: Headliner/Body Inline - Sedan (Body Harness Side) - Left D-Pillar
Table 22: Headliner/Body Inline - Wagon (Body Harness Side) - Left D-Pillar - (Upper Rear) (Wagon)
Table 23: Headliner/Body Inline - Wagon, Coupe, Sedan (Headliner Harness Side) Left D-Pillar - (Upper Rear) (Wagon)
Table 24: I/P to Body Inline (Body Side) - Wagon - Hinge Pillar - Left Front
Table 25: I/P to Body Inline (I/P Side) - Hinge Pillar - Left Front
Table 26: I/P to Roll Connector Inline - I/P - Steering Wheel
Table 27: I/P to Roll Connector Inline - Roll Connector - I/P - Lower Left
Table 28: License Lamps/Decklid Harness Inline - Coupe Only (Decklid Harness Side) - Rear of Decklid
Table 29: License Lamps/Decklid Harness Inline - Coupe Only (License Lamp Jumper Side) - Rear of Decklid
Table 30: License Lamps harness Inline - Decklid Harness (Coupe Only) - Rear of Decklid
Table 31: Liftgate Inline - Wagon (Body Harness) - Roof - Rear Center
Table 32: Liftgate Inline - Wagon (Body Harness) - Roof - Rear Center
Table 33: Liftgate Inline - Wagon (Body Harness) - Roof - Rear Center
Table 34: Liftgate Inline - Wagon (Liftgate Harness) - Roof - Rear Center
Table 35: Liftgate Inline - Wagon (Liftgate Harness) - Roof - Rear Center
Table 36: Liftgate Inline - Wagon (Liftgate Harness) - Roof - Rear Center
Table 37: SIAB Sensor Connector - Inline (Sedan/Wagon Only)
Table 38: SIAB Sensor Connector - Inline (Sedan/Wagon Only)
Table 39: Sunroof to Body Inline Body Side Connector - Sedan/Coupe - Right B-Pillar Base
Table 40: Sunroof to Body Inline - Sunroof Side Connector - Right B-Pillar Base

ABS Wheel Speed Sensor to I/P Inlines (I/P Harness Side) - Right Front Wheel


Object Number: 884168  Size: CH

Connector Part Information

    • 12052641
    • Black

Pin

Wire Color

Circuit Number

Function

A

DK GRN

872

ABS - Speed Sensor To EBTCM

B

TAN

833

ABS - Speed Sensor To EBTCM

ABS Wheel Speed Sensor to I/P Inlines (I/P Harness Side) - Left Front Wheel


Object Number: 884168  Size: CH

Connector Part Information

    • 12052641
    • Black

Pin

Wire Color

Circuit Number

Function

A

LT BLU

830

ABS - Speed Sensor to EBTCM

B

YEL

873

ABS - Speed Sensor to EBTCM

ABS Wheel Speed Sensor to I/P Inlines (Sensor Side) - Right Front Wheel


Object Number: 884175  Size: CH

Connector Part Information

    • 12162000
    • Black

Pin

Wire Color

Circuit Number

Function

A

BLK

872

ABS - Speed Sensor to EBTCM

B

WHT

833

ABS - Speed Sensor to EBTCM

ABS Wheel Speed Sensor to I/P Inlines (Sensor Side) - Left Front Wheel


Object Number: 884175  Size: CH

Connector Part Information

    • 12162000
    • Black

Pin

Wire Color

Circuit Number

Function

A

WHT

830

ABS - Speed Sensor to EBTCM

B

BLK

873

ABS - Speed Sensor to EBTCM

CD Jumper Inline (F) - I/P Harness - I/P Center - Under Front of Console


Object Number: 884279  Size: CH

Connector Part Information

    • 12064769
    • Natural

Pin

Wire Color

Circuit Number

Function

A

DK GRN

835

E/C Data Line

B

YEL

43

Ignition

C

BARE

514

Ground - Shield

D

BRN/WHT

367

Left Audio

E

ORN

1340

Power

F

DK GRN/WHT

368

Right Audio

G

BLK/WHT

372

Audio Common

H

BLK

350

Ground

J

BLK/WHT

3835

Bus Clock

K

BLK

2835

Bus to Radio

CD Jumper Inline (M) - Jumper Harness - I/P Center - Under Front of Console (Part of CD Changer)


Object Number: 884289  Size: CH

Connector Part Information

    • 12064770
    • Natural

Pin

Wire Color

Circuit Number

Function

A

DK GRN

835

E/C Data Line

B

YEL

43

Ignition

C

BARE

514

Ground - Shield

D

BRN/WHT

367

Left Audio

E

ORN

1340

Power

F

DK GRN/WHT

368

Right Audio

G

BLK/WHT

372

Audio Common

H

BLK

350

Ground

J

BLK/WHT

3835

Bus Clock

K

BLK

2835

Bus to Radio

Crankshaft Position Sensor Inline (CPS Side) - DOHC Only - Engine Compartment - On Lower Rear of Block


Object Number: 884175  Size: CH

Connector Part Information

    • 12162000
    • Black

Pin

Wire Color

Circuit Number

Function

A

PPL

574

Crankshaft Position Sensor - 7X Ref - LO

B

YEL

573

Crankshaft Position Sensor - 7X Ref - HI

Crankshaft Position Sensor Inline (Harness Side) - DOHC Only - Engine Compartment - On Lower Rear of Block


Object Number: 884168  Size: CH

Connector Part Information

    • 12052641
    • Black

Pin

Wire Color

Circuit Number

Function

A

PPL

574

PCM - 7X Ref - LO

B

YEL

573

PCM - 7X Ref - HI

Decklid/Body Inline - Body harness Side - 2000/2001 Coupe - Rear Compartment - Left Rear Shock Tower


Object Number: 884397  Size: CH

Connector Part Information

    • 12078169
    • Natural

Pin

Wire Color

Circuit Number

Function

A

LT GRN

24

I/P to Body Inline - Backup Lamp - R

B

BLK

550

Left Rear Body Ground Splice Pack - Backup Lamp Ground - R

C

BRN

9

IPFB - License Lamps

D

BLK

550

Left Rear body Ground Splice Pack - License Lamps Ground

E

LT GRN

24

I/P to Body Inline - Backup Lamp - L

F

BLK

550

Left Rear body Ground Splice Pack - Backup Lamp Ground - L

G

BLK

550

Left Rear Body Ground Splice Pack - Cargo Lamp Ground

H

ORN/BLK

737

IPFB - Cargo Lamp Control

J

BLK

550

Left Rear Body Ground Splice Pack - Decklid Release Solenoid Ground

K

GRY

382

IPFB - Decklid Release Solenoid Feed

Decklid/Body Inline - Body Harness Side - Sedan - Rear Compartment - Left Rear Shock Tower


Object Number: 884407  Size: CH

Connector Part Information

    • 12077777
    • Blue

Pin

Wire Color

Circuit Number

Function

A

BRN

9

IPFB - License - L

B

BLK

550

Left Rear Ground Splice Pack - License Lamp Ground - L

C

BRN

9

IPFB - License Lamp - R

D

BLK

550

Left Rear Ground Splice Pack - License Lamp Ground - R

E

BLK

550

Left Rear Ground Splice Pack - Ground Terminal

F

RED/BLK

744

IPFB - Cargo Lamp Switch

G

GRY

382

IPFB - Decklid Release Solenoid

H

BLK

550

Left Rear Ground Splice Pack - Decklid Release Solenoid Ground

Decklid/Body Inline - Decklid Harness Side - Coupe - Rear Compartment - Left Rear Shock Tower


Object Number: 884279  Size: CH

Connector Part Information

    • 12064769
    • Natural

Pin

Wire Color

Circuit Number

Function

A

LT GRN

24

Backup Lamp - R

B

BLK

550

Backup Lamp Ground - R

C

BRN

9

License Lamps

D

BLK

550

License Lamp Ground

E

LT GRN

24

Backup Lamp - L

F

BLK

550

Backup Lamp Ground - L

G

BLK

550

Cargo Lamp Ground

H

ORN/BLK

737

Cargo Lamp Control

J

BLK

550

Decklid Release Solenoid Ground

K

GRY

382

Decklid Release Solenoid Feed

Decklid Inline - To Body Harness - Coupe - Rear Compartment - Left Rear Shock Tower


Object Number: 884279  Size: CH

Connector Part Information

    • 12064769
    • Natural

Pin

Wire Color

Circuit Number

Function

A - B

--

--

Not Used

C

BRN

9

License Lamps

D

BLK

550

License Lamps Ground

E - F

--

--

Not Used

G

BLK

550

Cargo Lamp Ground

H

RED/BLK

744

Cargo Lamp Control

J

BLK

550

Decklid Release Motor Ground

K

GRY

382

Decklid Release Motor Feed

Decklid/Body Inline - Decklid Harness Side - Sedan - Rear Compartment - Left Rear Shock Tower


Object Number: 884407  Size: CH

Connector Part Information

    • 12064766
    • Blue

Pin

Wire Color

Circuit Number

Function

A

BRN

9

License - Lamp Ground - L

B

BLK

550

License Lamp Ground - L

C

BRN

9

License Lamp - R

D

BLK

550

License Lamp Ground - R

E

BLK

550

Cargo Lamp Switch - Ground Terminal

F

RED/BLK

744

Cargo Lamp Switch

G

GRY

382

Decklid Release Solenoid

H

BLK

550

Decklid Release Solenoid Ground

Decklid Inline - To Body Harness - Sedan (Decklid Harness Side) - Rear Compartment - Left Rear Shock Tower


Object Number: 884409  Size: CH

Connector Part Information

    • 12064766
    • Blue

Pin

Wire Color

Circuit Number

Function

A

BRN

9

License Lamp - L

B

BLK

550

License LR Ground - L

C

BRN

9

License Lamp - R

D

BLK

550

License Lamp Ground - R

E

BLK

550

Ground Terminal

F

RED/BLK

744

Cargo Lamp Switch

G

GRY

382

Decklid Release Motor

H

BLK

550

Decklid Release Motor Ground

Decklid Inline - To Decklid Harness - Coupe - Rear Compartment - Left Rear Shock Tower


Object Number: 884397  Size: CH

Connector Part Information

    • 12078169
    • Natural

Pin

Wire Color

Circuit Number

Function

A - B

--

--

Not Used

C

BRN

9

License Lamps

D

BLK

550

License Lamps

E - F

--

--

Not Used

G

BLK

550

Cargo Lamp Ground

H

RED/BLK

744

Cargo Lamp Control

J

BLK

550

Decklid Release Motor Ground

K

GRY

382

Decklid Release Motor Feed

Decklid Inline - To Decklid Harness - Sedan - Rear Compartment - Left Rear Shock Tower


Object Number: 884407  Size: CH

Connector Part Information

    • 12077777
    • Blue

Pin

Wire Color

Circuit Number

Function

A

BRN

9

License - L

B

BLK

550

License LR Ground - L

C

BRN

9

License Lamp - R

D

BLK

550

License Lamp Ground - R

E

BLK

550

Ground Terminal

F

RED/BLK

744

Cargo Lamp Switch

G

GRY

382

Decklid Release Motor

H

BLK

550

Decklid Release Motor Ground

Fuel Tank Inline (F) - Rear Compartment - Left


Object Number: 884582  Size: CH

Connector Part Information

    • 12020398
    • Black

Pin

Wire Color

Circuit Number

Function

A

GRY

120

IPFB Fuel Pump Fuse - Feed

B

PPL

30

I/P Body Inline - Level Sensor

C

BLK/WHT

251

I/P Body Inline - Level Sensor

Fuel Tank Inline (M) - Rear Compartment - Left


Object Number: 884588  Size: CH

Connector Part Information

    • 12020397
    • Black

Pin

Wire Color

Circuit Number

Function

A

GRY

120

Fuel Pump/Tank Sensor Unit - Feed

B

PPL

30

Fuel Pump/Tank Sensor Unit - Level Sensor

C

BLK/WHT

251

Fuel Pump/Tank Sensor Unit - Level Sensor

Headliner/Body Inline - Coupe (Body Harness Side) - Left B-Pillar


Object Number: 884624  Size: CH

Connector Part Information

    • 15336543
    • Black

Pin

Wire Color

Circuit Number

Function

A

WHT

156

I/P to Body Inline - Dome Switch

B

ORN

340

IPFB Body Fuse to Dome Bulb

C

BLK

550

Left Rear Body Ground Splice Pack - Dome Ground

D

LT BLU

20

I/P to Body Inline - CHMSL

E

BLK

550

Left Rear Body Ground - Cargo Lamp Ground

F-G

--

--

Not Used

Headliner Body/Inline - Coupe/Sedan/Wagon (Headliner Harness Side) - Left D-Pillar -- (Upper Rear) (Wagon)


Object Number: 884626  Size: CH

Connector Part Information

    • 12047886
    • Black

Pin

Wire Color

Circuit Number

Function

A

WHT

156

Dome Switch

B

ORN

340

B+ to Dome Bulb

C

BLK

550

B+ to Dome Bulb

D

WHT

156

Cargo Lamp Switch

LT BLU

20

CHMSL

E

BLK

550

Cargo Lamp Ground CHMSL Ground

F

ORN

340

Cargo Lamp Bulb

Headliner/Body Inline - Sedan (Body Harness Side) - Left D-Pillar


Object Number: 884630  Size: CH

Connector Part Information

    • 12084256
    • Black

Pin

Wire Color

Circuit Number

Function

A

WHT

156

Dome Switch

B

BLK

550

Dome Ground (SL)

C

ORN

340

Dome Bulb (SL)

D

LT BLU

20

To CHMSL (SL)

E

BLK

550

SHMSL Ground (SL)

Headliner/Body Inline - Wagon (Body Harness Side) - Left D-Pillar - (Upper Rear) (Wagon)


Object Number: 884633  Size: CH

Connector Part Information

    • 12084256
    • Black

Pin

Wire Color

Circuit Number

Function

A

WHT

156

Dome Switch

B

BLK

550

Dome Ground (SW)

C

ORN

340

Dome Bulb (SW)

D

WHT

156

Cargo Lamp Switch (SW)

E

BLK

550

Cargo Lamp Ground (SW)

F

ORN

340

Cargo Lamp Bulb (SW)

Headliner/Body Inline - Wagon, Coupe, Sedan (Headliner Harness Side) Left D-Pillar - (Upper Rear) (Wagon)


Object Number: 884626  Size: CH

Connector Part Information

    • 12047886
    • Black

Pin

Wire Color

Circuit Number

Function

A

WHT

156

Dome Switch

B

ORN

340

B+ to Dome Bulb

C

BLK

550

Dome Ground

D

WHT

156

Cargo Lamp Switch (SW)

LT BLU

20

To CHMSL (SC, SL)

E

BLK

550

Ground

F

ORN

340

Cargo Lamp Bulb

I/P to Body Inline (Body Side) - Wagon - Hinge Pillar - Left Front


Object Number: 884779  Size: CH

Connector Part Information

    • 12092248
    • Black

Pin

Wire Color

Circuit Number

Function

A

DK GRN

392

Rear Window Washer Pump Motor - High

B

WHT

393

Rear Window Wiper Pump Motor - High

C

LT GRN

200

Right Front Speaker (+)

D

DK GRN

117

Right Front Speaker (-)

E

TAN

201

Left Front Speaker (+)

F

GRY

118

Left Front Speaker (-)

G

LT BLU

20

Brakes - CHMSL

H

WHT

30

Fuel Tank Inline - Fuel Level

J

BLK/WHT

251

Fuel Tank Inline - Fuel Return

K

LT BLU

20

Brakes - Stop Lamp

L

WHT

156

Cargo Lamp Switch

M

LT GRN

24

Backup Lamps

N

BLK

884

Left Rear Wheel Sensor

P

RED

885

Left Rear Wheel Sensor

R

WHT

883

Right Rear Wheel Sensor

S

BRN

882

Right Rear Wheel Sensor

T

DK GRN

890

Fuel Tank Pressure Sensor - Signal to PCM

U

GRY

416

5V Ref Fuel Pressure Sensor

V

BRN

199

Left Rear Speaker (+)

W

YEL

116

Left Rear Speaker (-)

X

DK BLU

46

Right Rear Speaker (+)

Y

LT BLU

115

Right Rear Speaker (-)

Z

WHT

1310

Evaporative Emission (EVAP) Vent Solenoid

I/P to Body Inline (I/P Side) - Hinge Pillar - Left Front


Object Number: 884786  Size: CH

Connector Part Information

    • 12092249
    • Black

Pin

Wire Color

Circuit Number

Function

A

DK GRN

392

Rear Wiper Pump Switch

B

WHT

393

Rear Wiper Switch

C

LT GRN

200

Right Front Speaker (+)

D

DK GRN

117

Right Front Speaker (-)

E

TAN

201

Left Front Speaker (+)

F

GRY

118

Left Front Speaker (-)

G

LT BLU

20

Brake Switch

H

PPL

30

Powertrain Control Module - Fuel Level

J

BLK/WHT

251

Powertrain Control Module - Fuel Level Return

K

LT BLU

20

Brake Switch

L

WHT

156

Dome Lamp

M

LT GRN

24

Backup Lamp Switch

N

BLK

884

EBTCM - Left Rear (-)

P

RED

885

EBTCM - Left Rear (+)

R

WHT

883

EBTCM - Right Rear (-)

S

BRN

882

EBTCM - Right Rear (+)

T

DK GRN

890

Powertrain Control Module - Fuel Pressure

U

GRY

416

5V Ref Tank Pressure Sensor

V

BRN

199

Left Rear Speaker (+)

W

YEL

116

Left Rear Speaker (-)

X

DK BLU

46

Right Rear Speaker (+)

Y

LT BLU

115

Right Rear Speaker (-)

Z

WHT

1310

Powertrain Control Module - Fuel Tank Vent Out

I/P to Roll Connector Inline - I/P - Steering Wheel


Object Number: 884800  Size: CH

Connector Part Information

    • 12064761
    • Black

Pin

Wire Color

Circuit Number

Function

A

BLK

28

UHFB - Horn Relay

B

--

--

Not Used

C

GRY

1884

PCM - Cruise Control Switch Output

D

PNK

539

IPFB Ignition Feed to Cruise Control Switch

I/P to Roll Connector Inline - Roll Connector - I/P - Lower Left


Object Number: 884805  Size: CH

Connector Part Information

    • 12064760
    • Black

Pin

Wire Color

Circuit Number

Function

A

BLK

28

Horn Switch

B

--

--

Not Used

C

GRY

1884

Cruise Set/Resume

D

PNK

539

Cruise ON/OFF Switch

License Lamps/Decklid Harness Inline - Coupe Only (Decklid Harness Side) - Rear of Decklid


Object Number: 884168  Size: CH

Connector Part Information

    • 12052641
    • Black

Pin

Wire Color

Circuit Number

Function

A

BRN

9

Decklid Inline - Power

B

BLK

550

Decklid Inline - Ground

License Lamps/Decklid Harness Inline - Coupe Only (License Lamp Jumper Side) - Rear of Decklid


Object Number: 884873  Size: CH

Connector Part Information

    • 12052647
    • Black

Pin

Wire Color

Circuit Number

Function

A

BRN

9

License Lamps - Power

B

BLK

550

License Lamps - Ground

License Lamps harness Inline - Decklid Harness (Coupe Only) - Rear of Decklid


Object Number: 884168  Size: CH

Connector Part Information

    • 12052641
    • Black

Pin

Wire Color

Circuit Number

Function

A

BRN

9

Power

B

BLK

550

Ground

Liftgate Inline - Wagon (Body Harness) - Roof - Rear Center


Object Number: 884409  Size: CH

Connector Part Information

    • 12064766
    • Blue

Pin

Wire Color

Circuit Number

Function

A

BRN

9

IPFB - License Park Lamps

B

ORN

580

IPFB - Sun Fuse

C

WHT

393

I/P to Body Inline - License Rear Wiper Switch

D

LT BLU

20

I/P to Body Inline - Stop Lamp Switch

E

BLK

550

Left Rear Ground Splice Pack

F

BLK

550

Left Rear Ground Splice Pack

G

GRY

382

IPFB - BCM and Liftgate Release Switch

H

BLK

550

Left Rear Ground Splice Pack

Liftgate Inline - Wagon (Body Harness) - Roof - Rear Center


Object Number: 884877  Size: CH

Connector Part Information

    • 12129136
    • Black

Pin

Wire Color

Circuit Number

Function

A

BLK

293

IPFB - Rear Defog Relay

B

BLK

550

Left Rear Ground Splice Pack

C

ORN/BLK

737

IPFB to BCM

D

BLK

550

Left Rear Ground Splice Pack

Liftgate Inline - Wagon (Body Harness) - Roof - Rear Center


Object Number: 884805  Size: CH

Connector Part Information

    • 12064760
    • Black

Pin

Wire Color

Circuit Number

Function

A

LT BLU

115

I/P to Body Inline

B

DK BLU

46

I/P to Body Inline

C

BRN

199

I/P to Body Inline

D

YEL

116

I/P to Body Inline

Liftgate Inline - Wagon (Liftgate Harness) - Roof - Rear Center


Object Number: 884878  Size: CH

Connector Part Information

    • 12064767
    • Blue

Pin

Wire Color

Circuit Number

Function

A

BRN

9

IDC - License Lamps

B

ORN

580

Rear Wiper Motor

C

WHT

393

Rear Wiper Motor

D

LT BLU

20

CHMSL

E

BLK

550

Ground - Wiper Motor

F

BLK

550

Ground - CHMSL

G

GRY

382

To Liftgate Release Motor

H

BLK

550

Ground - Liftgate Ajar Switch

Liftgate Inline - Wagon (Liftgate Harness) - Roof - Rear Center


Object Number: 884879  Size: CH

Connector Part Information

    • 12129135
    • Black

Pin

Wire Color

Circuit Number

Function

A

BLK

293

Rear Defog (+)

B

BLK

550

Rear Defog Ground

C

ORN/BLK

737

Liftgate Ajar Switch

D

BLK

550

Liftgate Release Motor

Liftgate Inline - Wagon (Liftgate Harness) - Roof - Rear Center


Object Number: 884800  Size: CH

Connector Part Information

    • 12064761
    • Black

Pin

Wire Color

Circuit Number

Function

A

LT BLU

115

Right Rear Speaker (-)

B

DK BLU

46

Right Rear Speaker (+)

C

BRN

199

Left Rear Speaker (+)

D

YEL

116

Left Rear Speaker (-)

SIAB Sensor Connector - Inline (Sedan/Wagon Only)


Object Number: 884118  Size: CH

Connector Part Information

    • 12065651
    • Black

Pin

Wire Color

Circuit Number

Function

A

TAN

2133

SDM to SIAB Sensor RH

YEL

2131

SDM to SIAB Sensor LH

B

BLK

2108

SDM to SIAB Sensor RH

PPL

2107

SDM to SIAB Sensor LH

SIAB Sensor Connector - Inline (Sedan/Wagon Only)


Object Number: 884121  Size: CH

Connector Part Information

    • 12052832
    • Black

Pin

Wire Color

Circuit Number

Function

A

TAN

2133

SDM to SIAB Sensor RH

YEL

2131

SDM to SIAB Sensor LH

B

BLK

2108

SDM to SIAB Sensor RH

PPL

2107

SDM to SIAB Sensor LH

Sunroof to Body Inline Body Side Connector - Sedan/Coupe - Right B-Pillar Base


Object Number: 885078  Size: CH

Connector Part Information

    • 12065658
    • Black

Pin

Wire Color

Circuit Number

Function

A

BLK/WHT

550

Map Light Ground

B

ORN/BLK

340

Map Light Power

C

ORN

580

Sunroof Power

D

BLK

550

Sunroof Ground

Sunroof to Body Inline - Sunroof Side Connector - Right B-Pillar Base


Object Number: 884805  Size: CH

Connector Part Information

    • 12064760
    • Black

Pin

Wire Color

Circuit Number

Function

A

BLK

550

Map Light Ground

B

ORN

340

Map Light Power

C

ORN

580

Sunroof Power

D

BLK

550

Sunroof Ground