GM Service Manual Online
For 1990-2009 cars only

Wiper Blade Element Replacement 1st Design

Removal Procedure


Object Number: 863871  Size: SH

Important: The right and left wiper blades are different lengths. Ensure that the longer blade is installed into the left-hand side.

Remove the existing wiper blade insert by pulling on the insert at the base of the wiper blade assembly until the insert is fully removed.

Installation Procedure


    Object Number: 866870  Size: SH

    Important: The wiper blade insert can be installed from either end of the wiper blade.

    Important: Do not remove the retainer clips from the new wiper blade insert until installed.

  1. Install the wiper blade insert by sliding it through the wiper blade claws until fully assembled into the wiper blade. Remove the clips as needed when sliding the insert through the claws.

  2. Object Number: 866872  Size: SH
  3. Secure the wiper blade insert to the wiper blade by pulling the insert so that the notches engage into the heel claw.

Wiper Blade Element Replacement 2nd Design

Removal Procedure


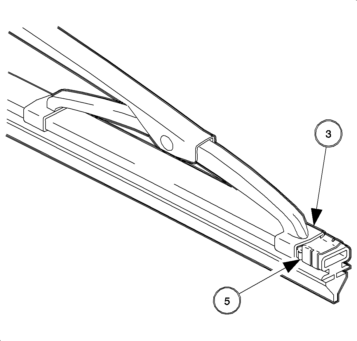
Object Number: 869243  Size: SH

Remove the wiper blade insert (2) by squeezing the metal clip and pulling on the end of the insert at the heel claw (3).

Installation Procedure


    Object Number: 869249  Size: SH

    Important: 

       • The right and left wiper blades are different lengths. Ensure that the longer blade is installed into the left-hand side.
       • The wiper blade insert can be installed from either end of the wiper blade.
       • Do not remove the retainer clips from the new wiper blade insert until installed.

  1. Starting with the heel claw (3), slide the wiper blade insert into the wiper blade so that the claw engages in the groove of the wiper blade insert.
  2. Slide the wiper blade insert through the remaining claws on the wiper blade. Ensure that the claws engage in the groove of the wiper blade insert as in previous step.

  3. Object Number: 869253  Size: SH

    Notice: If the metal clip on the wiper blade insert is not completely engaged to the heel claw, the wiper blade insert will not be sufficiently retained and may result in windshield damage.

  4. Push the wiper blade insert so that the metal clip (5) engages to the heel claw (3).