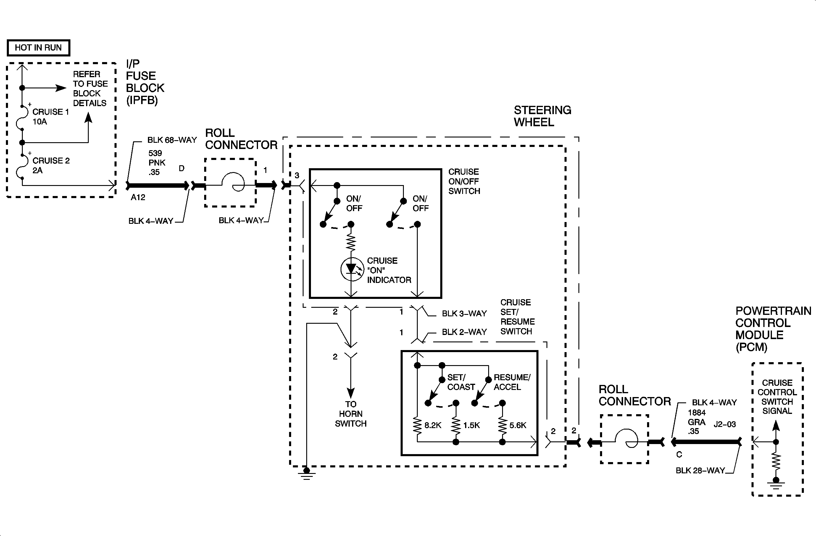
The cruise control switches are used as inputs to the powertrain control module (PCM) to allow cruise On/Off, setting/resuming or increasing/decreasing vehicle cruise speed. Through a series of resistors in the cruise control switches and the PCM, the PCM can determine if the cruise switch is On and if the SET/COAST or the RES/ACCEL buttons are being depressed. The PCM cruise control input signal voltage level will change as these switches are cycled. The PCM will monitor the input signal for voltage levels that are out of range. If the input signal to the PCM is open or grounded, this fault acts as if the cruise switch is Off and no DTC will be set. DTC P0565 sets when the cruise control input signal voltage does not fall in a valid range.
| • | The cruise switch is On and the input voltage is less than 0.47 volts or greater than 0.93 volts. |
| OR |
| • | The RES/ACCEL switch is depressed with the cruise switch On and the input voltage is less than 1.15 volts or greater than 2.0 volts. |
| OR |
| • | The SET/COAST switch is depressed with the cruise switch On and the input voltage is less than 2.63 volts or greater than 4.32 volts. |
All voltage values are based on the range of 8-16 ignition volts.
DTC P0565 diagnostic runs continuously with the engine running.
DTC P0565 is a type D DTC.
An open, a short to ground or a short to voltage on circuit 1884 will disable cruise.
An open or a short to ground on circuit 339 or 1884 should NOT set this DTC, as this looks like the cruise switch has been turned Off. A short to voltage on circuit 1884 will, however.
To locate an intermittent problem, use the scan tool to monitor the CRUISE SWITCH, the CRUISE RES/ACCEL and the CRUISE SET/COAST while cycling the switches On and Off. Wiggling wires while monitoring the scan tool switch statuses may locate the problem.