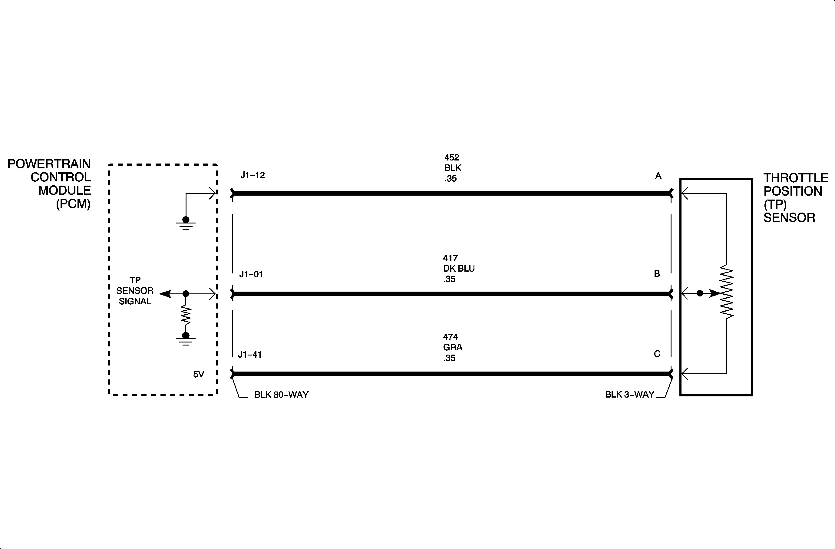
The throttle position (TP) sensor is a potentiometer that varies resistance according to changes in throttle plate position. The powertrain control module (PCM) measures the signal voltage from the TP sensor which is a reduced value of the PCM 5-volt reference. The voltage ranges from 0.4 (+/-0.2) volts at 0% throttle position to 4.7 volts at wide open throttle. DTC P0122 sets when the TP sensor signal voltage at the PCM is below the calibrated voltage value.
DTC P0122 will set if TP sensor voltage is less than 0.2 volts when:
| • | The condition exists for longer than 10 seconds. |
| • | The ignition is ON. |
DTC P0122 diagnostic runs continuously with ignition ON.
DTC P0122 is a type A DTC.
Important: If DTC P1635 is set, diagnose that DTC first.
To locate an intermittent problem, use a scan tool to monitor TP SENSOR voltage with ignition ON, engine OFF. Wiggling the wires while watching for a change in TP SENSOR voltage may locate the area where an open or short to ground in the wiring could lie.
An intermittent open in the TP SENSOR can cause this DTC to set. Use the scan tool to monitor TP SENSOR as the accelerator pedal is slowly depressed. The voltage should change smoothly from 0.4 volts at 0% throttle, to 4.7 volts at wide open throttle (+/-0.2 volts).