The powertrain control module (PCM) controls spark timing and dwell (spark On-time) under all engine running conditions. The electronic ignition (EI) module has the ability to charge and discharge the coil packs based on PCM control. The PCM uses a high control signal of near 5 volts to charge up the coil and a low control signal of near 0 volts to discharge the coil. If the coil is charged and the control signal is high, the coil will fire through its secondary towers. DTC P0352 sets when a short to ground exists on ignition control (IC) circuit 2 and 3 during engine crank or when the engine is running.
DTC P0352 will set if a short to ground occurs on IC circuit 2 and 3 when:
| • | The condition exists for longer than 0.5 seconds. |
| • | The engine is cranking or running. |
DTC P0352 diagnostic runs continuously when the engine is cranking or running.
DTC P0352 is a type D DTC.
The IC circuit 2 and 3 consists of the EI module, circuit 406 and the PCM.
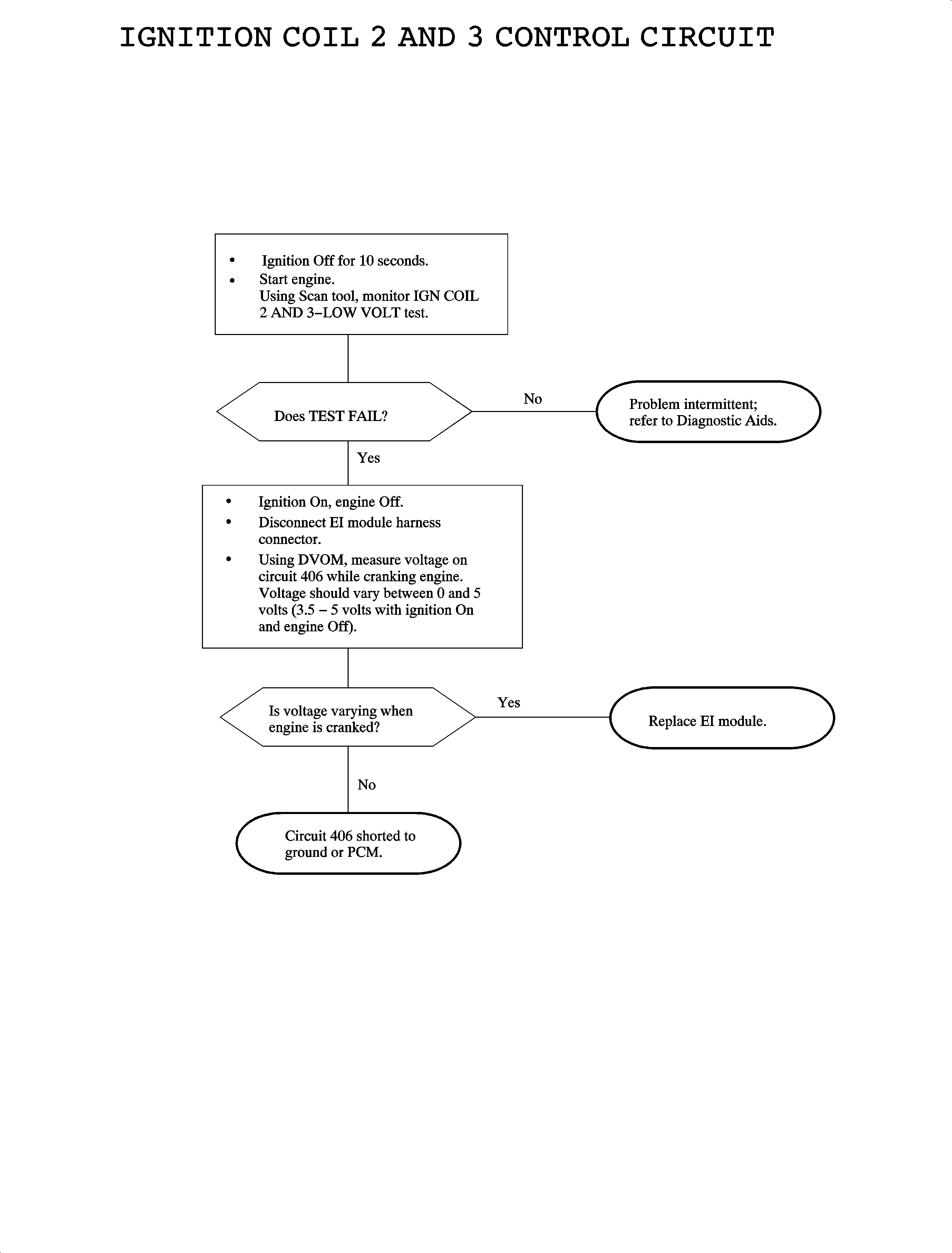
The voltage on circuit 406 with EI module disconnected and ignition ON, engine OFF should read between 3.5-5 volts.
A short to ground on IC circuit 2 and 3 will cause a misfire on both cylinders 2 and 3. Use the scan tool to monitor MISFIRE CURRENT CYLS #2 and #3 to locate an intermittent problem.
The IGN COIL 2 AND 3-LOW VOLT test parameter on scan tool can also be used to locate an intermittent problem. If a fault (short to ground) occurs when engine is running, the scan tool will display TEST FAIL.
A secondary ignition problem on cylinder #2 or #3 will NOT cause DTC P0352 to set.