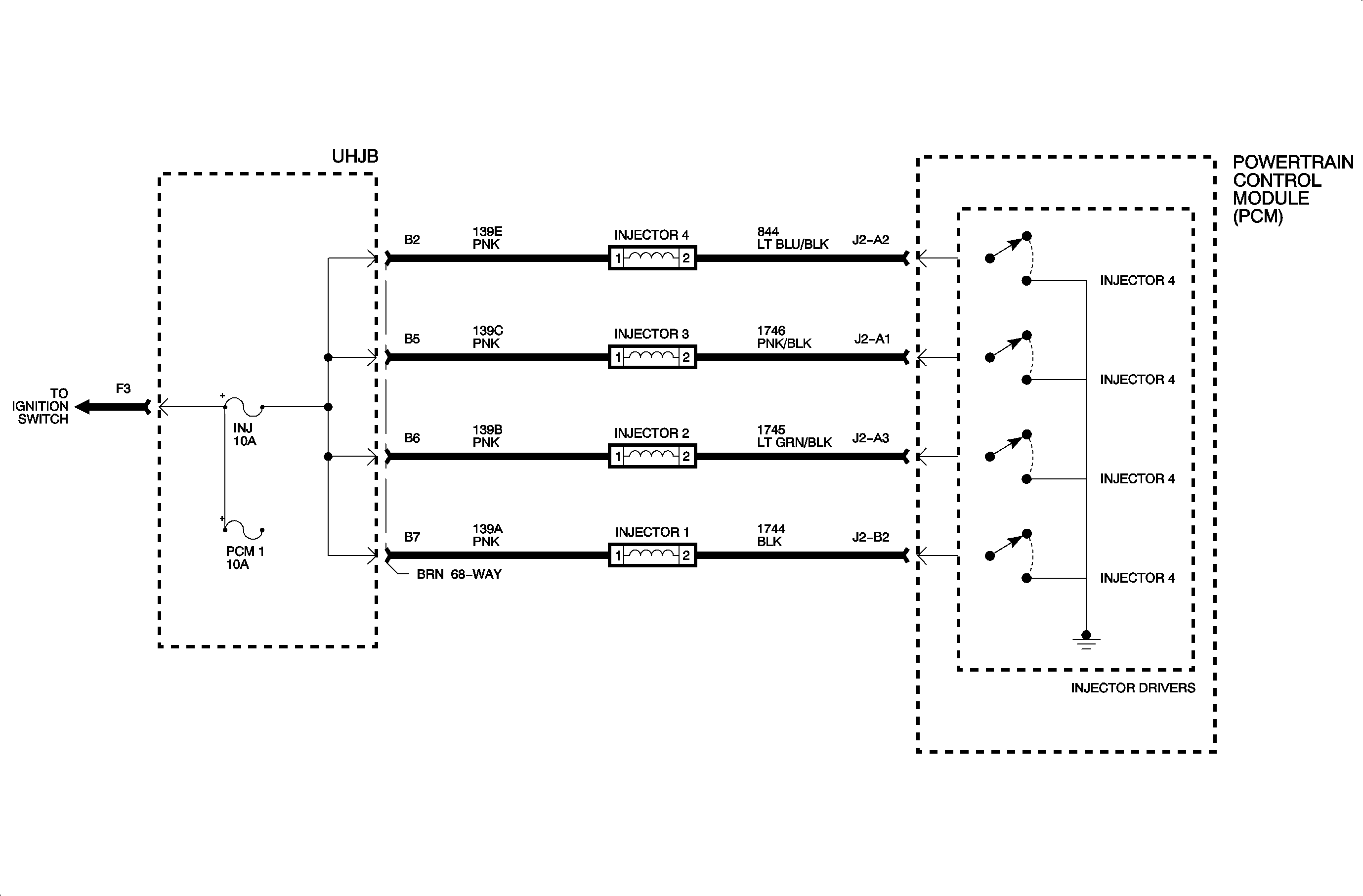
The injector system on both SOHC and DOHC engines utilize sequential fuel injection (SFI). The PCM independently controls each fuel injector through a driver circuit, in accordance with the intake valve opening. The driver circuit is internally located in the PCM providing the ground for each injector. The length and time an injector is help open, grounded by the PCM, is calculated based on engine speed load and valve location from the crankshaft position sensor.
Important: The injector circuit is continuously checked when the engine is running.
DTC P0201, P0202, P0203, or P0204 will set if an injector circuit is open, shorted to voltage, or shorted to ground.
An open or shorted injector circuit will cause a misfire DTC to set. Diagnose an injector code first if an injector and a misfire DTC occur.
| • | Fuel in the oil is a good suspect of a leaking or grounded injector. |
| • | Each injector is supplied battery voltage when the key is in the ON position. |
| • | Injector resistance is 12 ohms. |