GM Service Manual Online
For 1990-2009 cars only

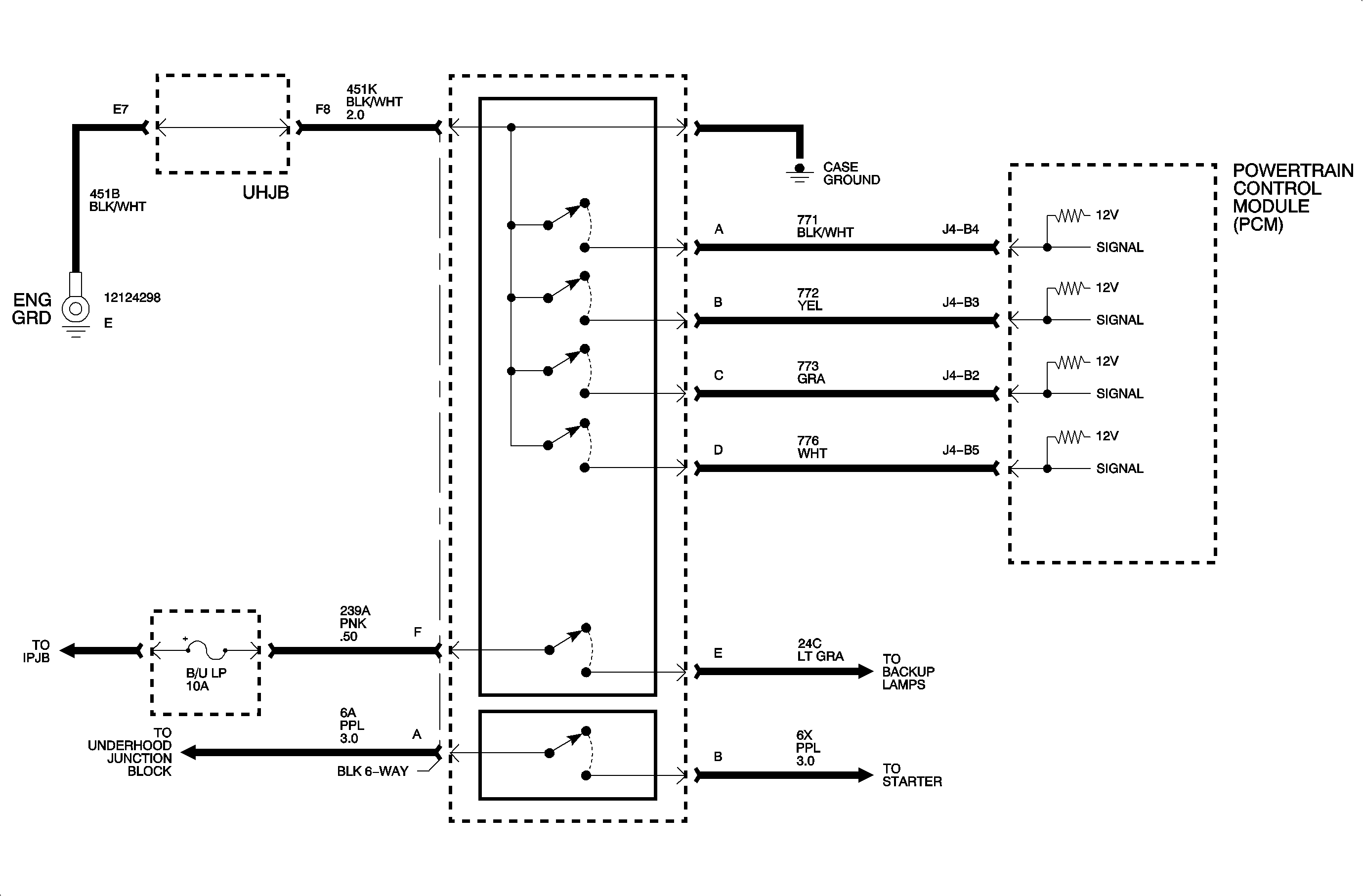
Circuit Description


Object Number: 902195  Size: MF

The PCM determines which gear is selected by a combination of opens and grounds in circuits 771, 772, and 773 at the transaxle park/neutral position switch. Each combination indicates a specific selection on the manual shift quadrant, P, R, N, D, 3, or 2. Circuit 776 is either open or grounded to produce an even parity for each manual shift quadrant. Undefined data indicates that at least 1 of the circuits 771, 772, or 773 was open when it should have been grounded or was grounded when it should have been open.

Conditions for Setting the DTC

DTC P0705 is set when the PCM has detected an undefined bit pattern, of circuits 771, 772, 773, with 776 grounded for greater than 500 milliseconds, twice per ignition cycle.

The difference between DTC P0705 and DTC P0706 is that a possible bit pattern error due to misadjustment can not set a DTC P0705.

Test Description

Numbered steps below refer to steps on the trouble chart.

  1. This step verifies the conditions for DTC P0705 still exist.
  2. DTC P0705 is set by an undefined data condition which will not set due to a misadjusted shift cable or transaxle park/neutral position switch. DTC P0706 diagnoses an invalid data condition which may be caused by a cable or a park/neutral position switch misadjusted.
  3. A ground indication in a particular gear would be caused by 2 circuits being grounded while the switch is grounding 2 others.
  4. The PCM/TCM supplies 12 volts to each switch circuit. This step tests for that voltage.

Repair Verification

Monitor the DTC menu Code Status for Pass Since Code Clear and Pass This Ignition Cycle. When both have passed, the repair is verified.

Criteria for pass:

    • No active DTC set.
    • Two valid selector positions are decoded. You must move the shifter to obtain a pass.

Diagnostic Aids

When the PCM detects a fault in the circuit, an open, ground, or short, the PCM will open the circuit internally to protect the circuit.

    • A DTC P0705 can not be set due to misadjustment.
    • This DTC will cause the transaxle to start out in 2nd gear.

Gear Select

A

B

C

D

P

X

  

X

R

X

X

  

N

 

X

 

X

D4

 

X

X

 

D3

  

X

X

D2

X

 

X

 

X = Pin Grounded


Object Number: 902141  Size: FP