If a motor circuit is grounded. ABS will be disabled and the antilock telltale lamp will be turned On.
Code 62 sets if:
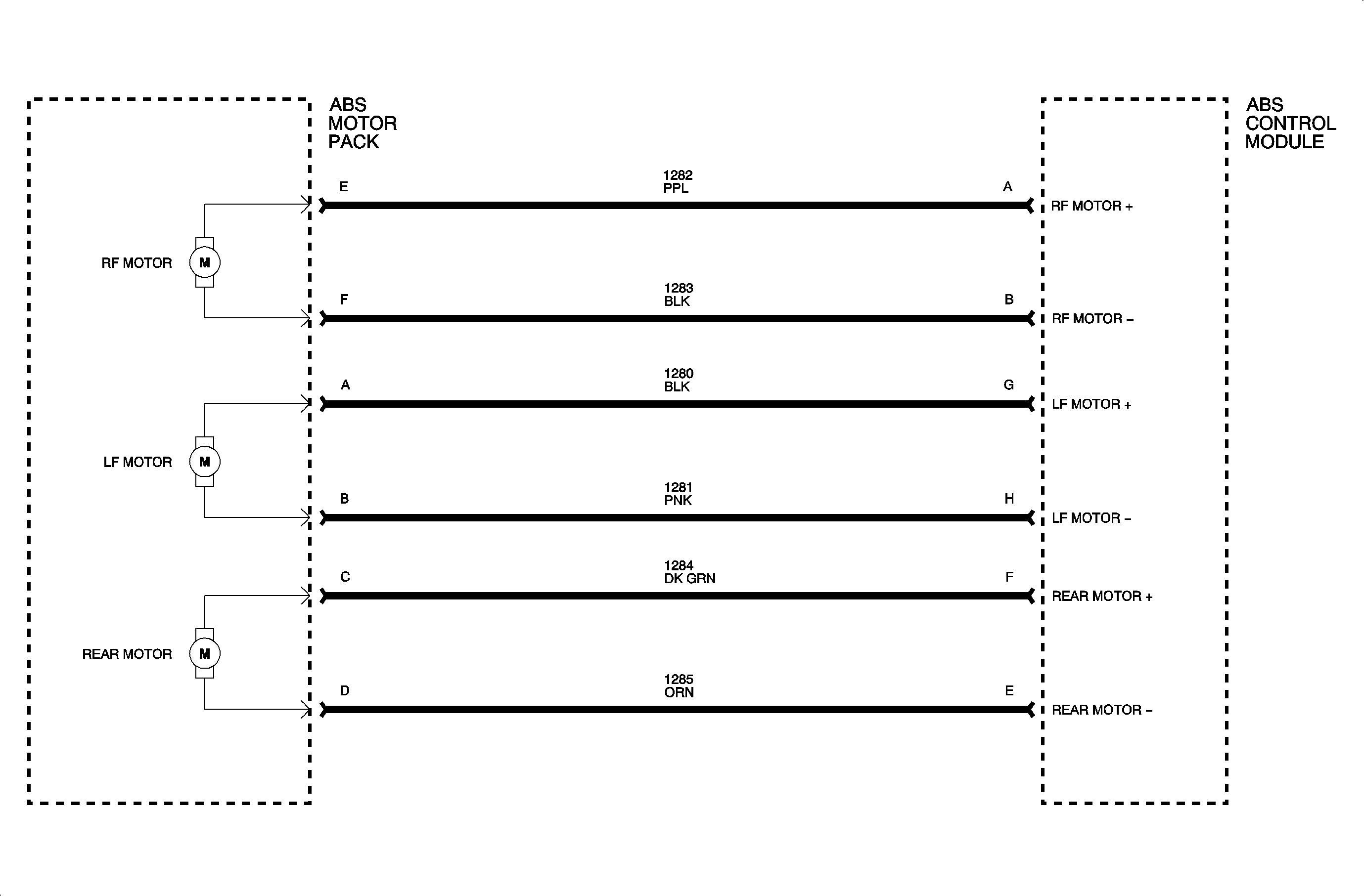
RF motor circuit is grounded.
This code can set at all times except when a previous failure has disabled ABS operation.
When attempting to diagnose an intermittent problem, use the Scan tool to review supplemental diagnostic information. The supplemental data can be used to duplicate a problem.
Select Malf History from scan tool ABS menu.
Check the tightness of the female terminal grip with a spare male terminal.
Motor resistance is less than 2 ohms.