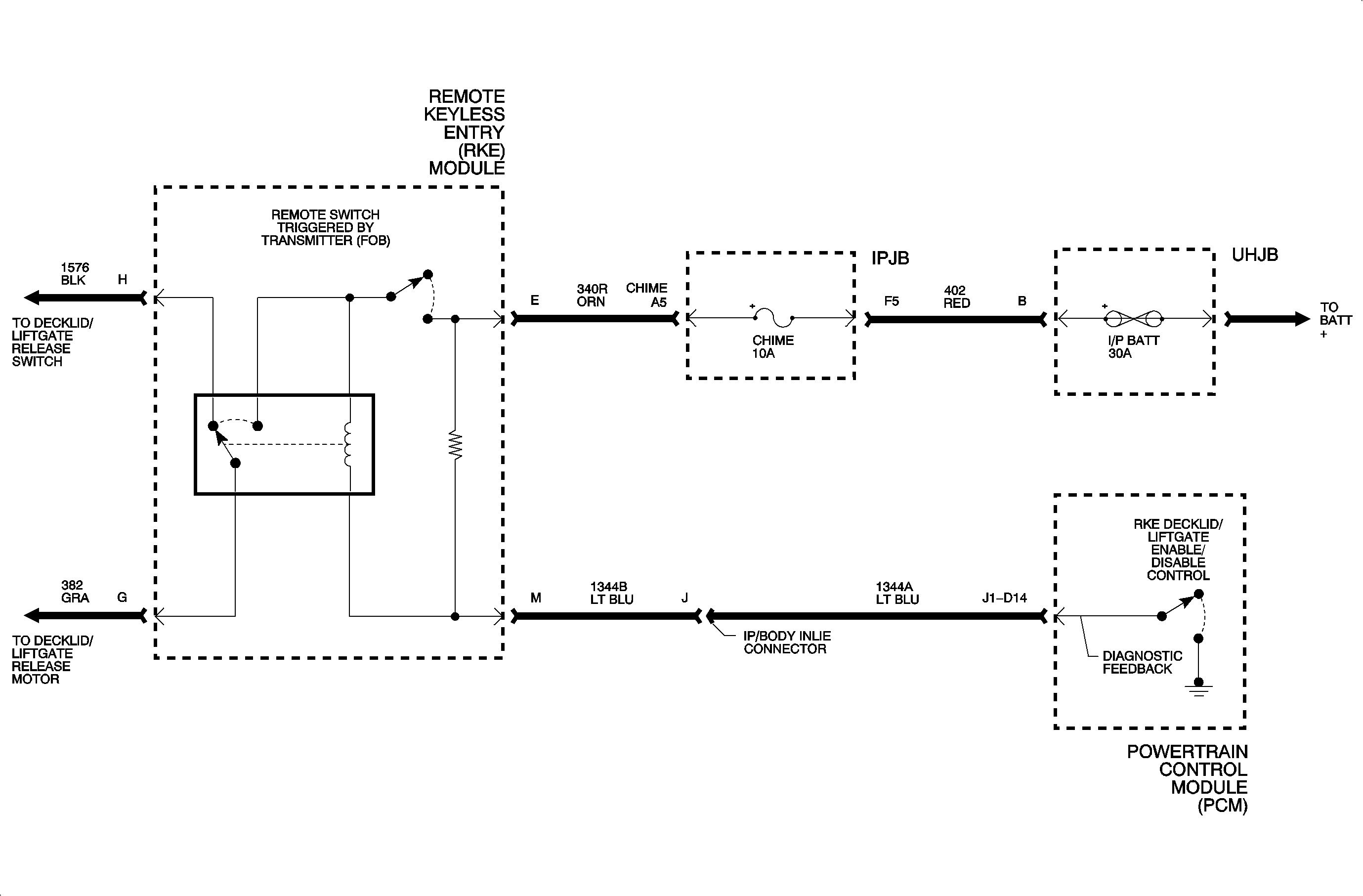
The PCM internal switch is normally closed when the vehicle is not moving. The RKE module remote switch is normally open. When the internal switch is closed, the PCM commands a "LOW," and the PCM diagnostic feedback should indicate a "LOW." In this state, when the vehicle symbol button is depressed on the transmitter, a signal is sent to the receiver module to close the remote switch. The PCM diagnostic feedback still detects a "LOW" due to the voltage drop across the coil. When the remote switch is closed, the coil is energized, and the internal relay switch closes to provide power to the decklid or liftgate release latch causing the decklid or liftgate to open. The PCM internal switch is commanded open when the vehicle is moving. The RKE module remote switch is normally open. when the internal switch is commanded open, the PCM diagnostic feedback should indicate a "HIGH." In this state, when the vehicle symbol button is depressed on the transmitter, a signal is sent to the receiver module to close the remote switch. However, even though the remote switch is closed, the coil never gets energized because the PCM internal switch remains open when the vehicle is moving. Therefore, power never reaches the decklid of liftgate release latch, causing the decklid or liftgate to remain closed while the vehicle is moving.
DTC P1695 is set when the PCM has detected an open or short to ground in the RKE circuitry (CKT 402, 440R, 1344B, 1344A). The following conditions must occur to set DTC P1695:
| • | The vehicle is moving. |
| • | The remote switch is either open or closed. |
| • | The PCM switch is commanded open: "HIGH," but the diagnostic feedback indicates a "LOW." |
RKE system testing can be accessed on the Scan Tool by selecting SPECIAL TEST, OPTIONS, and then RKE.
If the problem is intermittent, use the Scan tool to view the status of the PCM diagnostic feedback. When the vehicle is not moving, the PCM diagnostic feedback should indicate a "LOW." Use the Scan tool to command the PCM switch open: "HIGH." Wiggle wires while monitoring the PCM diagnostic feedback and watch it change in status from "LOW" to "HIGH."
When performing function checks on the RKE system, be sure to do the following:
| • | Move vehicle outside and as far away as possible from motors, heaters, alarm systems, interfering frequencies, vehicles, building walls, and metal objects. This is to prevent any outside forces from influencing the system performance. |
| • | Turn ignition Off, roll windows down, and close doors. If the system is not working, this is to prevent locking your keys or anything else in the vehicle while performing diagnostics. |