GM Service Manual Online
For 1990-2009 cars only

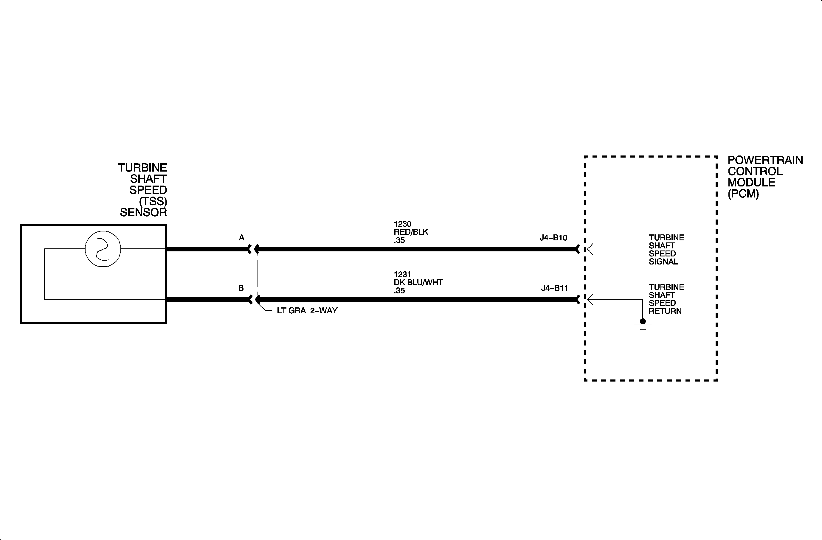
Circuit Description


Object Number: 902523  Size: MF

Speed signal noise is an irregularity in the normal stream of turbine shaft speed sensor signal pulses. There are 3 conditions that are identified as noise:

    • Missing pulses in a revolution of the turbine shaft
    • Extra pulses in a revolution of the turbine shaft, the time between pulses is too long in comparison to engine speed
    • Output speed

Conditions for Setting the DTC

DTC P0716 is set when the PCM has detected the following conditions for more than 70 milliseconds, twice per ignition cycle:

    • Turbine shaft speed noise parameter status equals YES.
    • Turbine shaft speed is greater than 1,400 RPM.
    • Noise is present for 0.7 seconds.

Test Description

Numbered steps below refer to numbered steps on the chart.

  1. This test checks the PCM connector for an open, spread or corroded terminals, or loose wires.
  2. This test checks turbine shaft speed (TSS) sensor connector for an open, spread, corroded terminals, or loose wires.
  3. This test checks the PCM for internal intermittent faults.
  4. This step is a visual inspection of the TSS sensor connector and the PCM connector to check for an open or spread or corroded terminals.
  5. This step checks for secondary ignition wires routed close to TSS sensor circuits 1230 and 1231 and lists other potential causes.

Repair Verification

Monitor the DTC menu Code Status for Pass Since Code Clear and Pass This Ignition Cycle. When both have passed, the repair is verified.

Criteria for pass:

    • Same as fail criteria
    • Noise not present for 0.5 seconds

Diagnostic Aids

Check the wire routing for possible chafed wires.


Object Number: 902631  Size: FP