GM Service Manual Online
For 1990-2009 cars only
Table 1: Mirror Motor - Right
Table 2: Mirror Motor - Left
Table 3: Mirror Motor Harness (RHDD) - Harness
Table 4: Mirror Motor (RHDD) - Mirror
Table 5: Mirror Switch
Table 6: Power Window/Rear Door - Sedan/Wagon
Table 7: Power Window Master Switch - Coupe
Table 8: Power Window Master Switch - Sedan/Wagon
Table 9: Rear Door Window Switches - Sedan/Wagon

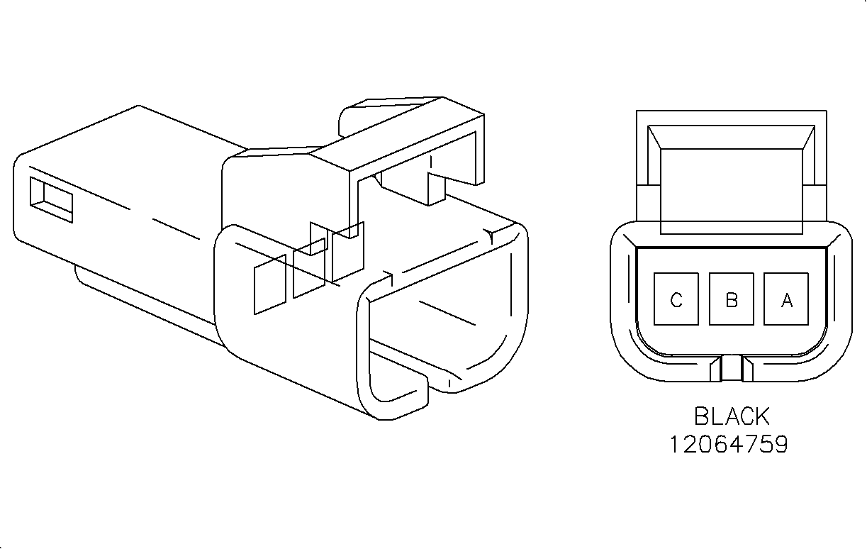
Mirror Motor - Right


Object Number: 884997  Size: CH

Connector Part Information

    • 12064759
    • BLK

Pin

Wire Color

Circuit No.

Function

A

WHT

81

Right/Left

B

LT BLU

82

Dual Circuit Up/Down/Right/Left

C

LT GRN

89

Up/Down

Mirror Motor - Left


Object Number: 884997  Size: CH

Connector Part Information

    • 12064759
    • BLK

Pin

Wire Color

Circuit No.

Function

A

RED/WHT

881

Right/Left

B

GRY

90

Dual Circuit Up/Down/Right/Left

C

PPL/889WHT

89

Up/Down

Mirror Motor Harness (RHDD) - Harness


Object Number: 884998  Size: CH

Connector Part Information

    • 12064763
    • GRY

Pin

Wire Color

Circuit No.

Function

A-B

--

--

Not Used

C

RED/WHT

WHT

881 (LT)

81 (RT)

Mirror Switch - Left/Right

D

GRA

LT BLU

90 (LT)

82 (RT)

Mirror Switch - Selector Switch

E

PPL/WHT

LT GRN

889 (LT)

89 (RT)

Mirror Switch - Up/Down

F

--

--

Not Used

Mirror Motor (RHDD) - Mirror


Object Number: 884999  Size: CH

Connector Part Information

    • 12064762
    • GRY

Pin

Wire Color

Circuit No.

Function

A-B

--

--

Not Used

C

RED/WHT

WHT

881 (LT)

81 (RT)

Mirror Motor - Left/Right

D

GRY

LT BLU

90 (LT)

82 (RT)

Mirror Motor - Dual Circuit Up/Down - Left/Right

E

PPL/WHT

LT GRN

889 (LT)

89 (RT)

Mirror Motor - Up/Down

F

--

--

Not Used

Mirror Switch


Object Number: 885000  Size: CH

Connector Part Information

    • 12047866
    • BLK

Pin

Wire Color

Circuit No.

Function

A

PPL/WHT

889

Left Mirror Motor - Up/Down

B

RED/WHT

881

Left Mirror Motor - Right/Left

C

BLK

550

Ground - Left Body Ground Splice Pack

D

ORN

340

IPFB Body Fuse - B+

E

LT GRN

89

Right Mirror Motor - Up/Down

F

WHT

81

Right Mirror Motor Right/Left

G

LT BLU

82

Right - Dual Circuit Up/Down/Right/Left

H

GRY

90

Left - Dual Circuit Up/Down/Right/Left

Power Window/Rear Door - Sedan/Wagon


Object Number: 885026  Size: CH

Connector Part Information

    • 12041429
    • BLK

Pin

Wire Color

Circuit No.

Function

A

LT GRN (LT)

DK GRN (RT)

170 (RT)

168 (LT)

Power Window/Mirror Switch - Up

B

DK BLU

670 (RT)

668(LT)

Right Rear Window Motor - Up

Left Rear Window Motor - Up

C

DK BLU

1307 (RT)

1307 (LT)

Power Window/Mirror Switch - Lockout

D

PPL

171 (RT)

169 (LT)

Power Window/Mirror Switch - Lockout

E

BRN

671 (RT)

669 (LT)

Right Rear Window Motor - Down

Left Rear Window Motor - Down

Power Window Master Switch - Coupe


Object Number: 885035  Size: CH

Connector Part Information

    • 15326110
    • BLK

Pin

Wire Color

Circuit No.

Function

A

BLK

550

Left Body Ground Splice Pack

B

DK BLU

164

Left Up

C

BRN

165

Left Down

D-F

--

--

Not Used

G

PPL

638

IPFB - Power Window Relay

H

LT BLU

166

Right Up

J

TAN

167

Right Down

K-M

--

--

Not Used

Power Window Master Switch - Sedan/Wagon


Object Number: 885035  Size: CH

Connector Part Information

    • 15326110
    • BLK

Pin

Wire Color

Circuit No.

Function

A

BLK

550

Ground

B

DK BLU

164

Left Front Up

C

BRN

165

Left Front Down

D

PPL

169

Left Rear Down

E

DK BLU

1307

Lockout Switch - Left Rear

F

DK BLU

1307

Lockout Switch - Right Rear

G

PPL

638

IPFB - Power Window Relay

H

LT BLU

166

Right Front Up

J

TAN

167

Right Front Down

K

LT GRN

170

Right Rear Up

L

PPL

171

Right Rear Down

M

DK GRN

168

Left Rear Up

Rear Door Window Switches - Sedan/Wagon


Object Number: 885026  Size: CH

Connector Part Information

    • 12041429
    • BLK

Pin

Wire Color

Circuit No.

Function

A

LT GRN

DK GRN

170 (RT)

168 (LT)

Rear Door Window Switches-Up

B

DK BLU

670 (RT)

668 (LT)

Rear Door Window Switches-Up

C

DK BLU

1307 (RT)

1307 (LT)

Lockout

D

PPL

171 (RT)

169 (LT)

Down

E

BRN

671 (RT)

669 (LT)

Down