GM Service Manual Online
For 1990-2009 cars only

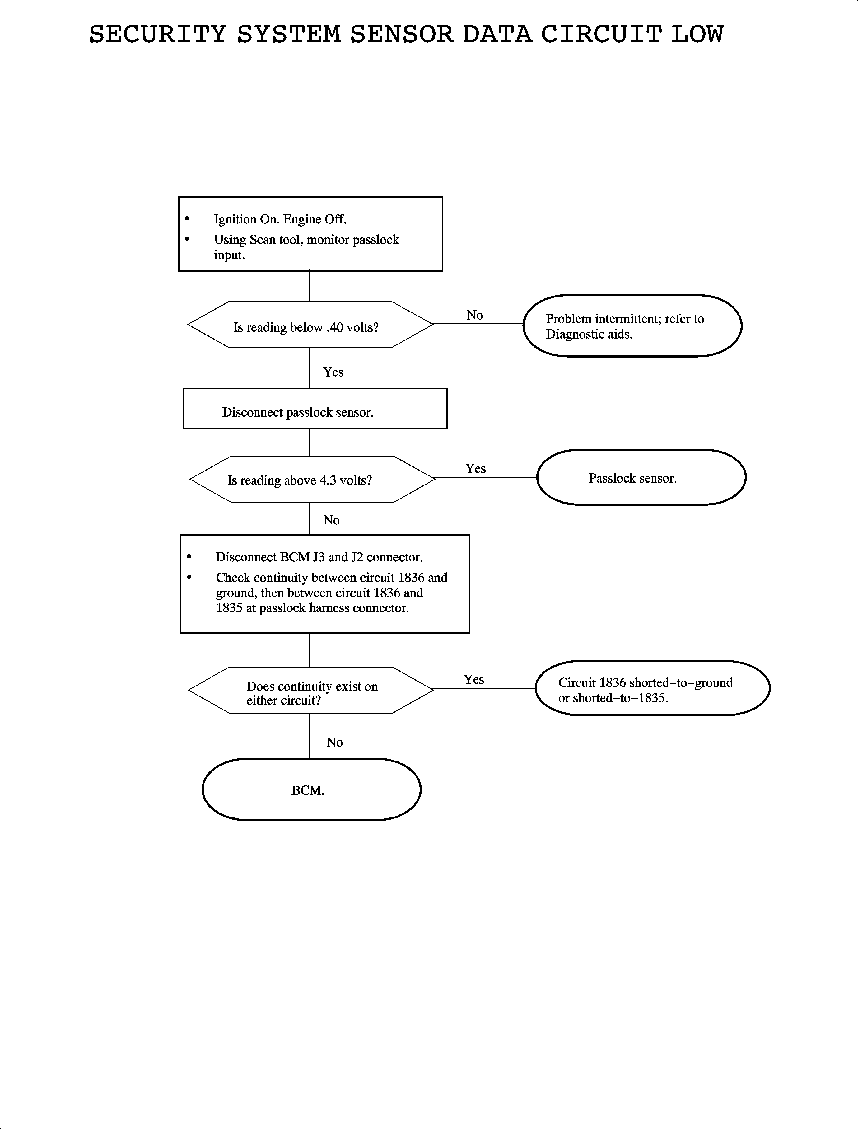
Security System Sensor Data Circuit Low


Object Number: 864223  Size: MF

Circuit Description

The passlock sensor data is supplied to the body control module (BCM) by circuit 1836.

The passlock sensor data supplied to the BCM is in the form of V-codes or voltage codes. When the proper ignition key is turned in the ignition switch, the correct V-code is supplied to the BCM. The BCM responds by sending a serial data password to the powertrain control module (PCM) allowing the engine to run.

Conditions for Setting the DTC

    • Ignition is in RUN, CRANK
    • Circuit 1836 shorted to ground
    • Turns on service wrench telltale and security telltale

Diagnostic Aids

    • Check for poor connection at the BCM. Inspect the harness connectors for backed out terminals, improper terminal mating, broken connector locks, improperly formed or damaged terminals and poor terminal-to-wire connection (terminal crimped over wire insulation and not conductors).
    • Inspect the wiring harness for damage. Check for broken or chafed insulation.
    • Check for poor connection at the passlock sensor.
    • If the fault is suspected to be intermittent, wiggling harness wiring may help in locating fault.

Object Number: 874562  Size: FP