GM Service Manual Online
For 1990-2009 cars only

2002 Saturn S-Series Vehicle Equipped with Automatic Transaxles

Subject:BAKE PEDAL INSPECTION AND REPLACEMENT IF NECESSARY

Models:2002 SATURN S-SERIES VEHICLES EQUIPPED WITH AUTOMATIC TRANSAXLES



ALL SATURN RETAILERS AND SERVICE PROVIDERS

The Highway Safety Act, as amended, provides that each vehicle which is subject to a recall campaign of this type must be adequately repaired within a reasonable time after the owner has tendered it for repair. A failure to repair within sixty (60) days after tender of a vehicle is prima facie evidence of failure to repair within a reasonable time.

If the condition is not adequately repaired within a reasonable time, the owner may be entitled to an identical or reasonably equivalent vehicle at no charge, or to a refund of the purchase price less a reasonable allowance for depreciation.

To avoid having to provide these burdensome remedies, every effort must be made to promptly schedule an appointment with each owner and to repair their vehicle as soon as possible. As you will see in reading the attached copy of the owner letter, the owners are being instructed to contact the Saturn Customer Assistance Center if their Retailer is unable to schedule a service date within a reasonable time. If the condition is not remedied within a reasonable time, owners are instructed on how to contact the National Highway Traffic Safety Administration.

Defect Involved

Saturn has decided that a defect which relates to motor vehicle safety exists in some 2002 model year S-Series vehicles. These vehicles equipped with automatic transaxles have been assembled with an inadequate weld at the brake pedal pad to brake pedal actuator arm assembly. During braking, the brake pedal pad could separate from the brake pedal actuator arm. If this were to occur, the driver’s foot could become dislodged from the pedal resulting in a loss of brake system application and a vehicle crash could occur.

Vehicles Involved

Only selected 2002 model year S-Series Saturn vehicles within the following VIN range will require this campaign:

2Z215426 - 2Z219541

A VIN listing of the involved vehicles is included in this bulletin for your reference.

You must verify campaign involvement through your AS400 system. It is important to note that campaign claims will only be paid on involved vehicles.

Owner Notification

Owners of all involved vehicles will be notified of this campaign by Saturn. (Refer to the owner letter included in this bulletin.)

Facility VIN Listing

A list of vehicles assigned to you (Facility VIN Listing), which our records indicate were sold by or shipped to you, (or are located in close proximity to your facility) is enclosed.

This listing contains:

    • Complete vehicle identification number (VIN); and
    • VINs of vehicles, which according to Saturn records are in retail stock.

The Facility VIN Listing is furnished to involved Retailers with the Product Campaign Bulletin.

Those Retailers not involved initially in this campaign will receive a message at the top of a blank Facility VIN Listing that states: NO VEHICLES ASSIGNED AT THIS TIME FOR CAMPAIGN 02-C-06.

Retailer Responsibility

All unsold vehicles in Retailers’ possession and subject to this campaign must be held at the retail facility and repaired per the service procedure of this campaign bulletin before owners take possession of these vehicles.

In summary, whenever a vehicle subject to this campaign enters your vehicle inventory, or is in your retail facility for service in the future, please take the steps necessary to be sure the campaign correction has been made before selling or releasing the vehicle.

Transfer of Campaign Responsibility

Saturn vehicles that have been sold by you, which may be closer in proximity to another Saturn Retailer, may still appear on your Facility VIN Listing. If either you or the vehicle owner determines that it is more desirable for a vehicle on your Facility VIN Listing to be serviced by another Saturn Retailer, or if the customer’s address has recently changed, campaign responsibility may be transferred by completing the following:

    • Submit a Campaign Vehicle Action Report to your Customer Assistance Manager (CAM) at the Saturn Customer Assistance Center.
        OR
    • Submit an update in owner information to the Saturn Owner of Record system, via SERVICELINE XL, for Saturn Customer Assistance Center review and approval.

A copy of the Campaign Vehicle Action Report is included for your reference. Additional copies can be ordered from Saturn Publications (1-800-828-2112, prompt 3, Item # S0397050). All changes to campaign responsibility will be reflected in your next Unfixed VIN Report.

All other changes in vehicle status (e.g., scrapped, stolen, etc.) are to be made in accordance with section 4.4.3 of the Retailer Service Reference Guide, "Notifying Saturn of Vehicle Status Change."


Object Number: 1523998  Size: FP

Parts Information

  1. A pre-shipment of brake pedal assemblies required to perform this campaign has been automatically sent to affected Retailers from Saturn Service Parts Operations (SSPO). These initial parts shipments are to aid the Retailers in campaign preparation and will ensure minimal customer inconvenience.
  2. Should additional parts be required, please order from Saturn Service Parts Operations (SSPO) as needed.
  3. Required Parts:

Part Number

Description

Quantity Required Per Vehicle

21012136

PEDAL ASM-BRK

1

Disposition of Replaced Parts

Retailers will scrap all replaced parts in a manner that ensures that they cannot be reused, remanufactured, or otherwise entered into the stream of commerce in the future.

Inspection Procedure

Brake pedal assemblies are stamped with a date code that corresponds to the day, month, year and shift on which it was manufactured. The date code contains five characters.


Object Number: 1536348  Size: SH
    • The first two numerical digits indicate the day of the month
    • The third digit indicates the month
    • The fourth digit indicates the year
    • And the fifth digit indicates the shift during which the part was produced. D=Day Shift, A=Afternoon Shift

    Object Number: 1536350  Size: SH
  1. Using a mirror and light locate the brake pedal date code on the right side of the brake pedal arm just above the brake pedal pad. (Refer to illustration.)
  2. Inspect brake pedal arm for the suspect date code 24A2A .
  3. • If date code is 24A2A or a partially readable date code of 24A2A is present (for example _ 4A2A or _ _A2A) or is completely not readable, the brake pedal assembly must be replaced. Continue with "Brake Pedal Replacement Procedure" in this bulletin.
    • If date code is readable and not the suspect date code, no repair is necessary. Continue to next step.

    Important: Do not cover any existing underhood labels when affixing Campaign Completion Label.

  4. Affix Campaign Completion Label on a clean and dry surface of radiator core support, in an area clearly visible when hood is raised. (For more information, refer to "Campaign Completion Label" in this bulletin.)

Brake Pedal Replacement Procedure

Tools Required

SA 9303BR Stop Lamp Switch Adjustment Gage


    Object Number: 872993  Size: SH
  1. Disable the SIR system. Refer to "Disabling the SIR System" in the 2000/2002 S-Series Restraints Service Manual.
  2. On Sedans, remove windshield defroster nozzle duct by rotating front of duct up and away from windshield.
  3. On Coupes, windshield defroster nozzle duct cannot be removed because of windshield rake angle. Push windshield defroster duct as far as possible to the passenger side to gain access to the brake pedal.


    Object Number: 866729  Size: SH

    Notice: Do not pry on vacuum booster push rod while removing or damage will occur.

  4. Remove vacuum booster push rod retainer and washer.
  5. Remove brake pedal pivot bolt and nut by accessing them through the top of the instrument panel.
  6. Remove vacuum booster push rod from brake pedal push rod pin.
  7. Remove brake pedal from vehicle.

  8. Object Number: 866731  Size: SH
  9. Position replacement brake pedal in vehicle.
  10. Apply All-Purpose or Multi-Purpose chassis grease (or equivalent) to brake pedal push rod pin and place vacuum booster push rod onto pin.
  11. Install brake pedal pivot bolt and nut by accessing them through top of instrument panel.
  12. Tighten
    Tighten the brake pedal pivot bolt to 22 N·m (16 lb ft).


    Object Number: 866729  Size: SH

    Notice: Do not pry on vacuum booster push rod while removing or damage will occur.

  13. Install vacuum booster push rod retainer and washer.
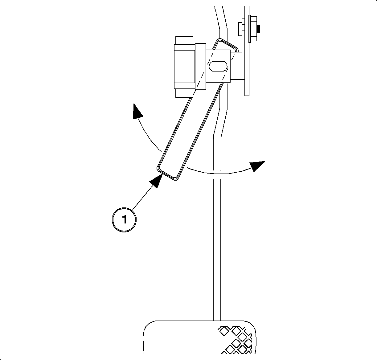
  14. Stop Lamp Switch Adjustment


    Object Number: 867342  Size: SH
  15. Loosen the stop lamp switch mounting nut sufficiently to allow the switch to move forward and rearward in the adjustment slot (1) .
  16. Install Stop Lamp Switch Adjustment Gage SA9303BR (2) between the switch and the switch actuator pad (3) on the brake pedal arm being sure that the plunger (4) protrudes through the slot in the gage.
  17. While pulling up with moderate force on the brake pedal assembly, push the switch forward against the gage.
  18. Important: Hold switch perpendicular to actuator pad on the brake pedal arm to prevent switch from rotating out of alignment when tightening mounting nut.


    Object Number: 867330  Size: SH
  19. Tighten the switch mounting nut.
  20. Tighten
    Tighten the stop lamp switch mounting nut to 10 N·m (89 lb in).

  21. Release the brake pedal assembly.
  22. With the pedal released and the adjustment gage (1) still in position, tap the gage side-to-side:
  23. • If gage swings freely side-to-side, proceed to Step 17.
    • If gage sticks or does not swing freely, repeat Steps 11 through 16.

    Object Number: 867335  Size: SH
  24. With adjustment gage in position, pull up on brake pedal with very light force, approximately 9 N (2 lbs) and tap gage side-to-side:
  25. • If gage swings freely, repeat Steps 11 through 17.
    • If gage sticks and/or does not swing freely, proceed to Step 18.
  26. Inspect switch plunger:
  27. • If 0.8-1.2 mm (0.03-0.05 in) of plunger is visible between switch and switch actuator pad on brake pedal arm, switch is correctly adjusted. The height of the rounded crown of the plunger is equivalent to 1 mm (0.04 in).
    • If more than 1.2 mm (0.05 in) or less than 0.8 mm (0.3 in) of plunger is visible, repeat Steps 15 through 21.

    Object Number: 859834  Size: SH
  28. On Sedans, install windshield defroster nozzle duct into vehicle by snapping windshield defroster nozzle duct onto mode valve assembly and install screws.
  29. On Coupes, move windshield defroster nozzle duct from passenger side and snap windshield defroster nozzle duct onto mode valve assembly and install screws.

  30. Enable the SIR System. Refer to "Enabling the SIR System" in the 2000/2002 S-Series Restraints Service Manual.
  31. Important: Do not cover any existing underhood labels when affixing Campaign Completion Label.

  32. Affix Campaign Completion Label on a clean and dry surface of radiator core support, in an area clearly visible when hood is raised. For more information, refer to "Campaign Completion Label" in this bulletin.

Campaign Completion Label

Upon completion of the campaign, a Campaign Completion Label and a Clear Protective Cover should be affixed on a clean, dry surface of the radiator core support in an area clearly visible when the hood is raised. Each label provides a space to print in ink (or type) the campaign number (02C06) and the five (5) digit facility code of the Retailer performing the campaign service.


Object Number: 1536351  Size: SH

As a reminder, additional labels may be ordered from Saturn publications (1-800-828-2112, prompt 3, Item # S03 00013A for the Campaign Completion Label, and item # S03 00013B for the Clear Protective Cover ).

Credit

1. To receive credit, submit a claim with the information below:

Repair Performed

Parts Allow.

Sale Type

Case Type

Labor Op.

Labor Hrs.

Admin. Hrs.**

To Inspect Brake Pedal Assembly

*

WC

VC

V0831

0.2

0.1

To Inspect and Replace Brake Pedal Assembly (Includes Stop Lamp Switch Adjustment)

*

WC

VC

V0832

 

0.1

Sedan

    

1.1

 

Coupe

    

1.2

 

2. To receive credit for loaner/rental car costs incurred while owner awaits campaign repair or other goodwill expenses, submit a claim with the information below:

Repair Performed

Sale Type

Case Type

Labor Op.

Net Item Amount

Net Item Code

# Days Rental

Loaner Reimbursement

WC

VC

V0833

***

C

****

Other Goodwill

WC

VC

V0834

***

R

N/A

3. Retailers are empowered to use good judgement regarding loaner/rental cars or any other goodwill expenses deemed necessary. It will not be necessary to call the Saturn Customer Assistance Center for authorization of goodwill. The Goodwill Worksheet (printed towards the back of this bulletin) must be used to document goodwill expenses. The completed Goodwill Worksheet must be attached to the hard copy of the CSO. Retailers are to make sufficient copies of the blank Goodwill Worksheet to document goodwill expenses.

4. Check your Saturn SERVICELINE.XL Claim Memorandum daily. Remember to code the claim as a WC sale type, and VC case type. Contact your field representative if you need assistance.

5. All labor operations claimed in this bulletin must be submitted on individual (unrelated) CSO lines. Refer to the Customer Service Order Preparation Manual for details on Product Campaign Claim Submission.

* The parts allowance should be the sum total of the current SSPO Retailer net price plus 40% of all parts required for the repair.

** Campaign administrative allowance.

*** Net amount must be submitted as a miscellaneous sale...Loaner reimbursement not to exceed $30/day.

**** Enter number of days vehicle was rented...Not to exceed 1 day.


Object Number: 1536353  Size: FP

Object Number: 1536354  Size: FP

Object Number: 1536356  Size: FP

Object Number: 1536357  Size: FP

Object Number: 1536358  Size: FP

02-C-06 GOODWILL WORKSHEET

As stated in the "Credit" section of this bulletin, Retailers are empowered to use good judgement regarding loaner/rental cars or other goodwill expenses that might become necessary for customer satisfaction.

Complete this worksheet and attach it to the hard copy of the Customer Service Order (CSO) to document all campaign goodwill claims submitted to Saturn.

VIN #

A. Vehicle Loaner/Rental Allowance Explanation:

$

 

 

 

Repair Performed

Sale Type

Case Type

Labor OP

Net Item Code

# Days Rental

Loaner Reimbursement

WC

VC

V0833

C

*

* Not to exceed $30/day for 1 day

 

 

 

B. Other/Goodwill Allowance Explanation (Specify what was done and why):

$

 

 

 

Repair Performed

Sale Type

Case Type

Labor OP

Net Item Code

# Days Rental

Other Goodwill

WC

VC

V0834

R

N/A

 

 

 

Authorized Retailer Signature

(Please copy this form as necessary)

February, 2002

Dear Saturn Owner:

This notice is sent to inform you that Saturn is conducting a voluntary safety recall campaign that affects certain 2002 Saturn S-Series vehicles.

Saturn has decided that a defect which relates to motor vehicle safety exists in some 2002 model year S-Series vehicles. These vehicles equipped with automatic transaxles have been assembled with an inadequate weld at the brake pedal pad to brake pedal actuator arm assembly. During braking, the brake pedal pad could separate from the brake pedal actuator arm. If this were to occur, the driver’s foot could become dislodged from the pedal resulting in a loss of brake system application and a vehicle crash could occur.

What Saturn Will Do:

To prevent the possibility of this condition occurring, Retailers will inspect and if necessary, replace the brake pedal assembly at no charge to you. Repairs will take about one hour although some additional time may be required for paperwork and processing.

What You Should Do:

Contact you Saturn Retailer to arrange to have this service performed.

Your Retailer is prepared to perform this service promptly and with minimal inconvenience to you. However, if your car is provided to the Retailer on the agreed service date and the condition is not remedied on that date, or within five days, please contact the Saturn Customer Assistance Center at 1-800-553-6000 prompt 3, or for the hearing impaired, 1-800-833-6000. We will assist you and the Retailer in getting your car serviced.

If, after contacting your Saturn Retailer and the Saturn Customer Assistance Center, you are still not satisfied we have done our best to remedy this condition without charge and within a reasonable time, you may wish to write the Administrator, National Highway Traffic Safety Administration, 400 Seventh St., SW, Washington, DC 20590, or call 1-800-424-9393 (Washington, DC residents use 202-366-0123).

Again, we sincerely regret any inconvenience or concern this situation may cause you. We want you to know that we will do our best, throughout your ownership experience, to ensure that your Saturn provides you many miles of enjoyable driving.

Sincerely,

Saturn Corporation

02-C-06