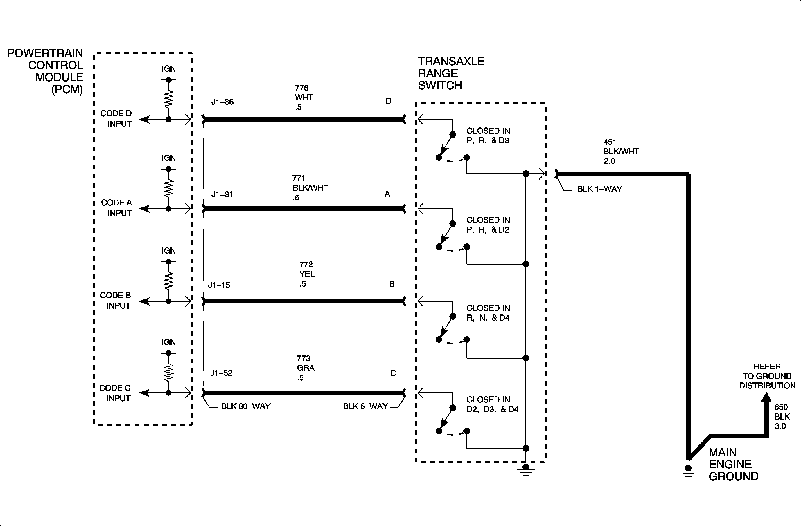
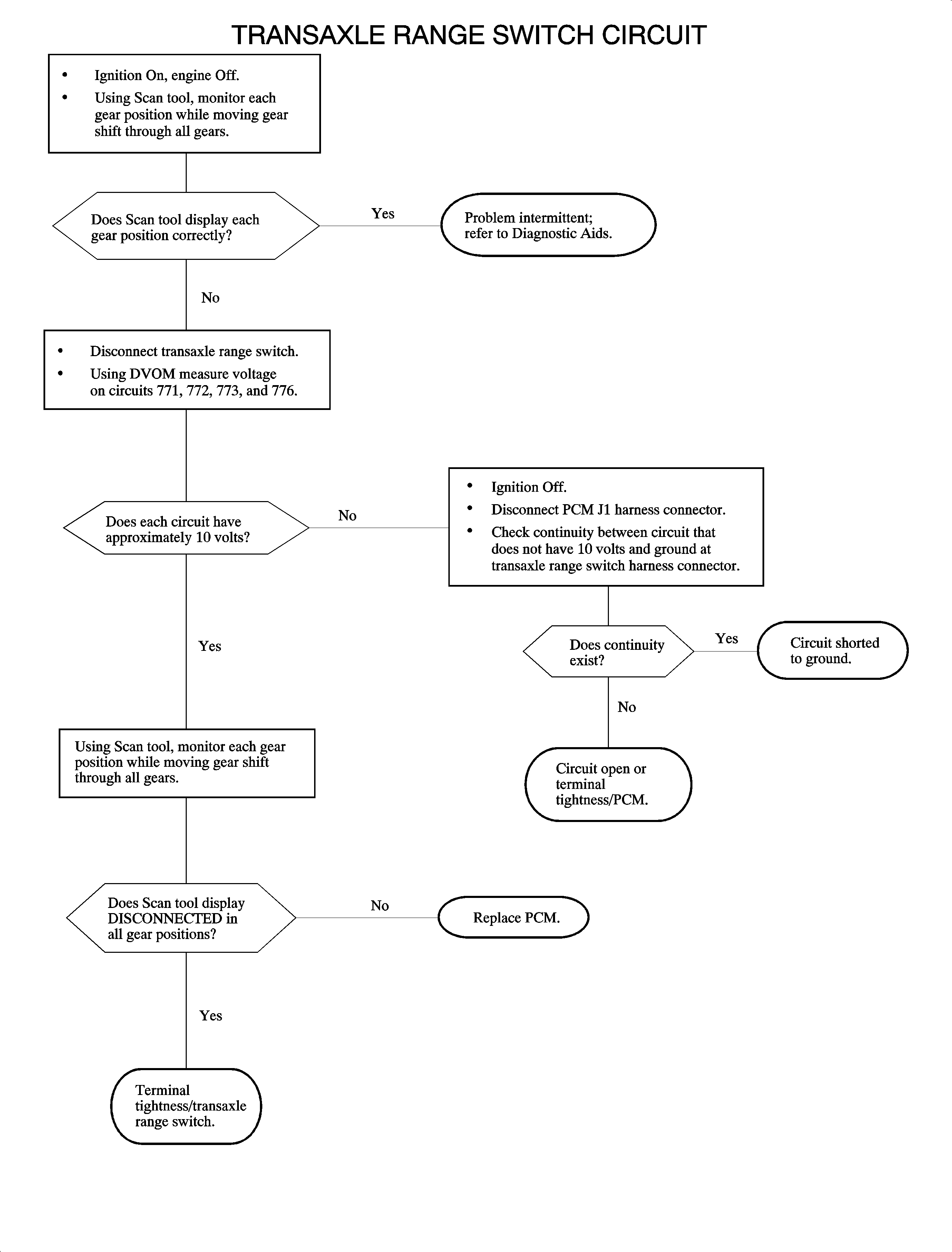
The transaxle range switch determines which gear position has been manually selected. The powertrain control module (PCM) determines this gear selection by detecting a combination of opens and grounds at the 4 switch, A, B, C and D, inputs of the transaxle range switch. When a switch is open, the PCM code input will be high, near ignition voltage. When the switch is closed, the PCM code input will be low, 0 volts. The specific combinations of highs and lows, opens and grounds at switch, for the four code inputs at the PCM denote which gear position has been selected. Only one combination is possible for each manual gear selected. DTC P0705 sets when the PCM code input combination is not valid.
DTC P0705 will set if the PCM has detected an invalid transaxle range switch code input combination when:
| • | Condition exists for longer than 0.5 seconds |
| • | Condition exists twice in one ignition cycle |
| • | Ignition voltage is greater than 9.5 volts |
| • | DTC P0708 has not been set |
DTC P0705 diagnostic runs continuously once the above conditions have been met.
DTC P0705 is a type A DTC for 2000, type B for 2001*.
* Applicable to vehicles built after June 2000.
DTC P0705 cannot be set due a misadjusted shift cable or transaxle range switch.
The PCM will command 2nd gear starts if this DTC is active.
Gear Selector Position | Scan Tool "Trans Range PABC" Display | |||
|---|---|---|---|---|
P | A | B | C | |
Park (P) | X | X | ||
Reverse (R) | X | X | ||
Neutral (N) | X | X | ||
Drive 4 (OD) | X | X | ||
Drive 3 (3) | X | X | ||
Drive 2 (2) | X | X | ||
X = Pin Grounded | ||||