| Subject: | Seat Belt Latch Falls to the Floor or is Difficult to Retrieve -- Install a New Replacement Seat Belt Stow Button Kit |
| Models: | 1996-2002 Saturn S-Series Sedans (Rear Belt) 1997-2002 Saturn S-Series Coupes (Front and Rear Belts) 1999-2002 Saturn S-Series Sedans and Wagons (Front Belts) 1999-2002 Saturn S-Series Wagons (Rear Belts) |
Some customers may comment that the seat belt latch falls to the floor or is difficult to retrieve when putting on the seat belt.
This condition may be due to a missing seat belt stow button.
Refer to the procedures in this bulletin to install the seat belt stow button kit replacement parts.
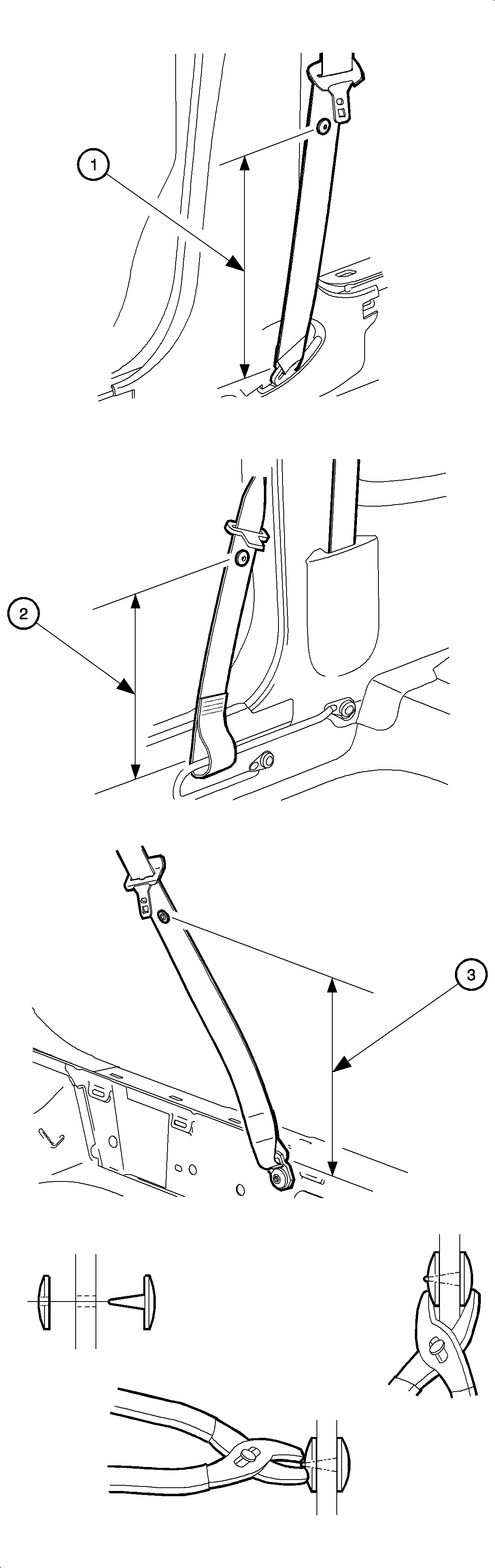
Front Seat Belt Stow Button Replacement
Important: If the original seat belt stow button hole is visible, reuse this hole for the replacement button and proceed to step 3.
| 1.1. | For 1999-2002 Saturn S-Series Sedans and Wagons, measure 470 mm (18.5 in). |
| 1.2. | For 1997-2002 Saturn S-Series Coupes except left side 3 Door (RAD) Coupes, measure 470 mm (18.5 in). |
| 1.3. | For 1999-2002 Saturn S-Series 3 Door (RAD) Coupes (left side), measure 533 mm (21.0 in) |
Important: Make sure the smooth side of the seat belt stow button is on the side of the webbing that faces the vehicle interior when the belt is stowed and not twisted.
Important: Do not cover the center point of the button with the pliers while pinching the halves together.
Important: If the original seat belt stow button hole is visible, reuse this hole for the replacement button and proceed to step 3.
Important: Make sure the seat belt is in the stowed position with the webbing completely retracted before performing the measurement in step 1.
| 1.1. | For 1996-02002 Saturn S-Series Sedans, measure 500 mm (19.7 in). |
| 1.2. | For 1997-2002 Saturn S-Series Coupes, measure 240 mm (9.4 in). |
| 1.3. | For 1999-2002 Saturn S-Series Wagons, measure 475 mm (18.7 in). |
Important: Make sure the smooth side of the seat belt stow button is on the side of the belt that contacts the occupant when the belt is properly worn.
Important: Do not cover the center point of the button with pliers while pinching the halves together.
Part Number | Color | Description |
|---|---|---|
21054151 | MD BISC | Button Kit-RR/Seat Belt Stow (1996 Models) |
21306071 | EBONY | Button Kit-FRT and RR/Seat Belt Stow (1997 to 2002 Models) |
21306072 | MD WM. GRAY | Button Kit-FRTand RR/Seat Belt Stow (1996 to 2002 Models) |
21306073 | MD BISC II | Button Kit-FRT and RR/Seat Belt Stow (1997 to 2002 Models) |
Claim Information: To receive credit for this repair during the warranty coverage period, submit a claim through the Saturn Dealer System for C9098 (Button, Seat Belt Stow -- Replace).