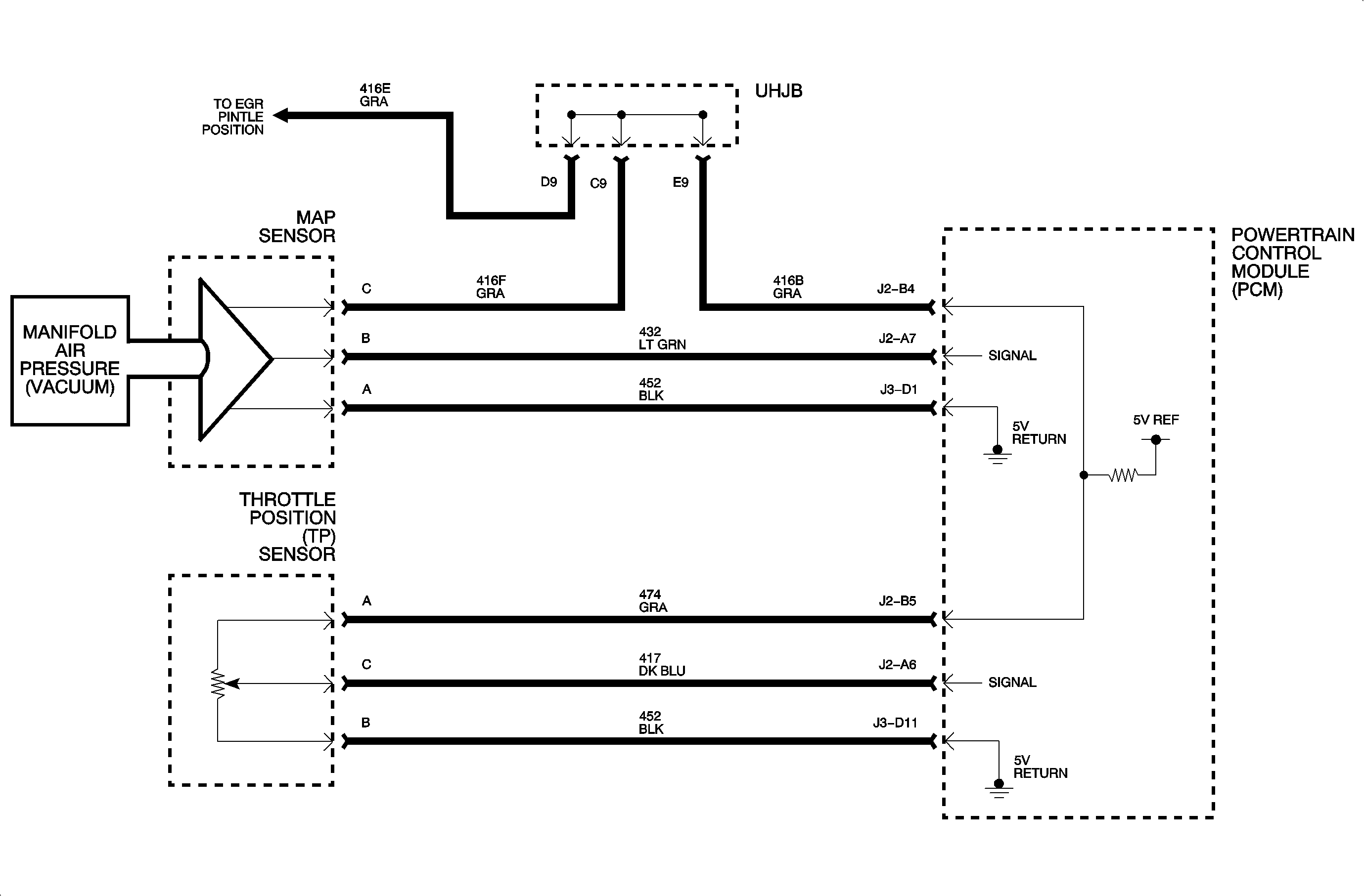
The PCM has internal tables that compare MAP sensor values with TP sensor values. The MAP sensor is a variable resistor that responds to changes in intake manifold pressure. The voltage ranges from 1-1.5 volts at idle, high manifold vacuum, to 4-4.5 volts at wide open throttle, low manifold vacuum. The TP sensor is a potentiometer which responds to changes in throttle plate angle. At a closed throttle position, output of the sensor is low, approximately 0.5 volts. As the throttle plate opens, the output signal increases so that at wide open throttle, the output will be high, approximately 5 volts.
DTC P0105 will set if the MAP or TP value is out of range greater than 2 seconds when:
| • | No DTC P0107, P0108, P0122, P0123, P0506, or P0507 are present. |
| • | The RPM is between 1,600-4,000. |
| • | The RPM change is less than 100. |
| • | There is steady EGR command. |
| • | The A/C command is unchanged. |
| • | The IAC change is less than 10 counts. |
This DTC will set if either MAP or TP is out of range. To distinguish which one failed, review the malfunction history information and attempt to duplicate the conditions.
Check the sensor and PCM connection for corrosion.
With the engine OFF and the key ON, the map reading should be the same as the barometric reading because manifold pressure is equal to atmospheric pressure, no vacuum -- high voltage. Comparing this reading to a known good vehicle with the same sensor is a good way to check accuracy of a suspect sensor. The readings should be within 0.4 volts.
LOW ALTITUDE = HIGH PRESSURE = HIGH VOLTAGE
Altitude | Voltage Range | kPa |
|---|---|---|
BELOW 305 m (BELOW 1,000 ft) | 3.8-5.5 V | 98-100 kPa |
305-610 m (1,000-2,000 ft) | 3.6-5.3 V | 98-95 kPa |
610-914 m (2,000-3,000 ft) | 3.5-5.1 V | 95-92 kPa |
914-1219 m (3,000-4,000 ft) | 3.3-5 V | 92-89 kPa |
1219-1524 m (4,000-5,000 ft) | 3.2-4.8 V | 89-86 kPa |
1524-1829 m (5,000-6,000 ft) | 3-4.6 V | 86-83 kPa |
1829-2133 m (6,000-7,000 ft) | 2.9-4.5 V | 83-80 kPa |
2133-2438 m (7,000-8,000 ft) | 2.8-4.3 V | 80-77 kPa |
2438-2743 m (8,000-9,000 ft) | 2.6-4.2 V | 77-74 kPa |
2743-3948 m (9,000-10,000 ft) | 2.5-4 V | 74-71 kPa |