GM Service Manual Online
For 1990-2009 cars only

Service Information for New Wagon Rear Seat Back Trim Covers and Pushpin Fasteners

Subject:Service Information for New Wagon Rear Seat Back Trim Covers and Pushpin Fasteners -- New Fasteners Require Enlarge Holes

Models:1996-1999 Saturn S-Series Wagons built before and including the following VIN breakpoints:



Model

Interior Trim

VIN

SW1

Warm Gray Cloth

XZ208999

SW1

Biscuit Cloth

XZ208630

SW2

Warm Gray Cloth

XZ208797

SW2

Biscuit Cloth

XZ210728

SW2

Warm Gray Leather

XZ210766

SW2

Biscuit Leather

XZ209781

Purpose

New wagon rear seat back beam trim covers and pushpin fasteners have been released to service wagons built before and including the above VIN breakpoints. The new service parts back service all 1996-1999 wagons. When servicing the wagon rear seat back beam, pushpin holes in the seat back beam will need to be enlarged to accommodate the new, larger pushpin fasteners. If the trim cover and end caps are reused, they will also require enlarged holes to accommodate the larger pushpin fasteners.

Removal Procedure:


    Object Number: 867332  Size: MH

    Notice: Rear seat back attachments have an "easyload" outer bracket that allows the rear seat back to snap into position upon installation. It is necessary to gently pry this "easyload" bracket outward to remove the rear seat back. it important not to use excessive force to pry on the bracket or bracket may become damaged. Move bracket only enough to lift seat back from vehicle. If bracket has been moved outward too much, gently riposting bracket to ensure proper retention of the rear seat back to the bracket.

  1. Release seat back latch for right rear seat back and tilt seat back forward.
  2. Remove left side rear seat back and seat back beam assembly from vehicle and place on a clean work surface.
  3. 2.1. Release seat back latch for left rear seat back and tilt seat back forward.
    2.2. Disengage cargo floor carpet from left rear seat back.
    2.3. Using a large flat blade screwdriver, gently pry outer seat back "easyload" bracket outboard just enough for the left seat back pin to disengage from "easyload" bracket.
    2.4. Lift left rear seat back and beam assembly up and remove from vehicle.
    2.5. Place seat back and beam assembly on a clean work surface.

    Object Number: 867279  Size: MF
  4. Using a small flat blade tool, carefully remove end cap fasteners and remove end caps. Discard fasteners.
  5. Using a small flat blade tool, carefully remove seat back beam cover fatteners and remove cover. Discard fasteners.
  6. Remove seat back beam fasteners and remove beam assembly from seat back.

  7. Object Number: 880057  Size: SH
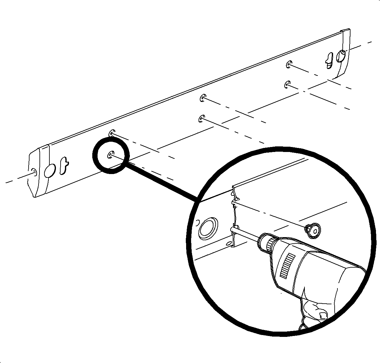
  8. Re-position end caps on the rear seat back beam one at a time and drill a 7 mm (9/32 in.) hole through the existing fastener holes.
  9. Remove end caps from rear seat back beam.
  10. Re-position seat back beam cover on the rear seat back and drill 7 mm (9/32 in.) hole through the existing fastener holes.
  11. Remove seat back beam cover from rear seat back beam.
  12. Apply primer to inside of fastener holes enlarged in steps 6 and 8.

Installation


    Object Number: 867279  Size: MF
  1. Place seat back onto rear seat back assembly, aligning holes in beam with seat back studs. Snug attaching nuts enough to hold seat back beam in place.
  2. Latch and unlatch the seat back assembly three to four times to adjust the beam on the rear seat back assembly. Ensure smooth operation.
  3. Tighten attaching nuts.
  4. Tighten
    Tighten the seat back beam nuts to 18 N·m (13 lb ft).

  5. Install seat back beam cover and end caps to seat back beam assembly with new fasteners.

  6. Object Number: 867332  Size: MH
  7. Install rear seat back and seat back beam assembly to vehicle.
  8. 5.1. Guide seat back assembly onto center pivot pin.
    5.2. Align outer pivot pin with lead in ramp on the "easyload" bracket.
    5.3. Push downward on the seat back to engage pin into position.
    5.4. Engage cargo floor carpet with seat back.
    5.5. Raise seat back and secure seat back latch.
  9. Check seat back latch operation to ensure proper function.

Parts Requirements:

21035343

Retainer - R/Seat BK Cush Cvr ( 96-97 Lt Bisc)

21035358

Retainer - R/Seat BK Cush Cvr ( 98-01 Md Bisc II)

21047990

Retainer - R/Seat BK Cush Cvr ( 96-01 Md Wm. Gray)

CLAIM INFORMATION:

To receive credit for this repair during the warranty coverage period, submit a claim though the Saturn Dealer system for C7290 (Beam Assembly Components, Rear Seat Back Cross - R&R or Replace).