GM Service Manual Online
For 1990-2009 cars only

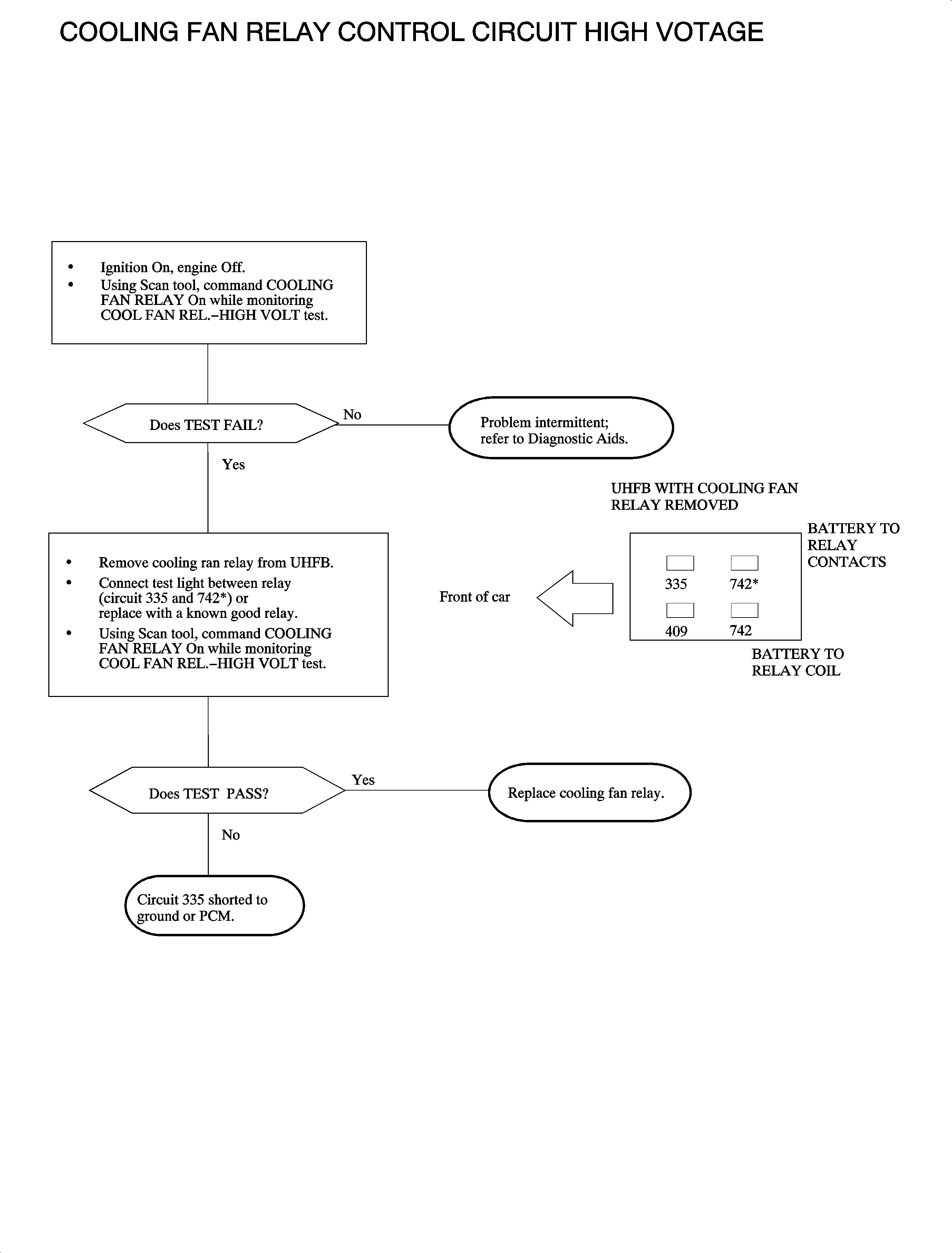
Cooling Fan Relay Control Circuit High


Object Number: 870986  Size: MF

Circuit Description

The PCM controls the cooling fan by controlling the cooling fan relay. The cooling fan motor runs whenever the ECT is above 105.5°C (222°F), the A/C relay is commanded ON, or a low/high fault exists in the ECT sensor circuit. The PCM controls the cooling fan relay by controlling an internal driver that pulls the relay coil circuit to ground. The relay coil circuit is monitored for low and high voltage faults. DTC P1480 sets when the cooling fan relay is being commanded ON and the voltage at the PCM is high.

Conditions for Setting the DTC

DTC P1480 will set if cooling fan relay voltage is greater than 1.25 volts when the cooling fan relay is being commanded ON.

DTC P1480 diagnostic runs continuously with the ignition ON and the cooling fan relay commanded ON.

DTC P1480 is a type D DTC.

Diagnostic Aids

To locate an intermittent problem, use the scan tool to command COOLING FAN RELAY ON, while monitoring the COOL FAN REL.-HIGH VOLT test. When a fault (short to voltage or shorted solenoid) exists, the scan tool will display TEST FAIL.

The tests will fail only when the device is being commanded ON and the voltage at the PCM is high. The tests update every 100 ms whenever the ignition is turn ON and the device is being commanded ON via the scan tool or PCM.

Cooling fan relay coil resistance equals 75-105 ohms.


Object Number: 874370  Size: FP