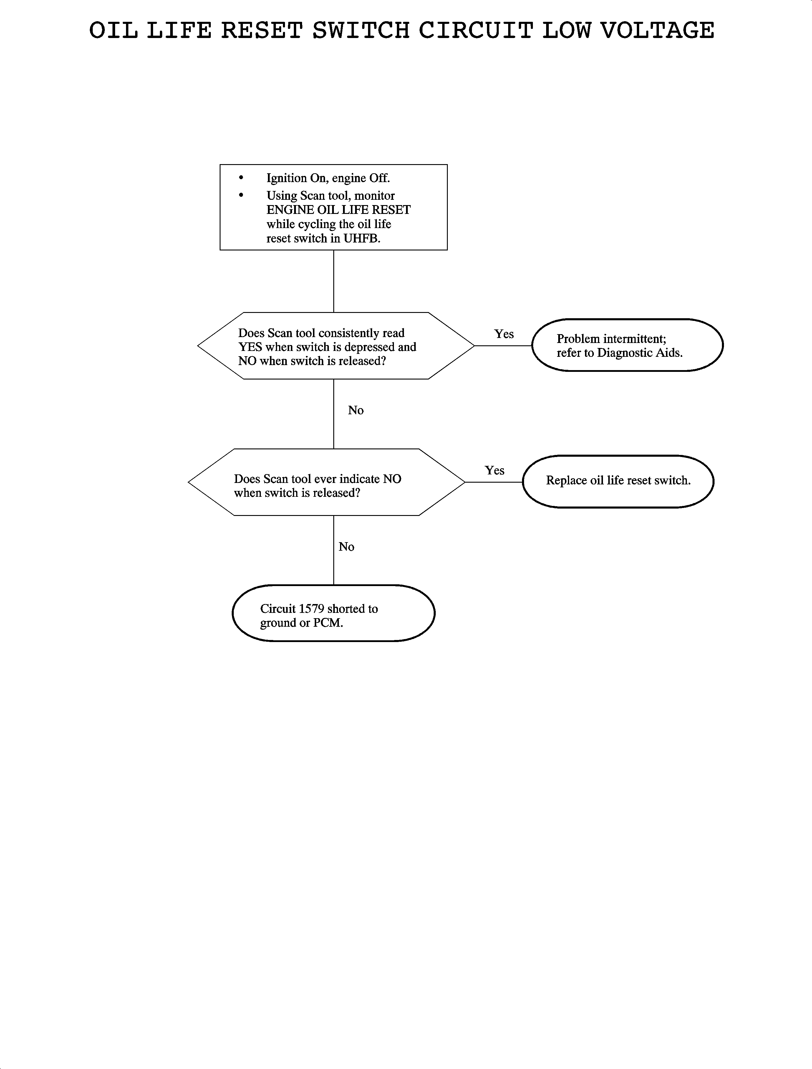
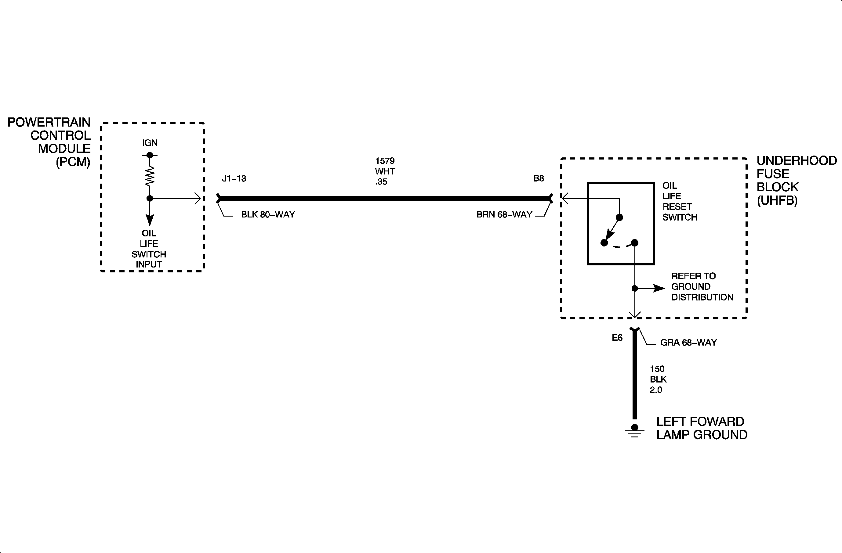
The powertrain control module (PCM) has the ability to calculate when the engine oil needs to be changed based on vehicle mileage, engine revolutions and engine coolant temperature (ECT). The PCM bases the engine oil change interval within a window of 4 800-9 600 km (3,000-6,000 mi) regardless of engine revolutions and ECT. When the PCM has determined that the engine oil needs to be changed (10 percent calculated oil life left), it will send a message to the instrument panel (I/P) cluster over the Class II link to turn ON the Change Oil Soon telltale. When the oil life monitor in the PCM needs to be reset, a reset switch located in the underhood fuse block (UHFB) can be depressed for 5 seconds with ignition ON. The oil life reset switch is a normally open switch. The PCM supplies ignition voltage through a pull-up resistor to the switch, therefore, the PCM will read ignition voltage at the oil life input when the switch is not being depressed. If the switch is depressed, the PCM oil life input will be pulled to ground and the PCM will reset the oil life monitor after five seconds. DTC B3538 sets when the PCM detects low voltage at the oil life reset input when the vehicle is moving.
DTC B3538 will set if the oil life input at the PCM is low when vehicle speed is greater than 5 km/h (3 mph).
DTC B3538 diagnostic runs continuously with vehicle speed present.
DTC B3538 is a type C DTC.
To locate an intermittent problem, use a scan tool to monitor ENGINE OIL LIFE RESET while cycling the switch or wiggling wires. Cycling the switch or wiggling wires while watching for the scan tool to stay in the YES position may locate a stuck closed switch or the area where a short to ground in the wiring could lie.