Tools Required
| • | SA9151BR
/J 37043 Park Brake Cable Release |
Removal Procedure
- Disable the SIR System. Refer to
Disabling the SIR System
.
- Remove the console. Refer to
Console Replacement
.
- Remove the park brake cover.
- Loosen the adjuster nut.
- Remove the park brake cable(s) from the equalizer assembly.
- Remove the park brake cable(s) from the park brake base.
- Remove the rear seat bottom cushion.
- Pull back the carpeting.
Caution: Ensure that the vehicle is properly supported and squarely positioned.
To help avoid personal injury when a vehicle is on a hoist, provide additional support
for the vehicle on the opposite end from which the components are being removed.
Important: Tie a piece of string or wire to the console end of the cable to be removed. After removal, the string or wire can be tied to the new cable and used to pull the cable into position through the floor pan.
- Raise the vehicle on a hoist.
- Remove the rear road wheel.
- Remove the park brake grommet/cable assembly from the floor pan.
- Remove the trailing arm/park brake cable to the body fastener.
- Cut and remove the cable retaining tie strap.
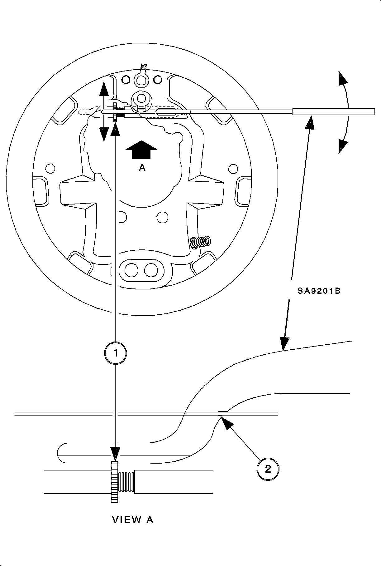
Important: If difficulty is encountered removing drum, use
SA9201BR
(or equivalent) to turn star wheel adjuster assembly (1) to shorten length and provide sufficient
drum-to-shoe clearance for drum removal. Position drum brake adjusting tool through access hole in backing plate. Arrow (2) in illustration shows proper position for tool notch.
- Remove the brake drum.
Notice: Do not pry against brake backing plate. This will bend plate.
- Remove the lower return spring.
Notice: Do not over extend the springs. Over extending will weaken the springs.
- Remove the adjuster spring.
- Remove the park brake shoe hold down cup, spring, and pin.
- Remove the adjuster assembly and the adjuster lever. If difficulty is encountered, proceed as follows:
| 18.1. | Pull the park brake shoe towards the rear of the vehicle, freeing the adjuster assembly. Remove the assembly. |
| 18.2. | If necessary, turn star wheel on adjuster to shorten length. |
- Remove the upper return spring from the hole in the park brake shoe.
- Remove the park brake cable from the park brake lever by pushing the lever into the cable spring. At the same time, disengage the
cable end from the lever.
- Remove the park brake cable spring.
- With the
SA9151BR
/J 37043, remove the park brake cable from the backing plate.
- Remove the park brake cable from the vehicle.
Installation Procedure
- Install the park brake cable through the backing plate until the retaining fingers are correctly seated against the backing plate.
Important: Check that the park brake cable end is correctly seated in the park brake lever.
- Install the park brake cable spring onto the park brake cable and install the cable to the lever.
- Install the short end of the upper return spring into the back of the hole in the leading brake shoe.
Important: Check that the park brake shoe is correctly engaged (in wheel cylinder on top, anchor on bottom).
- Stretch the upper return spring to install the other end of the spring into the back of the park brake shoe.
- Pull the park brake shoe toward the rear of vehicle and install the adjuster assembly between the park and leading brake shoes.
- Install adjuster lever.
Notice: Check that notch on adjuster lever engages pin on park brake shoe and notch
on adjusting socket.
Important: Check that the adjuster notches properly engage in the brake shoe notches.
Important: Check that the lower leg of the adjusting lever engages teeth of star wheel on adjuster assembly.
- Install the adjuster spring by placing the short end of the adjuster spring into the hole in the leading shoe and stretching the other end of the spring into the hole in the adjuster lever.
- Install the lower return spring.
Notice: Check that the brake shoe is correctly engaged in the wheel cylinder on top
and anchor on bottom.
- Position the park brake shoe and install the hold down pin, hold down spring, and hold down cup.
- Using a 0-200 mm (0-8 in) caliper such as
SA92109NE
(or equivalent), measure the inside
diameter of the brake drum.
- Measure the outside diameter of the brake shoes and adjust the brake adjuster to obtain 0.50 mm (0.020 in) less than the reading obtained in step 10.
- Install the brake drum.
Notice: Refer to Fastener Notice in the Preface section.
- Install the trailing arm/park brake cable fasteners to the body.
Tighten
Tighten the trailing arm/park brake cable-to-body to 120 N·m (89 lb ft).
- Install the park brake grommet/cable assembly onto the floor pan.
- Install the park brake cable retaining tie strap.
Notice: Before installing wheels, remove rust or corrosion from wheel mounting surfaces
and brake rotors/drums. Failure to do so can cause wheel nuts to loosen in service.
- Position the wheel and tie assembly onto the hub.
- Install the wheel nuts and tighten in a crisscross pattern. Repeat the tightening pattern to be sure the torque is correct.
Tighten
Tighten the wheel nut to 140 N·m (103 lb ft).
- Lower the vehicle from the hoist.
- Route the cable under the carpeting and install the park brake cable into the park brake base. Push the carpeting back to the original position.
- Install the park brake cables into the equalizer.
- Apply and release the service brake pedal 20 times to allow the drum brake adjuster to position the brake shoes.
- Adjust the park brake. Refer to
Park Brake Adjustment
.
- Install the rear seat cushion.
- Install the park brake cover.
- Install the console. Refer to
Console Replacement
.
- Enable the SIR System. Refer to
Enabling the SIR System
.