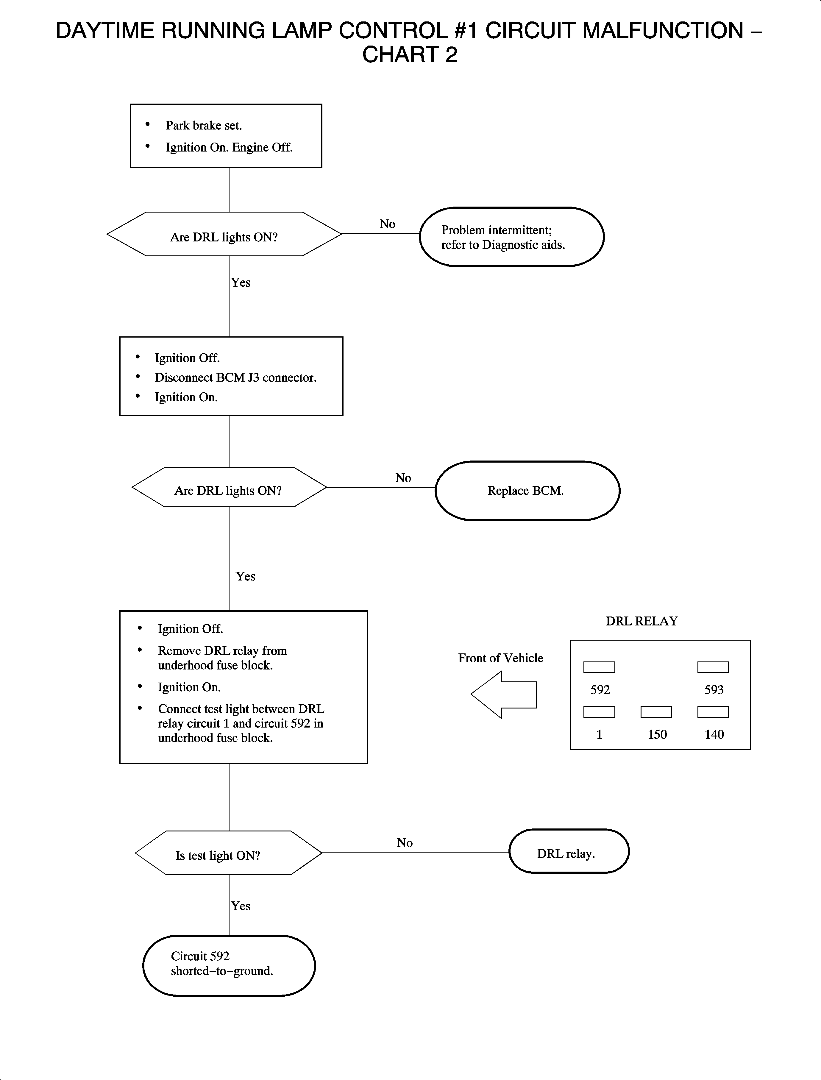
Daytime running lamps (DRL) are controlled by the body control module (BCM) based on input from the high beam headlamp circuit 1200, the low beam headlamp circuit 1201, the parking brake circuit 1134 and ignition switch state.
When DRL operation is desired, the BCM switches circuit 592 to ground. This action energizes the DRL relay. When energized, the DRL relay operates the left high beam headlamp and right high beam headlamp as a series circuit (one-half of battery voltage across each high beam headlamp).
When DRL operation is not desired, the BCM does not provide ground for the DRL relay. When not energized (as when high beam headlamps are desired) the DRL relay operates the right and left high beam headlamps as a parallel circuit (full battery voltage across each high beam headlamp).
For DRL operation, the parking brake must be fully released, the ignition switch must be in the RUN position, headlamp switch must be in the OFF position, and the shifter/gear selector is out of Park. Under normal operating conditions, the feedback voltage to the BCM measured at circuit 1200 is:
Headlamp | Circuit 1200 Voltage |
|---|---|
DRL On | 6 to 8 volts |
Highbeam On | Less than 1 volt |
Highbeam Off | Battery voltage |
| • | DRL lamps are On when not requested by the BCM (park brake ON) |
| • | Ignition in RUN |
| • | Check for poor connection at the BCM. |
| • | Inspect harness connectors for: |
| - | backed out terminals |
| - | improper terminal mating |
| - | broken connector locks |
| - | improperly formed or damaged terminals |
| - | poor terminal-to-wire connection (terminal crimped over wire insulation and not conductors). |
| • | Inspect the wiring harness for damage. Check for broken or chafed insulation. |
| • | If fault is suspected to be intermittent, wiggling harness wiring may help in locating fault. |