GM Service Manual Online
For 1990-2009 cars only

Object Number: 870998  Size: MF

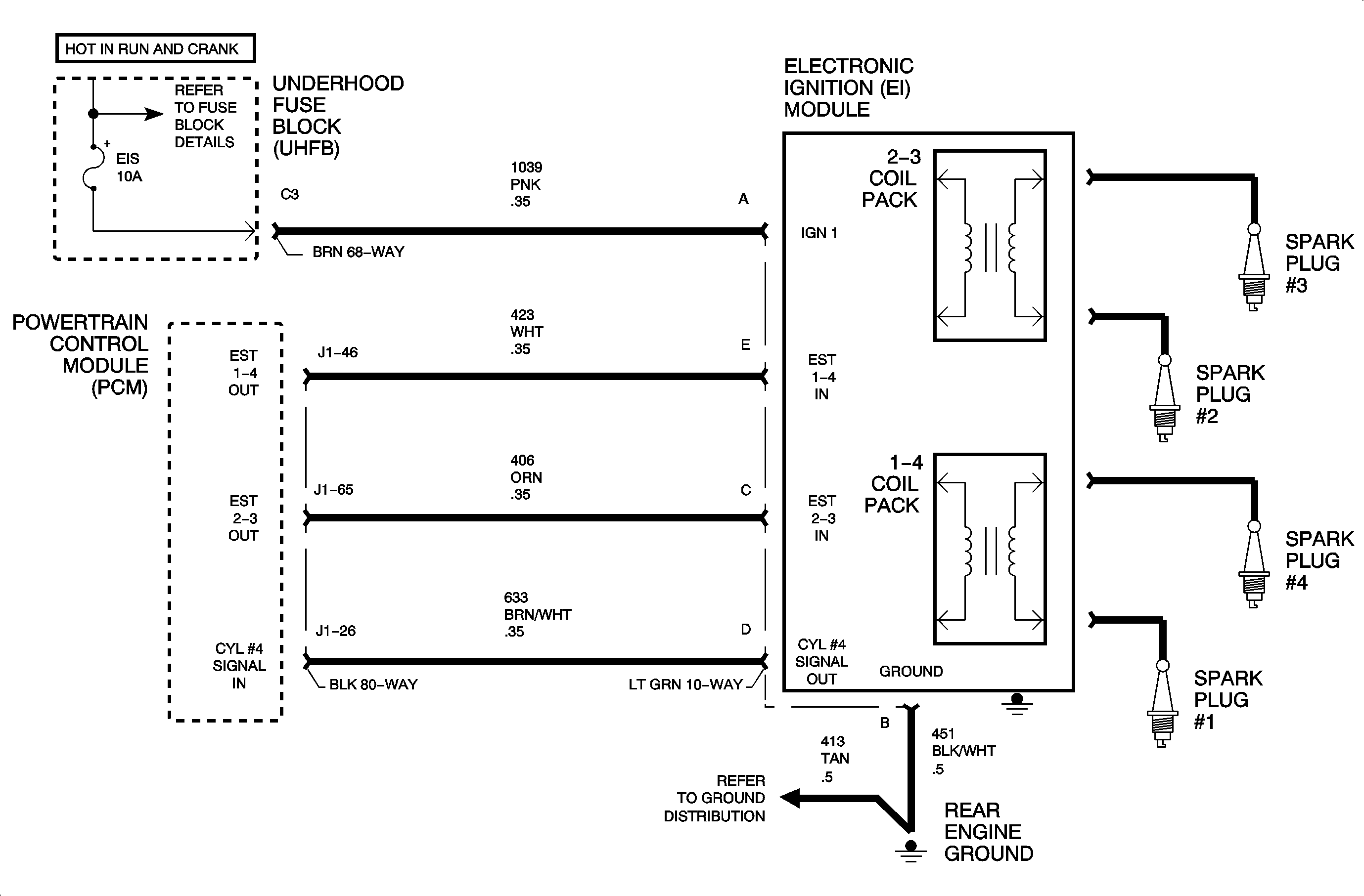
The powertrain control module (PCM) controls spark timing and dwell (spark On-time) under all engine running conditions. The electronic ignition (EI) module has the ability to charge and discharge the coil packs based on PCM control. The PCM uses a high control signal of near 5 volts to charge up the coil and a low control signal of near 0 volts to discharge the coil. If the coil is charged and the control signal is low, the coil will fire through its secondary towers. DTC P1352 sets when an open or short to voltage exists on the ignition control (IC) circuit 2 and 3 during engine crank or when engine is OFF.

DTC Parameters

DTC P1352 will set if an open or short to voltage occurs on IC circuit 2 and 3 when:

    • The condition exists for longer than 0.5 seconds.
    • The ignition is ON with engine OFF or engine is cranking.

DTC P1352 diagnostic runs continuously with ignition ON and engine OFF or during engine crank.

DTC P1352 is a type D DTC.

Diagnostic Aids

The IC circuit 2 and 3 consists of the EI module, circuit 406 and the PCM.

Voltage on circuit 406 with the EI module disconnected and the ignition ON, engine OFF should read between 3.5-5 volts.

An open or short to voltage on IC circuit 2 and 3 will cause a misfire on both cylinders 2 and 3. Use the scan tool to monitor MISFIRE CURRENT CYLS #2 and #3 to locate an intermittent problem.

The IGN COIL 2 and 3 - OPEN or IGN COIL 2 and 3 - HIGH VOLT test parameter on the scan tool can also be used to locate an intermittent problem. If a fault, open or short to voltage occurs with ignition ON, engine OFF, the scan tool will display TEST FAIL.

A secondary ignition problem on cylinder #2 or #3 will NOT cause DTC P1352 to set.


Object Number: 875834  Size: FP