GM Service Manual Online
For 1990-2009 cars only

Object Number: 870995  Size: MF

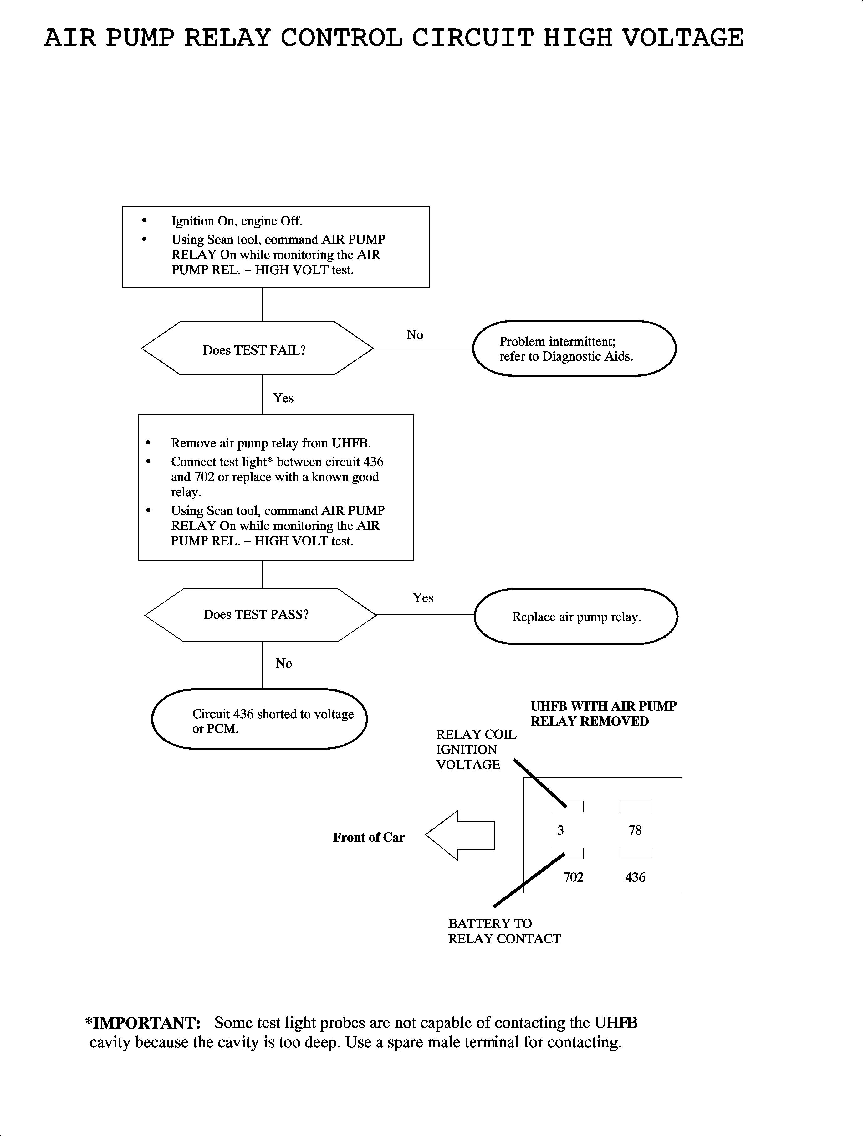
The secondary air injection (AIR) system is used to accelerate the heating process of the catalytic converters by introducing outside air into the exhaust manifold. The AIR system operates on cold engine starts when the catalytic converters work least efficient. The powertrain control module (PCM) controls the air pump motor by controlling the ground for the air pump relay coil. The PCM monitors the relay coil circuit for low and high voltage faults. DTC P1418 sets when the air pump relay is being commanded ON and the feedback voltage at the PCM is high.

DTC Parameters

DTC P1418 will set if air pump relay feedback voltage is greater than 1.25 volts with air pump relay commanded ON when:

    • The condition exists for longer than 0.5 seconds.
    • The engine is running.

DTC P1418 diagnostic runs continuously with engine running when air pump relay is commanded ON.

DTC P1418 is a type D DTC.

Diagnostic Aids

To locate an intermittent problem, use a scan tool to command AIR PUMP RELAY ON, while monitoring the AIR PUMP REL. - HIGH VOLT test. When a fault, short to voltage or shorted solenoid exists, the scan tool will display TEST FAIL.

The test will fail only when the device is being commanded ON and the voltage at the PCM is high. The test updates every 100 ms whenever the ignition is turned ON and the device is being commanded ON via the scan tool or PCM.

The AIR pump relay coil resistance is 75-105 ohms.


Object Number: 876256  Size: FP