GM Service Manual Online
For 1990-2009 cars only

DTC P0722 - OSS Sensor Low Input


Object Number: 870991  Size: MF

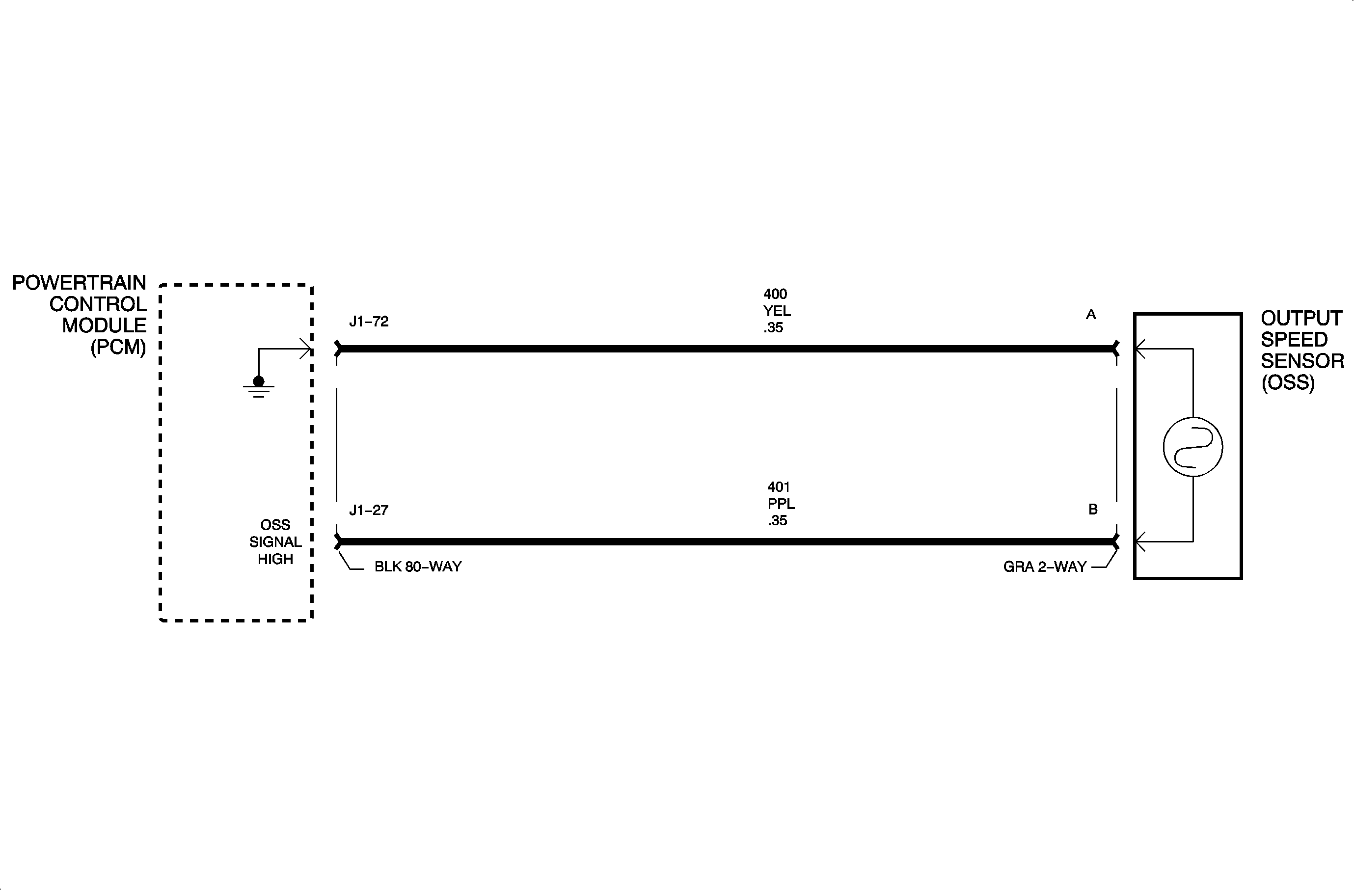
Circuit Description

The output speed sensor (OSS) produces an AC voltage of different amplitude and frequency depending on the velocity of the output shaft. The OSS produces the signal from 16 evenly spaced machined notches on the transaxle differential carrier. The output speed sensor produces a readable AC voltage signal when vehicle speed is above 5 km/h (3 mph). This OSS signal is sent to the powertrain control module (PCM), which is used to determine output shaft RPM. DTC P0722 sets when the PCM does not detect a OSS signal for a certain length of time.

DTC Parameters

DTC P0722 will set if no OSS signal is detected when:

    • The condition exists twice in one ignition cycle (2000)
    • The condition exists once in one ignition cycle (2001)*
    • The vehicle is started from a stop
    • The transaxle is in a forward gear
    • The input speed is greater than 1400 RPM
    • The ratio of input speed RPM to engine speed RPM is less than 0.78
    • The TP angle change is less than 11 percent for a minimum of 1.5 seconds
    • DTC P0716 or P0717 is not active

DTC P0722 diagnostic runs continuously once the above conditions have been met.

DTC P0722 is a type A DTC

Diagnostic Aids

To locate an intermittent problem, use scan tool to monitor TRANSMISSION OSS with vehicle raised and drive wheels moving greater than 5 km/h (3 mph). Wiggling wires while watching for a change in TRANSMISSION OSS may locate a problem.

Check connection and sensor for tightness.

An intermittent open anywhere in the OSS circuit or intermittent short to ground/short to voltage on circuit 401 will cause the TRANSMISSION OSS parameter on scan tool to momentarily drop out.

If no OSS signal is received, the speedometer will be inoperative.

If the PCM does not receive a OSS signal, it will calculate a vehicle speed based on RPM and TP angle. The speedometer will still be inoperative, however.

OSS resistance: 800-1600 ohms


Object Number: 875313  Size: FP