GM Service Manual Online
For 1990-2009 cars only

Object Number: 871501  Size: MF

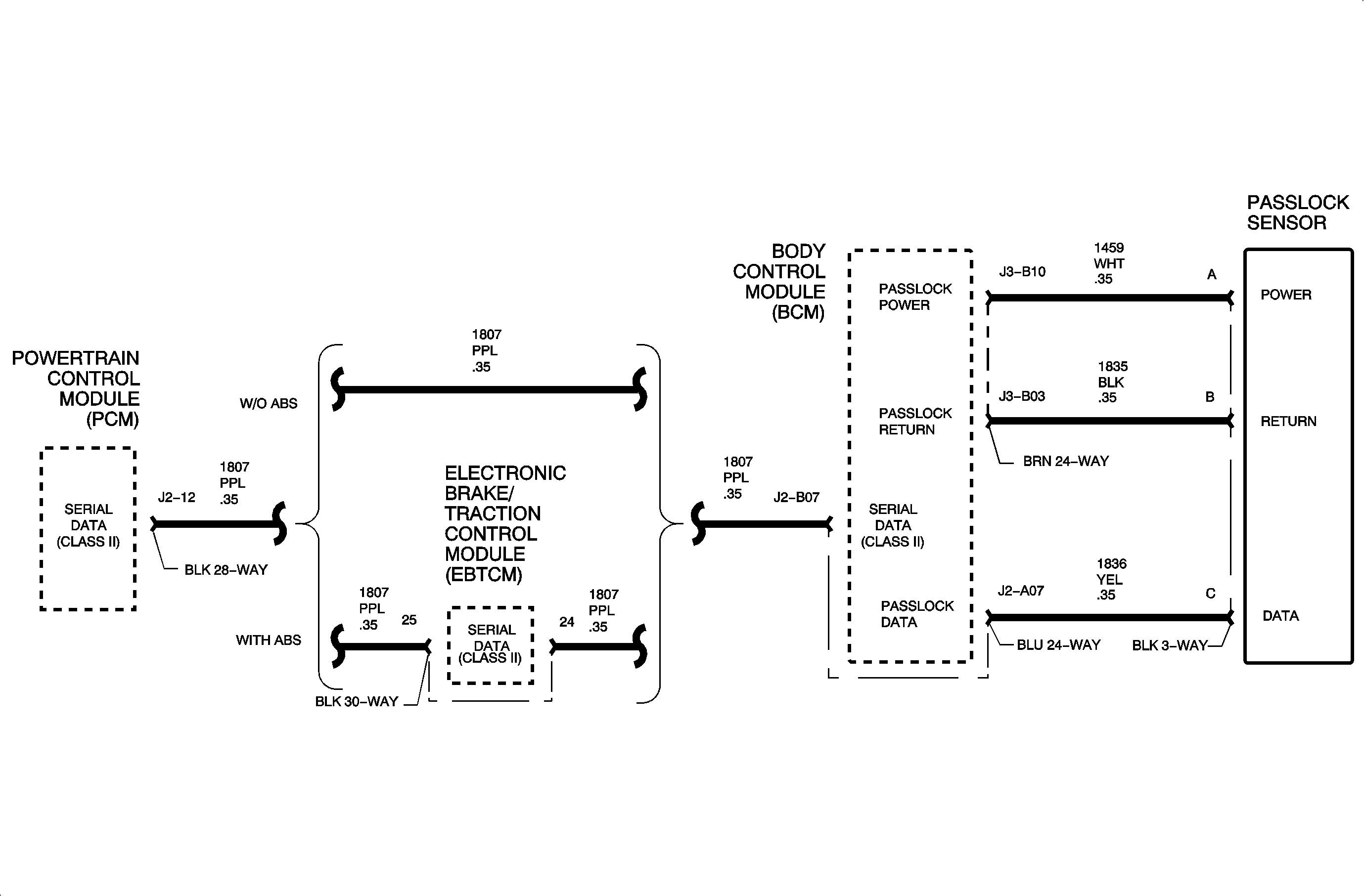
The class 2 serial data circuit 1807 is used to communicate information between the body control module (BCM), electronic brake/traction control module (EBTCM) (ABS only), instrument panel (I/P) cluster, powertrain control module (PCM), sensing and diagnostic module (SDM) and the data link connector (DLC). Each module has specific serial data information processed from various sensors that is sent out on the class 2 link in order for other controllers to utilize the information. Each controller has stored in memory specific information needed from other controllers. Each time the ignition is turned ON, all modules on the class 2 link must first "learn" where the information they need comes from. Once each module receives the information it needs, a source identifier attached to the message will be used as identification. Once the module "learns" where the message came from, it will store the specific controller ID for those pieces of information for the entire ignition cycle. If the message is then lost during the same ignition cycle, a specific module U-type DTC will set. If a module never received the initial needed message, it will set a DTC U1000.

DTC Parameters

DTC P1626 will set if the PCM lost class 2 communications with the BCM or the fuel decision timer, the timer that monitors how long it takes for the BCM to send out the passlock code to the PCM, timed out after 5 seconds of engine run time. The timer will time out if NO code was received within 5 seconds of engine run time.

DTC P1626 diagnostic runs continuously for BCM information, but only once for the fuel decision timer. If the PCM receives a password, correct or incorrect, it will not run a DTC P1626 diagnostic for the fuel decision timer until the ignition is cycled.

DTC P1626 is a type C DTC.

Diagnostic Aids

If DTC U1064, U1300 or U1301 is also set, diagnose that DTC first.

If DTC U1064 and P1626 are set together, a problem most likely exists on the class 2 link or information is being interrupted. Interrupted information can be caused by the BCM intermittently losing its power/ground circuit. If the BCM intermittently loses the power/ground circuit, the scan will lose communication with that module. Other modules may set also a Lost Communications with the BCM DTC as well.

The class 2 link is in a ring configuration. Two opens, one at each end of the BCM need to be present in order for the PCM to lose communication with the PCM. If a short to ground or short to voltage on the class 2 link exists, communications between all control modules will be lost and the PCM should set DTC U1300 or U1301.

If DTC P1626 sets alone with no other U-type DTCs, the most likely cause is that the BCM is not sending the PCM any fuel decision password. If both controllers communicate with the scan tool OK, the BCM is most likely at fault.


Object Number: 876258  Size: FP