GM Service Manual Online
For 1990-2009 cars only

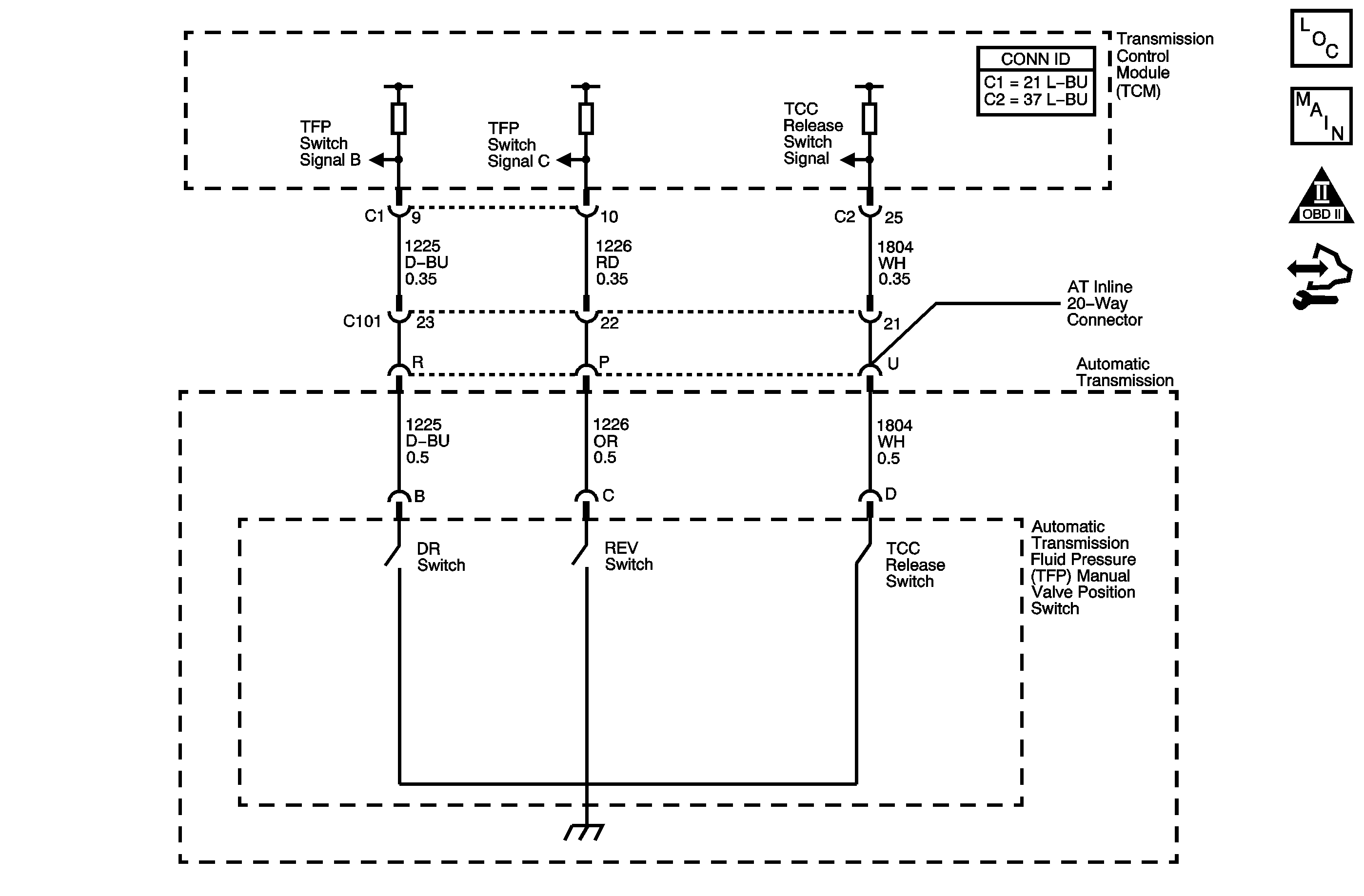
Object Number: 1549027  Size: MF
Master Electrical Component List
Automatic Transmission Controls Schematics
OBD II Symbol Description Notice
Control Module References

Circuit Description

The automatic transmission fluid pressure (TFP) manual valve position switch consists of three pressure switches. Two of the switches are normally-open, and determine gear range selection. The third switch is normally-closed, and detects torque converter clutch (TCC) release fluid pressure. The TFP manual valve position switch also contains the automatic transmission fluid temperature (TFT) sensor. These components are combined into one unit, attached to the control valve body.

The transmission control module (TCM) provides battery voltage on the two range signal circuits. By grounding one or more of the switches with fluid pressure from the manual shift valve, the TCM detects the selected gear range. When the transmission electrical connector is disconnected and the ignition is ON, the ground potential for the range signals from the TCM is removed, and an invalid gear range is indicated. Refer to Transmission Fluid Pressure Manual Valve Position Switch Logic .

When the TCM detects P/N indicated with a drive gear ratio, DTC P1816 sets. DTC P1816 is a type B DTC.

DTC Descriptor

This diagnostic procedure supports the following DTC:

DTC P1816 Transmission Fluid Pressure (TFP) Valve Position Switch Indicates Park/Neutral (P/N) with Drive Ratio

Conditions for Running the DTC

    • No TP DTCs P0120 or P0220.
    • No ISS DTCs P0716 or P0717.
    • No VSS DTCs P0722 or P0723.
    • No shift solenoid performance DTCs P0751, P0752, P0756, or P0757.
    • No shift solenoid electrical DTCs P0973, P0974, P0976, P0977.
    • No PSA DTC P1810.
    • The engine is running for 5 seconds and not in fuel cut-off.
    • The TPS is 8 percent or greater.
    • The engine torque is greater than 50 N·m (37 lb ft).
    • The output speed is 76 RPM or more.

Conditions for Setting the DTC

The TCM detects P/N with a drive ratio for 6.3 seconds.

Action Taken When the DTC Sets

    • The TCM requests the engine control module (ECM) to illuminate the malfunction indicator lamp (MIL) during the second consecutive trip in which the Conditions for Setting the DTC are met.
    • The TCM freezes transmission adaptive functions.
    • The ECM records the operating conditions when the Conditions for Setting the DTC are met. The ECM stores this information as Freeze Frame and Failure Records.
    • The TCM records the operating conditions when the Conditions for Setting the DTC are met. The TCM stores this information as Failure Records.
    • The TCM stores DTC P1816 in TCM history during the second consecutive trip in which the Conditions for Setting the DTC are met.

Conditions for Clearing the MIL/DTC

    • The ECM turns OFF the MIL after the third consecutive drive trip in which the TCM does not send a MIL illumination request.
    • A scan tool can clear the MIL/DTC.
    • The TCM clears the DTC from TCM history if the vehicle completes 40 warm-up cycles without an emission-related diagnostic fault occurring.
    • The TCM cancels the DTC default actions when the ignition switch is OFF long enough in order to power down the TCM.

Test Description

The numbers below refer to the step numbers on the diagnostic table.

  1. This step tests the integrity of the engine harness and the TCM by checking for the Signal B state change from HI to LOW. A LOW signal indicates the fault is either in the internal transmission harness or the switch. A HI signal indicates the fault is either in the engine harness or the TCM.

DTC P1816

Step

Action

Yes

No

1

Did you perform the Diagnostic System Check - Vehicle?

Go to Step 2

Go to Diagnostic System Check - Vehicle in Vehicle DTC Information

2

  1. Install a scan tool.
  2. Turn ON the ignition, with the engine OFF.
  3. Important: Before clearing the DTC, use the scan tool in order to record the Failure Records. Using the Clear DTC Information function erases the Failure Records from the TCM.

  4. Record the DTC Failure Records.
  5. Clear the DTC.
  6. Select TFP Sig. B/Sig. C parameter on the scan tool.
  7. Place the range selector in D4.

Does the scan tool TFP Sig. B/Sig. C parameter indicate HI for both?

Go to Step 3

Go to Intermittent Conditions in Engine - 2.2L

3

  1. Turn OFF the ignition.
  2. Disconnect the AT inline 20-way connector. Additional DTCs may set.
  3. Install the J 44152 Jumper Harness (20 pins) on the engine side of the AT Inline 20-way connector.
  4. Using the J 35616 GM terminal test kit, connect a fused jumper wire from the TFP signal B circuit of the J 44152 to ground. Refer to Automatic Transmission Inline 20-Way Connector End View .
  5. Turn ON the ignition, with the engine OFF.
  6. Select the TFP Sig. B/Sig. C parameter.

Does the TFP Sig. B indicate LOW?

Go to Step 5

Go to Step 4

4

Test the TFP signal B circuit of the TFP manual valve position switch for an open between the TCM and the AT inline 20-way connector. Refer to Testing for Continuity and Wiring Repairs in Wiring Systems.

Did you find and correct a condition?

Go to Step 9

Go to Step 8

5

Test the TFP signal B circuit of the TFP manual valve position switch for an open between the AT inline 20-way connector and the TFP manual valve position switch. Refer to Testing for Continuity in Wiring Systems.

Did you find and correct a condition?

Go to Step 6

Go to Step 7

6

Replace the automatic transmission wiring harness. Refer to Wiring Harness Replacement .

Did you complete the replacement?

Go to Step 9

--

7

Replace the TFP manual valve position switch. Refer to Transmission Fluid Pressure Manual Valve Position Switch Replacement .

Did you complete the replacement?

Go to Step 9

--

8

Replace the TCM. Refer to Control Module References in Computer/Integrating Systems for replacement, setup, and programming.

Is the replacement complete?

Go to Step 9

--

9

Perform the following procedure in order to verify the repair:

  1. Select DTC.
  2. Select Clear DTC Information.
  3. Start and idle the engine in PARK for 5 seconds.
  4. Select the TFP Sig. B/Sig. C parameter on the scan tool.
  5. Move the range selector from PARK to D4.
  6. Ensure that the TFP signal B changes from HI to LOW.
  7. Select Specific DTC.
  8. Enter DTC P1816.

Has the test run and passed?

Go to Step 10

Go to Step 2

10

With the scan tool, observe the stored information, capture info, and DTC info.

Does the scan tool display any DTCs that you have not diagnosed?

Go to Diagnostic Trouble Code (DTC) List - Vehicle in Vehicle DTC Information

System OK