GM Service Manual Online
For 1990-2009 cars only

Engine Flare During 2-3 Shift, Most Noticeable During Light to Moderate Acceleration (Reprogram TCM)

Subject:Engine Flare During 2-3 Shift, Most Noticeable During Light to Moderate Acceleration (Reprogram TCM)

Models:2002-2003 Saturn VUE Vehicles with AF33-5 Automatic Transaxle (RPO M09 or M45)

Attention: Technician


Important: This bulletin incorporates information for 2002-2003 Saturn VUE vehicles formerly found in Corporate Bulletin Number 03-07-30-052B. Please refer to Corporate Bulletin Number 03-07-30-052C for information on 2003-2004 Saturn ION vehicles.

Condition

Some customers may comment on an engine flare during a 2-3 shift. This condition may be intermittent and may be most noticeable on shifts that occur during light to moderate acceleration.

Cause

The condition may be caused by aeration of transaxle fluid, resulting in a delayed apply of 3rd clutch.

Correction

To correct this condition, reprogram the transaxle control module (TCM), reset the transmission adaptives, perform Transmission Adaptive Learn Procedure, and re-evaluate the vehicle following the procedures in this bulletin.

Service Procedure

  1. Verify the customer concern. Evaluate the vehicle for engine flare during the 2-3 shift under light to moderate acceleration using the Tech 2 Scan Tool.

  2. Object Number: 884596  Size: SF
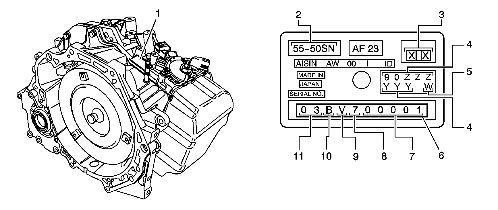
  3. Locate metal transaxle identification tag (1), and identify the transaxle part number (4). The transaxle part number will be needed when referencing the calibration information table included in this bulletin for the correct calibration identification.
  4. Important: For reprogramming procedures, refer to the Service Programming System (SPS) in SSS Users Guide.

  5. Reprogram the TCM with updated calibration established from the calibration information table in this bulletin. Use Saturn Service Stall (SSS) software release TIS Data CD 1.0/2005 or later.
  6. Important: Failure to perform the Transmission Adaptive Learn Procedure may cause intermittent erratic shifts, customer dissatisfaction, and a return visit to the store.

    Important: Perform all steps of the Adaptive Learn Procedure. Engine flare during shifting or harsh shifts will occur if not done correctly. When performing the 2-3 and 3-4 up-shifts, a small shift flare may occur the first or second time depending on transaxle internal tolerances.

  7. Drive the vehicle to warm the transaxle fluid to 65-110°C (150-230°F). The Adaptive Learn Procedure will not work unless transaxle fluid is the correct temperature.
  8. Reset the transaxle adaptive learns using a scan tool. Go to the Transmission Special Functions then Trans. Output Controls menu and select Reset Transmission Adapts.
  9. Perform the following steps for the garage shifts adaptive learn.
  10. 6.1. Apply the parking brake and the foot brake.
    6.2. Shift from "N" (NEUTRAL) to "R" (REVERSE) and keep in "R" (REVERSE) for 3 seconds.
    6.3. Shift from "R" (REVERSE) to "N" (NEUTRAL).
    6.4. Repeat Steps 6.2 and 6.3 five times.
    6.5. Shift from "N" (NEUTRAL) to "D" (DRIVE) and keep in "D" (DRIVE) for 3 seconds.
    6.6. Shift from "D" (DRIVE) to "N" (NEUTRAL).
    6.7. Repeat Steps 6.5 and 6.6 five times.
  11. Perform the following steps for the up/down shifting adaptive learn.
  12. 7.1. Drive the vehicle in "D" (DRIVE) with light (15-20%) throttle until above 50 km/h (31 mph) in 4th gear.
    7.2. Decelerate and apply the brakes until vehicle comes to a stop. Brake the vehicle so that it takes at least 14 seconds to stop.
    7.3. Repeat Steps 7.1 and 7.2 five times.
  13. Perform the following steps for 2-1 manual down shift adaptive learn.
  14. 8.1. Drive the vehicle in "I" (INTERMEDIATE) until over 25 km/h (16 mph) with any throttle position.
    8.2. Decelerate, shift from "I" (INTERMEDIATE) to "L" (LOW) manually and stop the vehicle.
    8.3. Repeat Steps 8.1 and 8.2 ten times.

    Important: If shift quality does not improve, ensure the TCM has the correct transmission calibration.

  15. Confirm shift quality.

Calibration Information

Important: Before installing new TCM calibration, make sure the Saturn Service Stall (SSS) system version is TIS Data CD 1.0/2005 or later.

VUE Service Matrix

Transaxle Part Number

Calibration Part Number

Model

24222116**

24230089

AWD

24224782

24230089

AWD

24225145

24230089

24230090

AWD

FWD

** Transaxle P/N 24222116 ONLY: Check vehicle service history to determine if the new valve body P/N 24226260 and electrical harness P/N 24226258 was previously installed. Valve body P/N 24226260 and electrical harness P/N 24226258 must be installed before reprogramming the TCM with calibration P/N 24230089 (AWD model). If necessary, refer to the appropriate service procedures for valve body replacement.

Claim Information

To receive credit for this repair during the warranty coverage period, submit a claim through the Saturn Dealer System for K5364 (TCM - Reprogramming). An "add time" condition is provided to verify condition and repair.