GM Service Manual Online
For 1990-2009 cars only

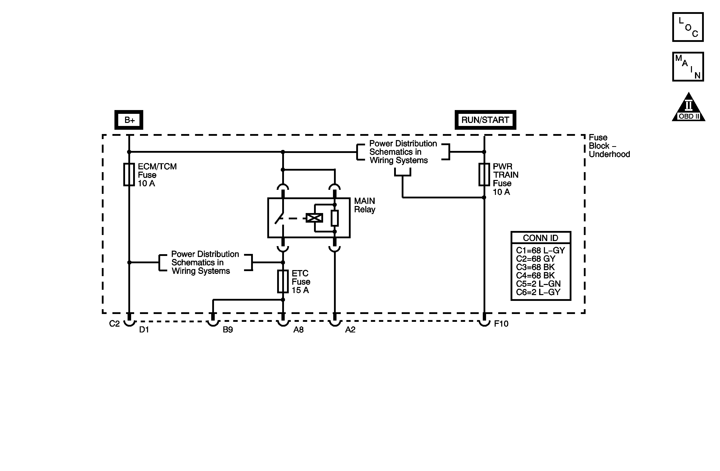
Object Number: 1247607  Size: MF
Engine Controls Component Views
Engine Controls Schematics

Circuit Description

The main relay is a normally open relay. The relay armature is held in the open position by spring tension. Battery positive voltage is supplied directly to the relay coil and the armature contact at all times. The engine control module (ECM) supplies the ground path to the relay coil control circuit, via an internal integrated circuit called an output driver module (ODM). When the ECM commands the relay ON, the relay coil creates an electromagnetic field. This electromagnetic field overcomes the spring tension and pulls the armature contact into the stationary contact of the relay load circuit. The closing of the relay contacts allows current to flow from the battery to the following fuses:

    • ETC FUSE
    • EMISSION FUSE

When the ignition switch is turned to the OFF position, power is interrupted to the output driver module in the ECM, and the relay electromagnetic field collapses. This allows the spring tension to separate the relay armature contact from the relay load circuit contact, which interrupts current flow to the fuses.

If the main relay fails to close the engine will crank and run. The class 2 communications will be available with the use of a scan tool.

The main relay system diagnosis table assumes that the vehicle battery is fully charged. Refer to Battery Inspection/Test in Engine Electrical.

Step

Action

Values

Yes

No

Schematic Reference: Power Distribution Schematics in Wiring Systems and Engine Controls Schematics

Connector End View Reference: Engine Control Module Connector End Views , Power and Grounding Connector End Views , and Electrical Center Identification Views in Wiring Systems

1

Did you perform the Diagnostic System Check-Engine Controls?

--

Go to Step 2

Go to Diagnostic System Check - Engine Controls

2

  1. Turn ON the ignition with the engine OFF.
  2. Remove the underhood fuse block cover.
  3. Probe the following fuses with a test lamp that is connected to a good ground:
  4. • ETC Fuse
    • EMMISSION Fuse
    • Refer to Troubleshooting with a Test Lamp in Wiring Systems.

Does the test lamp illuminate on at least one test point of each fuse?

--

Go to Step 3

Go to Step 10

3

  1. Turn OFF the ignition.
  2. Probe both test points of the 15-amp ETC fuse in the underhood fuse block with a test lamp that is connected to a good ground.

Does the test lamp illuminate on either test point of the fuse?

--

Go to Step 4

Go to Step 37

4

  1. Turn OFF the ignition.
  2. Remove the main relay from the underhood fuse block with the J 43244 Relay Puller Pliers. Refer to Relay Replacement in Wiring Systems.
  3. Probe both test points of the 15-amp ETC fuse with a test lamp that is connected to a good ground.

Does the test lamp illuminate on either test point of the fuse?

--

Go to Step 5

Go to Step 7

5

  1. Turn OFF the ignition.
  2. Remove the EMISSION fuse from the underhood fuse block.
  3. Probe both test points of the 15-amp ETC fuse with a test lamp that is connected to a good ground.

Does the test lamp illuminate on either test point of the fuse?

--

Go to Step 6

Go to Diagnostic System Check - Engine Electrical in Engine Electrical

6

  1. Turn OFF the ignition.
  2. Remove the ETC fuse from the underhood fuse block.
  3. Notice: Refer to Test Probe Notice in the Preface section.

  4. Probe the main relay load circuit bus bar terminal in the underhood fuse block with a test lamp that is connected to a good ground. Refer to Probing Electrical Connectors in Wiring Systems.

Does the test lamp illuminate?

--

Go to Step 34

Go to Diagnostic System Check - Engine Electrical in Engine Electrical

7

  1. Turn OFF the ignition.
  2. Notice: Refer to Test Probe Notice in the Preface section.

  3. Probe the main relay coil control circuit terminal in the underhood fuse block with a test lamp that is connected to battery positive voltage. Refer to Probing Electrical Connectors in Wiring Systems.

Does the test lamp illuminate?

--

Go to Step 8

Go to Step 23

8

  1. Turn OFF the ignition.
  2. Disconnect the engine control module (ECM) electrical connector that contains the relay coil control circuit. Refer to Engine Control Module Replacement .
  3. Probe the main relay coil control circuit terminal in the underhood fuse block center with a test lamp that is connected to battery positive voltage.

Does the test lamp illuminate?

--

Go to Step 9

Go to Step 30

9

  1. Turn OFF the ignition.
  2. Disconnect the negative battery cable at the battery. Refer to Battery Negative Cable Disconnection and Connection in Engine Electrical.
  3. Disconnect the underhood fuse block electrical connector that contains the main relay coil control circuit. Refer to Underhood Electrical Center or Junction Block Replacement in Wiring Systems.
  4. Probe the main relay coil control circuit at the underhood fuse block electrical connector with a test lamp that is connected to battery positive voltage.

Does the test lamp illuminate?

--

Go to Step 31

Go to Step 34

10

  1. Turn OFF the ignition.
  2. Remove the main relay from the underhood fuse block with the J 43244 . Refer to Relay Replacement in Wiring Systems.
  3. Notice: Refer to Test Probe Notice in the Preface section.

  4. Probe the battery positive voltage terminal for the relay coil in the underhood fuse block with a test lamp that is connected to a good ground.

Does the test lamp illuminate?

--

Go to Step 12

Go to Step 11

11

Probe the mounting stud for the positive battery cable at the underhood fuse block with a test lamp that is connected to a good ground.

Does the test lamp illuminate?

--

Go to Step 34

Go to Diagnostic System Check - Engine Electrical in Engine Electrical

12

  1. Turn Off the ignition.
  2. Probe the relay coil control circuit terminal in the underhood fuse block with a test lamp that is connected to a good ground.

Does the test lamp illuminate?

--

Go to Step 16

Go to Step 13

13

  1. Turn ON the ignition, with the engine OFF.
  2. Probe the relay coil control circuit terminal in the underhood fuse block with a test lamp that is connected to a good ground.

Does the test lamp illuminate?

--

Go to Step 14

Go to Step 18

14

  1. Turn OFF the ignition.
  2. Disconnect the ECM electrical connector that contains the relay coil control circuit. Refer to Engine Control Module Replacement .
  3. Turn ON the ignition, with the engine OFF.
  4. Probe the main relay coil control circuit terminal in the underhood fuse block with a test lamp that is connected to a good ground.

Does the test lamp illuminate?

--

Go to Step 15

Go to Step 30

15

  1. Turn OFF the ignition.
  2. Disconnect the negative battery cable at the battery. Refer to Battery Negative Cable Disconnection and Connection in Engine Electrical.
  3. Disconnect the underhood fuse block electrical connector that contains the main relay coil control circuit. Refer to Underhood Electrical Center or Junction Block Replacement in Wiring Systems.
  4. Disconnect the main relay coil control circuit terminal from the underhood fuse block electrical connector. Refer to Pull to Seat Connectors in Wiring Systems.
  5. Connect the electrical connector that contained the main relay coil control circuit to the underhood fuse block.
  6. Connect the negative battery cable at the battery.
  7. Turn ON the ignition, with the engine OFF.
  8. Probe the main relay coil control circuit terminal at the underhood fuse block electrical connector with a test lamp that is connected to a good ground.

Does the test lamp illuminate?

--

Go to Step 32

Go to Step 34

16

  1. Turn OFF the ignition.
  2. Disconnect the ECM electrical connector that contains the relay coil control circuit. Refer to Engine Control Module Replacement .
  3. Probe the main relay control circuit terminal in the underhood fuse block with a test lamp that is connected to a good ground.

Does the test lamp illuminate?

--

Go to Step 17

Go to Step 30

17

  1. Turn OFF the ignition.
  2. Disconnect the negative battery cable at the battery. Refer to Battery Negative Cable Disconnection and Connection in Engine Electrical.
  3. Disconnect the underhood fuse block electrical connector that contains the main relay coil control circuit. Refer to Underhood Electrical Center or Junction Block Replacement in Wiring Systems.
  4. Connect the negative battery cable at the battery.
  5. Probe the main relay coil control circuit at the underhood fuse block electrical connector with a test lamp that is connected to a good ground.

Does the test lamp illuminate?

--

Go to Step 32

Go to Step 34

18

  1. Turn OFF the ignition.
  2. Probe the battery positive voltage terminal for the main relay armature at the underhood fuse block with a test lamp that is connected to a good ground.

Does the test lamp illuminate?

--

Go to Step 19

Go to Step 34

19

  1. Turn ON the ignition with the engine OFF.
  2. Notice: Refer to Test Probe Notice in the Preface section.

  3. Probe the relay coil control circuit terminal at the underhood fuse block with a test lamp that is connected to battery positive voltage.

Does the test lamp illuminate?

--

Go to Step 22

Go to Step 20

20

  1. Turn OFF the ignition.
  2. Disconnect the negative battery cable at the battery. Refer to Battery Negative Cable Disconnection and Connection in Engine Electrical.
  3. Disconnect the underhood fuse block electrical connector that contains the main relay coil control circuit. Refer to Underhood Electrical Center or Junction Block Replacement in Wiring Systems.
  4. Disconnect the ECM electrical connector that contains the main relay coil control circuit. Refer to Engine Control Module Replacement .
  5. Measure the resistance of the relay coil control circuit from the underhood fuse block electrical connector to the ECM electrical connector with a DMM. Refer to Troubleshooting with a Digital Multimeter in Wiring Systems.

Does the resistance measure than the specified value?

5 ohms

Go to Step 33

Go to Step 21

21

Test the main relay coil control bus bar circuit of the underhood fuse block for a high resistance or an open. Refer to Circuit Testing in Wiring Systems.

Did you find a condition?

--

Go to Step 34

Go to Step 30

22

  1. Turn OFF the ignition.
  2. Connect a 20-amp fused jumper wire between the battery positive voltage circuit terminal of the underhood fuse block and the relay load circuit terminal of the underhood fuse block. Refer to Using Fused Jumper Wires in Wiring Systems.
  3. Probe the following fuses with a test lamp that is connected to a good ground:
  4. • ETC Fuse
    • EMMISSION Fuse

Does the test lamp illuminate on at least one test point of each fuse?

--

Go to Step 23

Go to Step 34

23

Measure the resistance from terminal 85 of the relay to terminal 86 with a DMM. Refer to Troubleshooting with a Digital Multimeter in Wiring Systems.

Does the resistance measure within the specified range?

70-110ohms

Go to Step 24

Go to Step 35

24

Measure the resistance from terminal 30 of the relay to terminal 87 with a DMM.

Does the DMM display the specified value?

∞ ohms

Go to Step 25

Go to Step 35

25

Measure the resistance from terminal 30 of the relay to terminal 85 with a DMM

Does the DMM display the specified value?

∞ ohms

Go to Step 26

Go to Step 35

26

Measure the resistance from terminal 85 of the relay to terminal 87 with a DMM.

Does the DMM display the specified value?

∞ ohms

Go to Step 27

Go to Step 35

27

Measure the resistance from terminal 86 of the relay to terminal 87 with a DMM.

Does the DMM display the specified value?

∞ ohms

Go to Step 28

Go to Step 35

28

  1. Connect a 20-amp fused jumper wire from the battery positive cable at the battery to relay terminal 85. Refer to Using Fused Jumper Wires in Wiring systems.
  2. Connect a jumper wire from the negative battery cable at the battery to relay terminal 86.
  3. Measure the resistance from terminal 30 of the relay to terminal 87 with a DMM.

Does the resistance measure greater than the specified value?

3 ohms

Go to Step 35

Go to Step 29

29

Test for an intermittent and for a poor connection at the main relay location on the underhood fuse block. Refer to Testing for Intermittent Conditions and Poor Connections in Wiring Systems.

Did you find a condition?

--

Go to Step 34

Go to Intermittent Conditions

30

Test for shorted terminals and poor connections at the ECM electrical connectors. Refer to Testing for Intermittent Conditions and Poor Connections and Micro-Pack 100W Connectors in Wiring Systems.

Did you find and correct the condition?

--

Go to Step 37

Go to Step 36

31

Repair the short to ground in the relay coil control circuit between the underhood fuse block and the ECM. Refer to Wiring Repairs in Wiring Systems.

Did you complete the repair?

--

Go to Step 37

--

32

Repair the short to voltage in the relay coil control circuit between the underhood fuse block and the ECM. Refer to Wiring Repairs in Wiring Systems.

Did you complete the repair?

--

Go to Step 37

--

33

Repair the high resistance or an open in the relay coil control circuit between the underhood fuse block and the ECM. Refer to Wiring Repairs in Wiring Systems.

Did you complete the repair?

--

Go to Step 37

--

34

Replace the underhood fuse block. Refer to Underhood Electrical Center or Junction Block Replacement in Wiring Systems.

Did you complete the replacement?

--

Go to Step 37

--

35

Replace the main relay. Refer to Relay Replacement in Wiring Systems.

Did you complete the replacement?

--

Go to Step 37

--

36

Replace the ECM. Refer to Engine Control Module Replacement .

Did you complete the replacement?

--

Go to Step 37

--

37

  1. Reassemble the vehicle as necessary.
  2. Replace any open fuses.
  3. Clear any DTCs with a scan tool.
  4. Start the engine.
  5. Operate the vehicle in order to verify the repair.

Did you correct the condition?

--

Go to Step 38

Go to Engine Cranks but Does Not Run

38

Observe the capture info with a scan tool.

Are there any DTCs that have not been diagnosed?

--

Go to Diagnostic Trouble Code (DTC) List

System OK