GM Service Manual Online
For 1990-2009 cars only

    Object Number: 781103  Size: SH
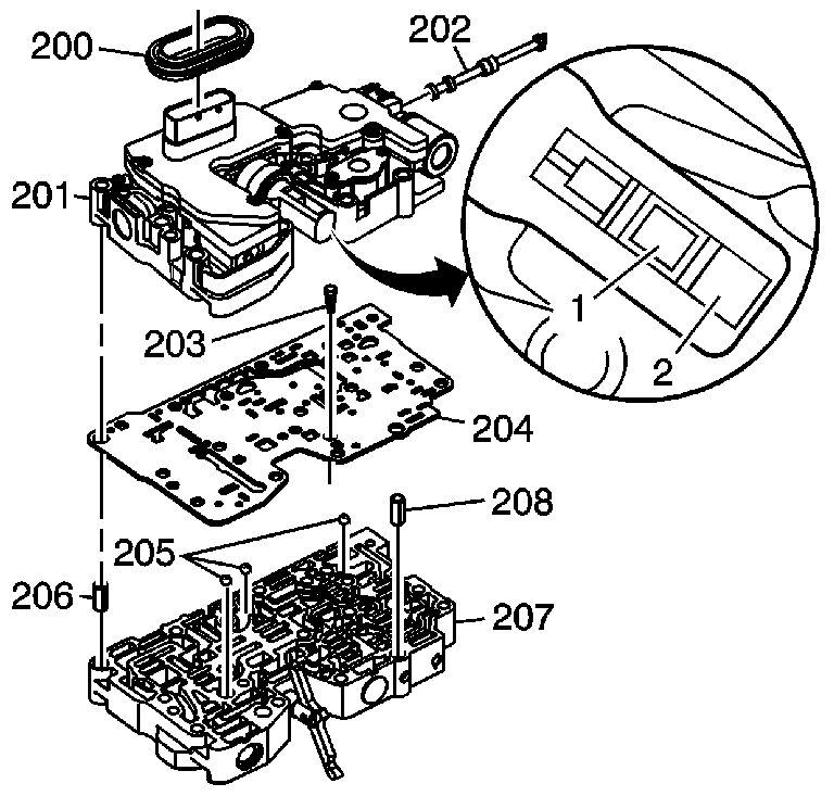
  1. Remove the manual valve (202) from the control solenoid valve assembly.
  2. Remove the wiring connector hole seal (200) for the control valve body cover.
  3. Carefully separate the control solenoid valve assembly (201) from the valve body assembly (207).
  4. Remove the spacer plate assembly (204). Discard the spacer plate assembly.
  5. Remove the fluid pump pressure screen assembly (203) from the spacer plate assembly.
  6. Remove the 3 ball check valves (205) from the valve body assembly (207).

  7. Object Number: 781360  Size: SH

    Caution: Some valves are under pressure. Cover the bores while removing the retainers and plugs or personal injury could result.

  8. Remove the bore plug retainer for the line 2 pressure regulator valve.
  9. Remove the bore plug for the line 2 pressure regulator valve.
  10. Remove the bore plug - O-ring - seal for the line 2 pressure regulator valve. Discard the seal.
  11. Remove the line 2 pressure regulator valve spring.
  12. Remove the line 2 pressure regulator valve.

  13. Object Number: 781016  Size: SH

    Important: Position the control valve body assembly on a clean surface during disassembly.

  14. Remove the spring seat for the primary limit valve.
  15. Remove the primary limit valve spring.
  16. Remove the primary limit valve.

  17. Object Number: 781019  Size: SH
  18. Remove the spring seat for the actuator feed limit valve.
  19. Remove the spring for the actuator feed limit valve.
  20. Remove the actuator feed limit valve.

  21. Object Number: 781022  Size: SH
  22. Remove the spring seat for the line limit valve.
  23. Remove the line limit valve spring.
  24. Remove the line limit valve.

  25. Object Number: 781024  Size: SH
  26. Remove the spring seat for the TCC control valve.
  27. Remove the TCC control valve spring.
  28. Remove the TCC control valve.

  29. Object Number: 781026  Size: SH
  30. Remove the bore plug retainer for the forward and reverse clutch valve.
  31. Remove the bore plug for the forward and reverse clutch valve.
  32. Remove the bore plug - O-ring - seal for the forward and reverse clutch valve. Discard the seal.
  33. Remove the spring for the forward and reverse clutch valve.
  34. Remove the forward and reverse clutch valve.

  35. Object Number: 781029  Size: SH
  36. Remove the bore plug retainer for the line 1 pressure regulator valve.
  37. Remove the bore plug for the line 1 pressure regulator valve.
  38. Remove the bore plug - O-ring - seal for the line 1 pressure regulator valve. Discard the seal.
  39. Remove the line 1 pressure regulator valve spring.
  40. Remove the line 1 pressure regulator valve.

  41. Object Number: 781031  Size: SH
  42. Remove the variable ratio control valve lever assembly.
  43. Remove the spring for the variable ratio control valve.

  44. Object Number: 781033  Size: SH
  45. Remove the bore plug retainer for the TCC regulator valve.
  46. Remove the bore plug for the TCC regulator valve.
  47. Remove the bore plug - O-ring - seal for the TCC regulator valve. Discard the seal.
  48. Remove the TCC regulator valve.
  49. Remove the spring for the TCC regulator apply valve.

  50. Object Number: 781035  Size: SH
  51. Remove the control solenoid valve locator pin.
  52. Remove the clutch boost valve spring.
  53. Remove the clutch boost valve.