GM Service Manual Online
For 1990-2009 cars only

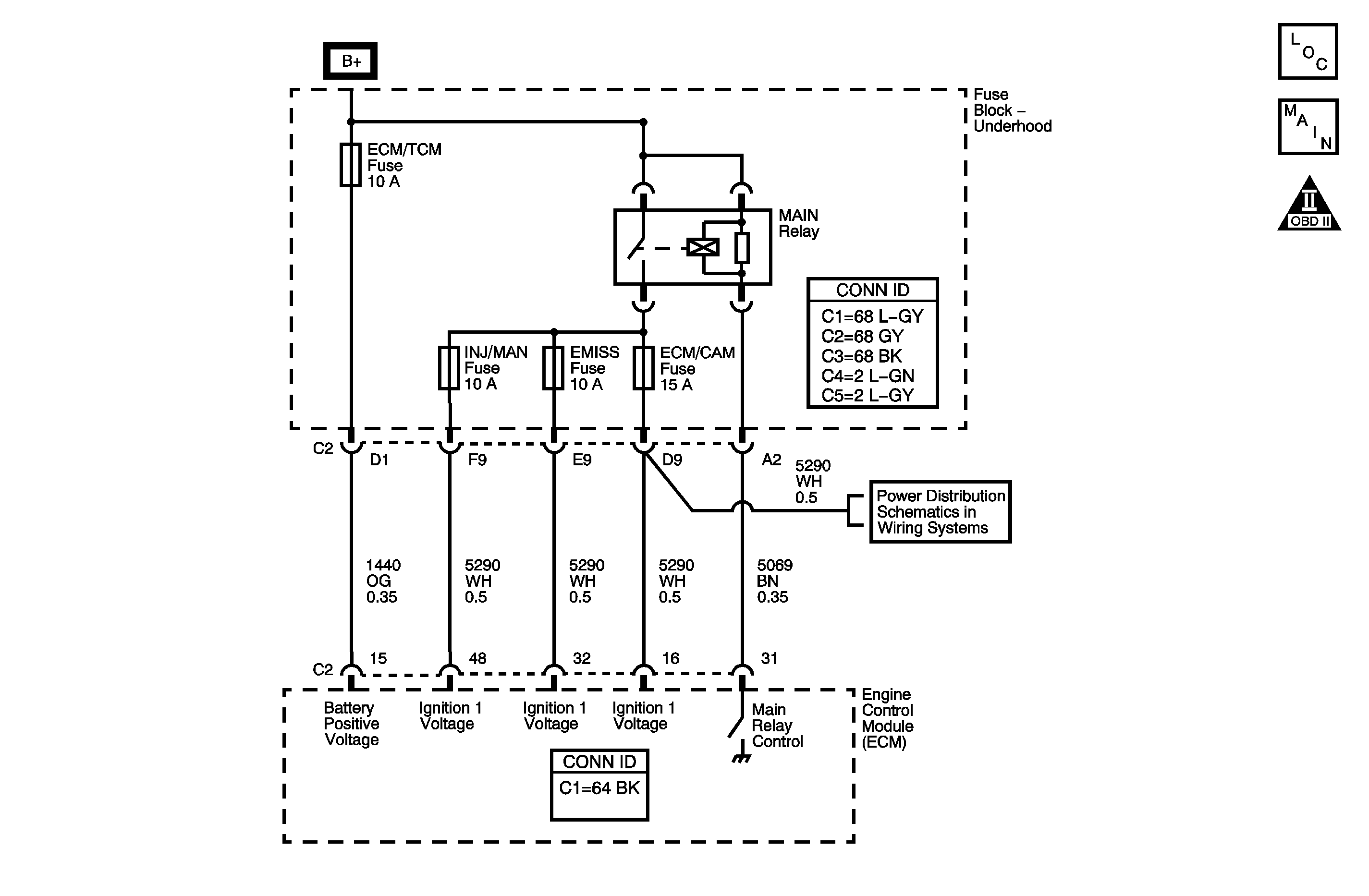
Object Number: 1254433  Size: MF
Engine Controls Component Views
Engine Controls Schematics

Circuit Description

The main relay is a normally open relay. The relay armature is held in the open position by spring tension. Battery positive voltage is supplied directly to the relay coil and the armature contact at all times. The engine control module (ECM) supplies the ground path to the relay coil at all times. The engine control module (ECM) supplies the ground path to the relay coil control circuit, via an internal integrated circuit called an output driver module (ODM). When the ECM commands the relay ON, the relay coil creates an electromagnetic field. This electromagnetic field overcomes the spring tension and pulls the armature contact into the stationary contact of the relay load circuit. The closing of the relay contacts allows current to flow from the battery to the following fuses:

    • ECM/CAM FUSE
    • INJ/MANF FUSE
    • EMISSION FUSE

When the ignition switch is turned to the OFF position, the main relay will continue to be energized for three minutes after an engine run cycle. The main relay will continue to be energized for five seconds after the ignition switch is turned OFF, from an ignition ON, engine OFF condition. Once the power is interrupted to the output driver module in the ECM, the relay electromagnetic field collapses. This allows the spring tension to separate the relay armature contact from the relay load circuit contact, which interrupts current flow to the fuses.

If the main relay fails to close the engine will crank, but will not run. The ECM class 2 communications will not be available with the use of a scan tool. A body control module (BCM) Code U2105-Lost Communication with Engine Control System will set.

The main relay system diagnosis table assumes that the vehicle battery if fully charged. Refer to Battery Inspection/Test in Engine Electrical.

Step

Action

Values

Yes

No

Schematic Reference: Refer to Power Distribution Schematics in Wiring Systems and Engine Controls Schematics .

Connector End View References: Refer to Engine Control Module Connector End Views , Power and Grounding Connector End Views , and Electrical Center Identification Views in Wiring Systems.

1

Did you perform the Diagnostic System Check-Engine Controls?

--

Go to Step 2

Go to Diagnostic System Check - Engine Controls

2

  1. Turn ON the ignition, with the engine OFF.
  2. Remove the underhood fuse block cover.
  3. Probe the following fuses with a test lamp that is connected to a good ground:
  4. • ECM/CAM FUSE
    • INJ/MANF FUSE
    • EMISSION FUSE.
    • Refer to Troubleshooting with a Test Lamp in Wiring Systems.

Does the test lamp illuminate on at least one test point of each fuse?

--

Go to Step 3

Go to Step 11

3

  1. Turn OFF the ignition.
  2. Probe both test points of the 10-amp INJ/MANF fuse in the underhood fuse block with a test lamp that is connected to a good ground.

Does the test lamp illuminate on either test point of the fuse?

--

Go to Step 4

Go to Step 38

4

  1. Turn OFF the ignition.
  2. Remove the main relay from the underhood fuse block with the J 43244 . Refer to Relay Replacement in Wiring Systems.
  3. Probe both the test points of the 10-amp INJ/MANF fuse with a test lamp that is connected to a good ground.

Does the test lamp illuminate on either test point of the fuse?

--

Go to Step 5

Go to Step 8

5

  1. Turn OFF the ignition.
  2. Remove the EMISSION fuse from the underhood fuse block.
  3. Probe both test points of the 10-amp INJ/MANF fuse with a test lamp that is connected to a good ground.

Does the test lamp illuminate on either test point of the fuse?

--

Go to Step 6

Go to Diagnostic System Check - Engine Electrical in Engine Electrical

6

  1. Turn OFF the ignition.
  2. Remove the ECM/CAM fuse from the underhood fuse block.
  3. Probe both test points of the 10-amp INJ/MANF fuse with a test lamp that is connected to a good ground.

Does the test lamp illuminate on either test point of the fuse?

--

Go to Step 7

Go to Diagnostic System Check - Engine Electrical in Engine Electrical

7

  1. Turn OFF the ignition.
  2. Remove the INJ/MANF fuse from the underhood fuse block.
  3. Notice: Refer to Test Probe Notice in the Preface section.

  4. Probe the main relay load circuit bus bar terminal in the underhood fuse block with a test lamp that is connected to a good ground. Refer to Probing Electrical Connectors in Wiring Systems.

Does the test lamp illuminate?

--

Go to Step 35

Go to Diagnostic System Check - Engine Electrical in Engine Electrical

8

  1. Turn OFF the ignition.
  2. Notice: Refer to Test Probe Notice in the Preface section.

  3. Probe the main relay coil control circuit terminal in the underhood fuse block with a test lamp that is connected to battery positive voltage. Refer to Probing Electrical Connectors in Wiring Systems.

Does the test lamp illuminate?

--

Go to Step 9

Go to Step 24

9

  1. Turn OFF the ignition.
  2. Disconnect the engine control module (ECM) electrical connector that contains the relay coil control circuit. Refer to Engine Control Module Replacement .
  3. Probe the main relay coil control circuit terminal in the underhood fuse block with a test lamp this is connected to battery positive voltage.

Does the test lamp illuminate?

--

Go to Step 10

Go to Step 31

10

  1. Turn OFF the ignition.
  2. Disconnect the negative battery cable at the battery. Refer to Battery Negative Cable Disconnection and Connection in Engine Electrical.
  3. Disconnect the underhood fuse block electrical connector that contains the main relay coil control circuit. Refer to Underhood Electrical Center or Junction Block Replacement in Wiring Systems.
  4. Probe the main relay coil control circuit at the underhood fuse block electrical connector with a test lamp that is connected to battery positive voltage.

Does the test lamp illuminate?

--

Go to Step 32

Go to Step 35

11

  1. Turn OFF the ignition.
  2. Remove the main relay from the underhood fuse block with the J 43244 . Refer to Relay Replacement in Wiring Systems.
  3. Notice: Refer to Test Probe Notice in the Preface section.

  4. Probe the battery positive voltage terminal for the relay coil in the underhood fuse block with a test lamp that is connected to a good ground. Refer to Probing Electrical Connectors in Wiring Systems.

Does the test lamp illuminate?

--

Go to Step 13

Go to Step 12

12

Probe the mounting stud for the positive battery cable at the underhood fuse block with a test lamp that is connected to a good ground

Does the test lamp illuminate?

--

Go to Step 35

Go to Diagnostic System Check - Engine Electrical in Engine Electrical

13

  1. Turn OFF the ignition
  2. Probe the relay coil control circuit terminal in the underhood fuse block with a test lamp that is connected to a good ground.

Does the test lamp illuminate?

--

Go to Step 17

Go to Step 14

14

  1. Turn ON the ignition, with the engine OFF.
  2. Probe the relay coil control circuit terminal in the underhood fuse block with a test lamp that is connected to a good ground.

Does the test lamp illuminate?

--

Go to Step 15

Go to Step 19

15

  1. Turn OFF the ignition.
  2. Disconnect the ECM electrical connector that contains the relay coil control circuit. Refer to Engine Control Module Replacement .
  3. Turn ON the ignition, with the engine OFF.
  4. Probe the main relay coil control circuit at the underhood fuse block with a test lamp that is connected to a good ground.

Does the test lamp illuminate?

--

Go to Step 16

Go to Step 31

16

  1. Turn OFF the ignition.
  2. Disconnect the negative battery cable at the battery. Refer to Battery Negative Cable Disconnection and Connection in Engine Electrical.
  3. Disconnect the underhood fuse block electrical connector that contains the main relay coil control circuit. Refer to Underhood Electrical Center or Junction Block Replacement in Wiring Systems.
  4. Disconnect the main relay coil control circuit terminal from the underhood fuse block electrical connector. Refer to Push to Seat Connectors in Wiring Systems.
  5. Connect the electrical connector that contained the main relay coil control circuit to the underhood fuse block.
  6. Connect the negative battery cable at the battery.
  7. Turn ON the ignition, with the engine OFF.
  8. Probe the main relay coil control circuit terminal at the underhood fuse block electrical connector with a test lamp that is connected to a good ground.

Does the test lamp illuminate?

--

Go to Step 33

Go to Step 35

17

  1. Turn OFF the ignition.
  2. Disconnect the ECM electrical connector that contains the relay coil control circuit. Refer to Engine Control Module Replacement .
  3. Probe the main relay coil control circuit terminal in the underhood fuse block with a test lamp that is connected to a good ground.

Does the test lamp illuminate?

--

Go to Step 18

Go to Step 31

18

  1. Turn OFF the ignition.
  2. Disconnect the negative battery cable at the battery. Refer to Battery Negative Cable Disconnection and Connection in Engine Electrical.
  3. Disconnect the underhood fuse block electrical connector that contains the main relay coil control circuit. Refer to Underhood Electrical Center or Junction Block Replacement in Wiring Systems.
  4. Connect the negative battery cable at the battery.
  5. Probe the main relay coil connector circuit at the underhood fuse block electrical connector with a test lamp that is connected to a good ground.

Does the test lamp illuminate?

--

Go to Step 33

Go to Step 35

19

  1. Turn OFF the ignition.
  2. Probe the battery positive voltage terminal for the main relay armature at the underhood fuse block with a test lamp that is connected to a good ground.

Does the test lamp illuminate

--

Go to Step 20

Go to Step 35

20

  1. Turn ON the ignition, with the engine OFF.
  2. Notice: Refer to Test Probe Notice in the Preface section.

  3. Probe the relay coil control circuit terminal at the underhood fuse block with a test lamp that is connected to battery positive voltage.

Does the test lamp illuminate?

--

Go to Step 23

Go to Step 21

21

  1. Turn OFF the ignition.
  2. Disconnect the negative battery cable at the battery. Refer to Battery Negative Cable Disconnection and Connection in Engine Electrical.
  3. Disconnect the underhood fuse block electrical connector that contains the main relay coil control circuit. Refer to Underhood Electrical Center or Junction Block Replacement in Wiring Systems.
  4. Disconnect the ECM electrical connector that contains the main relay coil control circuit. Refer to Engine Control Module Replacement .
  5. Measure the resistance of the relay coil control circuit from the underhood fuse block electrical connector to the ECM electrical connector with a DMM. Refer to Troubleshooting with a Digital Multimeter in Wiring Systems.

Does the resistance measure greater than the specified value?

5 ohms

Go to Step 34

Go to Step 22

22

Test the main relay coil control bus bar circuit of the underhood fuse block for a high resistance or an open. Refer to Circuit Testing

Did you find a condition?

--

Go to Step 35

Go to Step 31

23

  1. Turn OFF the ignition.
  2. Connect a 20-amp fused jumper wire between the battery positive voltage circuit terminal of the underhood fuse block and the relay load circuit terminal of the underhood fuse block. Refer to Using Fused Jumper Wires in Wiring Systems.
  3. Probe the following fuses with a test lamp that is connected to a good ground:
  4. • ECM/CAM FUSE
    • INJ/MANF FUSE
    • EMISSION FUSE

Does the test lamp illuminate on at least one test point of each fuse?

--

Go to Step 24

Go to Step 35

24

Measure the resistance from terminal #85 of the relay to terminal #86 with a DMM. Refer to Troubleshooting with a Digital Multimeter in Wiring Systems.

Does the resistance measure within the specified range?

70-110 ohms

Go to Step 25

Go to Step 36

25

Measure the resistance from terminal #30 of the relay to terminal #87 with a DMM. Refer to Troubleshooting with a Digital Multimeter in Wiring Systems.

Does the DMM display the specified value?

∞ ohms

Go to Step 26

Go to Step 36

26

Measure the resistance from terminal #30 of the relay to terminal #85 with a DMM. Refer to Troubleshooting with a Digital Multimeter in Wiring Systems.

Does the DMM display the specified value?

∞ ohms

Go to Step 27

Go to Step 36

27

Measure the resistance from terminal #85 of the relay to terminal #87 with a DMM. Refer to Troubleshooting with a Digital Multimeter in Wiring Systems.

Does the DMM display the specified value?

∞ ohms

Go to Step 28

Go to Step 36

28

Measure the resistance from terminal #86 of the relay to terminal #87 with a DMM. Refer to Troubleshooting with a Digital Multimeter in Wiring Systems.

Does the DMM display the specified value?

∞ ohms

Go to Step 29

Go to Step 36

29

  1. Connect a 20-amp fused jumper wire from the battery positive cable at the battery to relay terminal #85. Refer to Using Fused Jumper Wires in Wiring Systems.
  2. Connect a jumper wire from the negative battery cable to the relay terminal #86.
  3. Measure the resistance from terminal #30 of the relay to terminal #87 with a DMM.

Does the resistance measure more than the specified value?

3 ohms

Go to Step 36

Go to Step 30

30

Test for an intermittent and for a poor connection at the main relay location on the underhood fuse block. Refer to Testing for Intermittent Conditions and Poor Connections in Wiring Systems.

Did you find a condition?

--

Go to Step 35

Go to Intermittent Conditions

31

Test for shorted terminals and poor connections at the ECM electrical connector. Refer to Testing for Intermittent Conditions and Poor Connections and Micro-Pack 100W Connectors in Wiring Systems.

Did you find and correct the condition?

--

Go to Step 38

Go to Step 37

32

Repair the short to ground in the relay coil control circuit between the underhood fuse block and the ECM. Refer to Wiring Repairs in Wiring Systems.

Did you complete the repair?

--

Go to Step 38

--

33

Repair the short to voltage in the relay coil control circuit between the underhood fuse block and the ECM. Refer to Wiring Repairs in Wiring Systems.

Did you complete the repair?

--

Go to Step 38

--

34

Repair the high resistance or an open in the relay coil control circuit between the underhood fuse block and the ECM. Refer to Wiring Repairs in Wiring Systems.

Did you complete the repair?

--

Go to Step 38

--

35

Replace the underhood fuse block. Refer to Underhood Electrical Center or Junction Block Replacement in Wiring Systems.

Did you complete the replacement?

--

Go to Step 38

--

36

Replace the main relay. Refer to Relay Replacement .

Did you complete the replacement?

--

Go to Step 38

--

37

Replace the ECM. Refer to Engine Control Module Replacement .

Did you complete the replacement?

--

Go to Step 38

--

38

  1. Reassemble the vehicle as necessary.
  2. Replace any open fuses.
  3. Clear any DTCs with a scan tool.
  4. Start the engine.
  5. Operate the vehicle in order to verify the repair.

Did you correct the condition?

--

Go to Step 39

Go to Engine Cranks but Does Not Run

39

Observe the capture info with a scan tool.

Are there any DTCs that have not been diagnosed?

--

Go to Diagnostic Trouble Code (DTC) List

System OK