GM Service Manual Online
For 1990-2009 cars only

System Overview


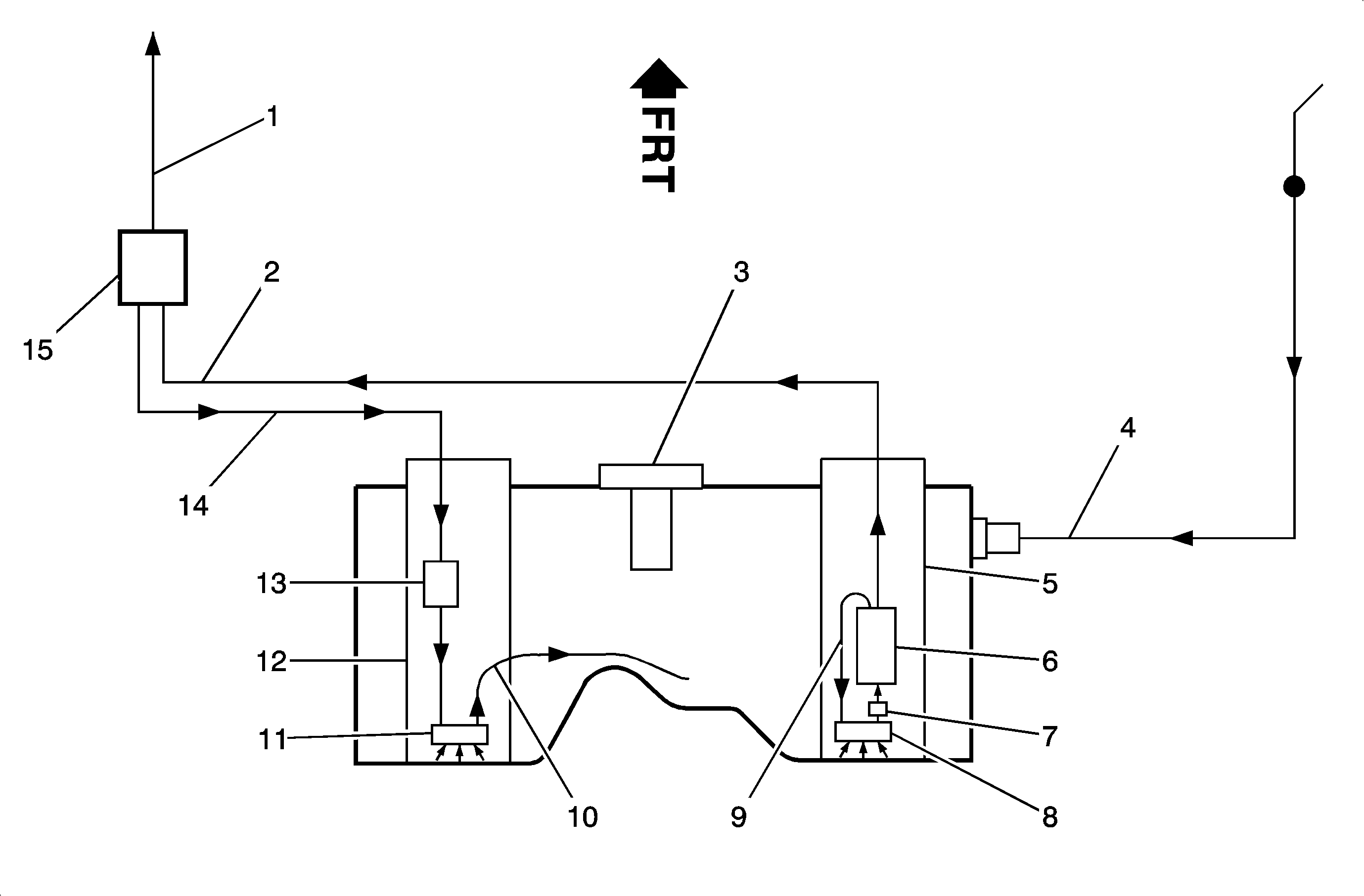
Object Number: 1212075  Size: MF
(1)Fuel Feed Pipe to Engine
(2)Fuel Feed Pipe
(3)Fuel Level Vent Valve
(4)Fuel Filler Neck
(5)Primary Fuel Tank Module
(6)Fuel Pump
(7)Strainer
(8)High Pressure Siphon Jet Pump
(9)Fuel Feed to High Pressure Siphon Jet Pump
(10)Fuel Transfer Tube
(11)Low Pressure Siphon Jet Pump
(12)Secondary Fuel Tank Module
(13)Fuel Pressure Regulator
(14)Fuel Return Pipe
(15)Fuel Filter

The fuel tank stores the fuel supply. The electric fuel pump (6) is attached to the primary fuel tank module and supplies fuel through an in-line fuel filter (15) to the fuel injection system. The fuel pump provides fuel at a higher rate of flow than is needed by the fuel injection system. The fuel pressure regulator (13) a part of the secondary fuel tank module (12) maintains the correct fuel pressure to the fuel injection system. A fuel return pipe (14) attaches between the in-line fuel filter and the secondary fuel tank module. When the fuel pressure exceeds the set point of the fuel pressure regulator, excess fuel flows to the siphon jet pump (11) on the secondary fuel tank module. The return fuel creates a venturi action inside the siphon jet tank though the fuel transfer tube (10) to the primary side of the fuel tank. The electric fuel pump also supplies fuel to the high pressure siphon jet pump (8), which is attached to the primary fuel tank module. The high pressure siphon jet pump supplies fuel to the reservoir of the primary fuel tank module. The fuel pressure regulator also maintains fuel pressure in the fuel return pipe, which reduces the time to prime the low pressure siphon jet pump.

Fuel Tank

The fuel storage tank is made of high density polyethylene and is located behind the rear wheels. The fuel storage tank is held in place by two metal straps that are attached to the under body of the vehicle. The tank shape includes a sump in order to maintain a constant supply of fuel around the fuel pump strainer during low fuel conditions or during aggressive maneuvers.

The tank also contains a fuel vapor vent valve with a roll-over protection. The vent valve also features a two phase vent calibration which increases the fuel vapor flow to the canister when the operating temperatures increase the tank pressure beyond an established threshold.

Fuel Tank Filler Pipe

In order to prevent refueling with leaded fuel, the fuel filler pipe has a built-in restrictor and a deflector. The opening in the restrictor will accept only the smaller unleaded gasoline fuel nozzle which must be fully inserted in order to bypass the deflector. The tank is vented during filling by an internal vent tube inside of the filler pipe.

Fuel Filler Cap

Notice: Use a fuel tank filler pipe cap with the same features as the original when a replacement is necessary. Failure to use the correct fuel tank filler pipe cap can result in a serious malfunction of the fuel system.

The fuel tank filler pipe is equipped with a turn to vent screw on type cap which incorporates a ratchet action in order to prevent over-tightening.

The turn to vent feature allows fuel tank pressure relief prior to removal. Instructions for proper use are imprinted on the cap cover. A vacuum safety relief valve is incorporated into this cap.

Fuel Tank Module Assembly (Primary)

A fuel tank module assembly is located in each side of the fuel tank. The fuel tank module assembly attaches to the upper side of the fuel tank. The primary fuel tank module assembly consists of the following major components:

    • Fuel level sensor
    • Electric fuel pump and reservoir bucket
    • Fuel pump strainer
    • Siphon jet pump

Fuel Tank Module Assembly (Secondary)

The assembly mounts to the threaded opening of the plastic fuel tank with a multi-lipped seal and a threaded retainer (nut). The assembly contains the following:

    • Siphon jet pump
    • Fuel level sensor
    • Fuel pressure regulator

Fuel Pump

The electric fuel pump is a turbine pump which is located inside of the fuel tank module assembly (primary). The electric fuel pump operation is controlled by the engine control module (ECM) through the fuel pump relay.

Fuel Sender Strainers

The strainers act as a coarse filter to perform the following functions:

    • Filter contaminants
    • Separate water from fuel
    • Provide a wicking action that helps draw fuel into the fuel pump

Fuel stoppage at the strainer indicates that the fuel tank contains an abnormal amount of sediment or water. Therefore, the fuel tank will need to be removed and cleaned.

In-Line Fuel Filter

A metal in-line filter is used in the fuel feed line near the fuel tank. The filter element is made of paper, and is designed to trap particles in the fuel that may damage the injection system.

Fuel Filter


Object Number: 975291  Size: SH

The fuel filter is located on the fuel feed pipe, between the fuel pump and the fuel rail. The electric fuel pump supplies fuel through the in-line fuel filter to the fuel injection system. The fuel pressure regulator keeps the fuel available to the fuel injectors at a regulated pressure. Unused fuel is returned from the fuel filter to the fuel tank by a separate fuel return pipe. The paper filter element (2) traps particles in the fuel that may damage the fuel injection system. The filter housing (1) is made to withstand maximum fuel system pressure, exposure to fuel additives, and changes in temperature. There is no service interval for fuel filter replacement. Replace a restricted fuel filter.

Fuel Lines and Return Pipes

The fuel feed pipe carries fuel from the fuel tank to the fuel rail assembly. The fuel return pipe carries fuel from the in-line fuel filter assembly back to the fuel tank. The fuel pipes consist of 2 sections:

    • The rear fuel pipe assemblies are located from the top of the fuel tank to the chassis fuel pipes. The rear fuel pipes are constructed of nylon.
    • The chassis fuel pipe is located under the vehicle and connect the rear fuel pipe to the fuel rail pipe. This pipe is constructed of steel.

Fuel Rail


Object Number: 61654  Size: SH
(1)The Fuel Rail
(2)The Fuel Supply Line
(3)The Fuel Return Line
(4)The Fuel Pressure Regulator

The fuel rail consists of 4 parts:

    • The pipe that carries fuel to each injector
    • The fuel pressure regulator
    • The fuel pressure test port
    • Six individual fuel injectors

The fuel rail is mounted on the intake manifold and distributes the fuel to each cylinder through the individual injectors.

The fuel is delivered from the pump through the fuel feed line to the inlet port of the fuel rail pipe. From the fuel feed inlet, fuel is directed to the rail pipe then to each individual fuel injector.

Fuel Injectors

The fuel injector is a solenoid device that is controlled by the ECM. When the ECM energizes the injector coil, a normally closed ball valve opens, allowing the fuel to flow past a director plate to the injector outlet. The director plate has holes that control the fuel flow, generating a dual conical spray pattern of finely atomized fuel at the injector outlet. The fuel from the outlet is directed at both of the intake valves, causing the fuel to become further vaporized before entering the combustion chamber.

The fuel injectors may cause various driveability conditions if the following conditions occur:

    • If the injectors will not open
    • If the injectors are stuck open
    • If the injectors are leaking
    • If the injectors have a low or high coil resistance

Fuel Pulsation Damper

The rapid opening and closing of the fuel injectors cause pressure fluctuation in the fuel rail. The result is that the amount of injected fuel will be more or less than the desired amount. Mounted on the fuel rail, the pulsation damper reduces these pressure fluctuations. When pressure suddenly begins top drop, the spring-loaded diaphragm extends slightly decreasing fuel rail volume. This will momentarily prevent fuel pressure from becoming too low.

Fuel Pressure Regulator

The fuel pressure regulator is a diaphragm operated relief valve. The fuel pump pressure is on one side of the regulator, and the regulator spring pressure is on the other side. The function of the fuel pressure regulator is to maintain a constant fuel pressure under all of the operating conditions. The pressure regulator DOES NOT compensate for the engine load by increasing the fuel pressure as the engine intake manifold vacuum drops. The vent on the fuel pressure regulator is an atmospheric vent only. The fuel pressure regulator is mounted on the secondary fuel tank module.

With the engine running at idle, the system fuel pressure at the pressure test connection should be between 337-365 kPa (49-53 psi). With the system pressurized and the pump OFF the pressure should stabilize and hold between 337-365 kPa (49-53 psi). If the pressure regulator supplies a fuel pressure which is too low or too high, a driveability condition may result.

Fuel Pump Relay

When the ignition switch is in the ON position before engaging the starter, the ECM energizes the fuel pump relay for 2 seconds, causing the fuel pump to pressurize the fuel system. If the ECM does not receive the ignition, reference pulses with the engine cranking or running within 2 seconds, the ECM shuts OFF the fuel pump relay, causing the fuel pump to stop.

Engine Fueling

The engine is fueled by 6 individual fuel injectors, one for each cylinder, that are controlled by the ECM. The ECM controls each fuel injector by energizing the fuel injector coil for a brief period once every other engine revolution. The length of this brief period, or pulse, is carefully calculated by the control module to deliver the correct amount of fuel for proper driveability and emissions control. The period of time when the fuel injector is energized is called the pulse width and is measured in milliseconds, thousandths of a second.

While the engine is running, the ECM is constantly monitoring the inputs and recalculating the appropriate pulse width for each fuel injector. The pulse width calculation is based on the fuel injector flow rate, mass of fuel the energized fuel injector will pass per unit of time, the desired air/fuel ratio, and actual air mass in each cylinder and is adjusted for battery voltage, short term, and long term fuel trim. The calculated pulse is timed to occur as each cylinders intake valves are closing to attain largest duration and most vaporization.

Fueling during an engine crank is slightly different than fueling during an engine run. As the engine begins to turn, a prime pulse may be injected to speed starting. As soon as the ECM can determine where in the firing order the engine is, the ECM begins pulsing the fuel injectors. The pulse width during the crank is based on the coolant temperature and the engine load.

The fueling system has several automatic adjustments in order to compensate for the differences in the fuel system hardware, the driving conditions, the fuel used, and the vehicle aging. The basis for the fuel control is the pulse width calculation that is described above. Included in this calculation are an adjustment for the battery voltage, the short term fuel trim, and the long term fuel trim. The battery voltage adjustment is necessary since the changes in the voltage across the fuel injector affect the fuel injector flow rate. The short term and the long term fuel trims are fine and gross adjustments to the pulse width that are designed in order to maximize the driveability and emissions control. These fuel trims are based on the feedback from the oxygen sensors in the exhaust stream and are only used when the fuel control system is in a Closed Loop operation.

Under certain stringent conditions, the fueling system will not energize the fuel injectors, individually or in groups, for a period of time. This is referred to as the fuel shut-off. The fuel shut-off is used in order to improve the traction, save fuel, improve the starting, and protect the vehicle under certain extreme or abusive conditions.

In case of a major internal problem, the ECM is equipped with a back-up fuel strategy mode that will run the engine until service can be performed.

Sequential Multiport Fuel Injection

The ECM controls the fuel injectors based on information that the ECM receives from several information sensors. Each fuel injector is fired individually in the engine firing order, which is called a sequential multiport fuel injection. This allows precise fuel metering to each cylinder and improves the driveability under all of the driving conditions.

The ECM has several operating modes for fuel control, depending on the information that has been received from the sensors.

Starting Mode

When the ECM detects reference pulses from the crankshaft position (CKP) sensor, the ECM will enable the fuel pump. The fuel pump runs and builds up pressure in the fuel system. The ECM then monitors the mass air flow (MAF), intake air temperature (IAT), engine coolant temperature (ECT), and the throttle position (TP) sensor signal in order to determine the required fuel injector pulse width for starting.

Clear Flood Mode

If the engine is flooded with fuel during starting and will not start, the Clear Flood Mode can be manually selected. To select Clear Flood Mode, push the accelerator to wide open throttle (WOT). With this signal, the ECM will reduce fuel flow to the fuel injectors and will maintain this stage as long as the ECM indicates a WOT condition with engine speed below 1,000 RPM.

Run Mode

The Run Mode has 2 conditions: Open Loop operation and Closed Loop operation. When the engine is first started and the engine speed is above 480 RPM, the system goes into Open Loop operation. In Open Loop operation, the ECM ignores the signals from the oxygen sensors and calculates the required fuel injector pulse width based primarily on inputs from the mass air flow (MAF), intake air temperature (IAT) and engine coolant temperatures (ECT) sensors.

In Closed Loop, the ECM adjusts the calculated fuel injector pulse width for each bank of fuel injectors based on the signals from each oxygen sensor.

Acceleration Mode

The ECM monitors the changes in the throttle position (TP) and the MAF sensor J 41398 signals in order to determine when the vehicle is being accelerated. The ECM will then increase the fuel injector pulse width in order to provide more fuel for improved driveability.

Deceleration Mode

The ECM monitors changes in TP and MAF sensor signals to determine when the vehicle is being decelerated. The ECM will then decrease fuel injector pulse width or even shut OFF fuel injectors for short periods to reduce exhaust emissions.

Battery Voltage Correction Mode

The ECM can compensate in order to maintain acceptable vehicle driveability when the ECM sees a low battery voltage condition. The ECM compensates by performing the following functions:

    • Increasing the fuel injector pulse width in order to maintain the proper amount of fuel being delivered
    • Increasing the idle speed to increase the generator output

Fuel Shut-Off Mode

The ECM has the ability to completely turn OFF all of the fuel injectors or selectively turn OFF some of the fuel injectors when certain conditions are met. These fuel shut-off modes allow the ECM to protect the engine from damage and also to improve the vehicles driveability.

The ECM will disable all of the 6  fuel injectors under the following conditions:

    • Ignition OFF--Prevents engine run-on
    • Ignition ON but no ignition reference signal--Prevents flooding or backfiring
    • A high engine speed--Above the red line
    • A high vehicle speed--Above the rated tire speed
    • The extended high speed closed throttle coastdown--Reduces the emissions and increases engine braking.

The ECM will selectively disable the fuel injectors under the following conditions:

    • The torque management enabled--Transmission shifts or abusive maneuvers.
    • The traction control enabled--In conjunction with the front brakes applying