|
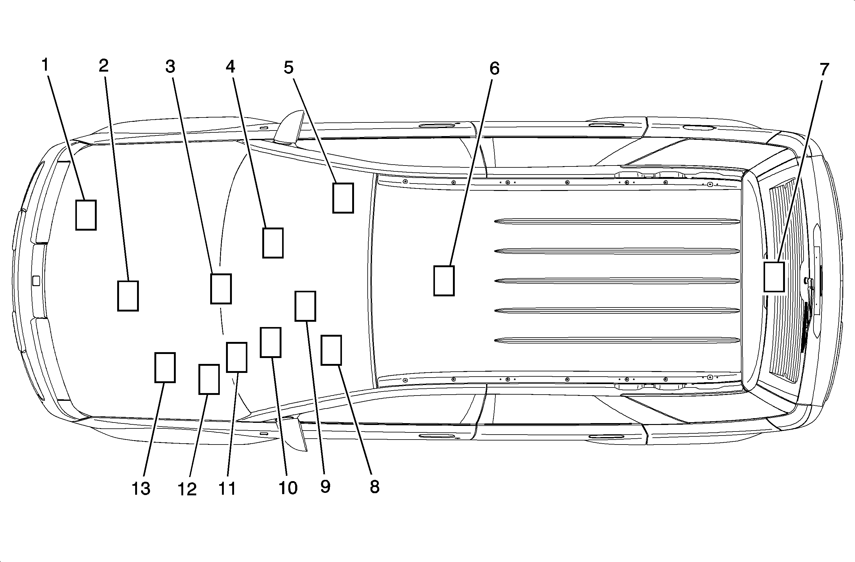
| (1) | Engine Control
Module (ECM) - L61 |
| (2) | Engine Control
Module (ECM) - L81 |
| (3) | Power Steering
Control Module (PSCM) |
| (4) | Body Control
Module (BCM), Radio |
| (5) | Door Lock Switch
and Actuator - Front Passenger, Rest Similar |
| (6) | Inflatable
Restraint Sensing and Diagnostic Module (SDM) |
| (7) | Liftgate
Lock Actuator/Ajar Switch |
| (8) | Data Link
Connector (DLC) |
| (9) | Vehicle Communication
Interface Module (VCIM) |
| (10) | Instrument
Panel Cluster (IPC) |
| (11) | Passlock
Sensor |
| (12) | Transmission
Control Module (TCM) |
| (13) | Electronic
Brake Control Module (EBCM) |