GM Service Manual Online
For 1990-2009 cars only

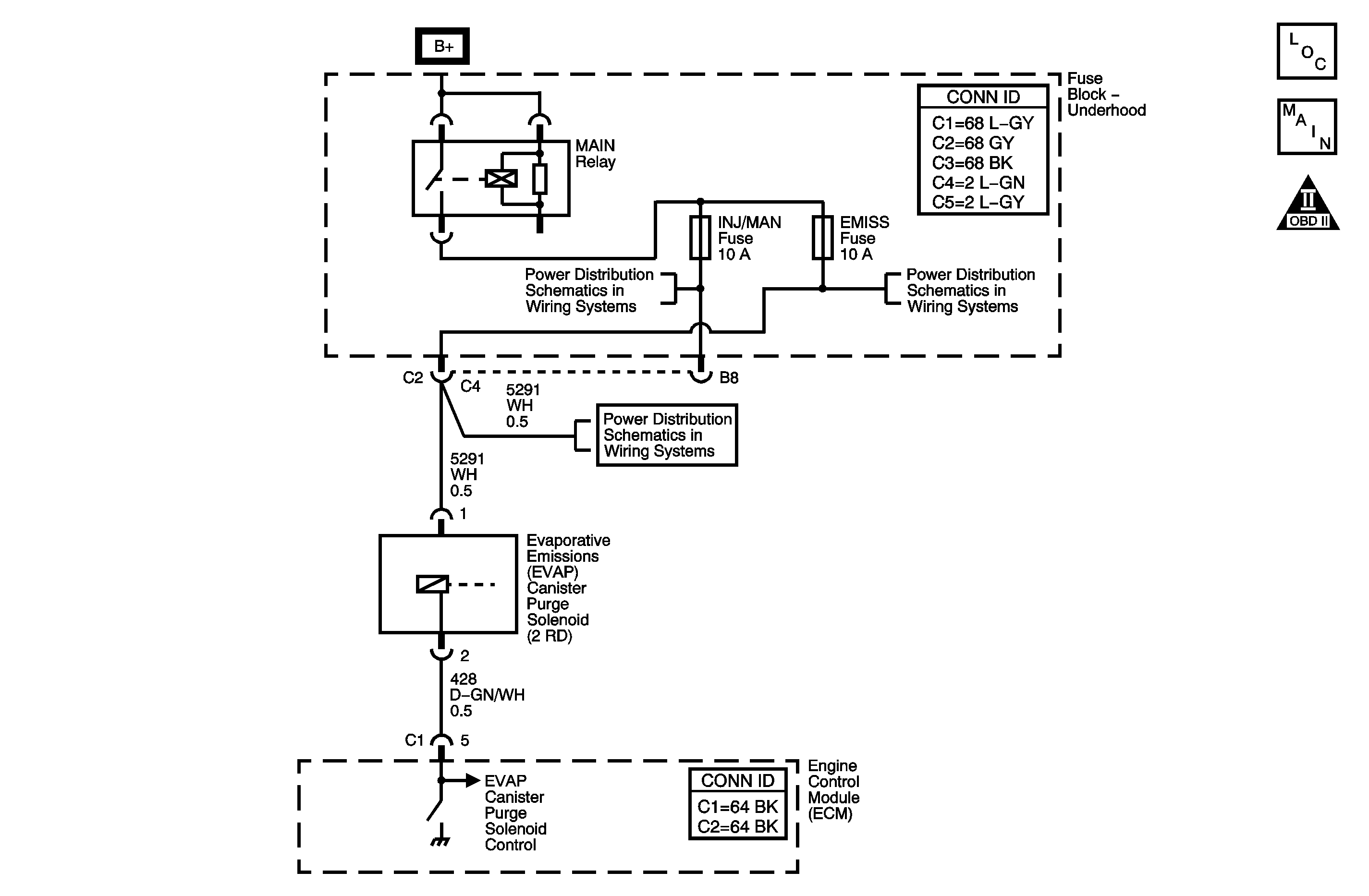
Object Number: 1254383  Size: MF
Engine Controls Component Views
Engine Controls Schematics

Circuit Description

The Evaporative Emission (EVAP) System is used to store fuel vapors as to reduce the amount of unburned fuel from escaping into the atmosphere. The EVAP purge solenoid is used to control the flow of fuel vapor from the EVAP canister to the intake manifold. The engine control module (ECM) controls the solenoid by supplying it ground whenever the EVAP system is in purge mode. Fuel vapors can be purged anytime the ECM is in Closed Loop and the vehicle is not in deceleration. When the solenoid is commanded OFF, circuit not grounded, the voltage level at the ECM should be high, ignition voltage. When the driver is commanded ON, circuit grounded, the voltage level at the ECM should be low. The ECM EVAP purge solenoid feedback circuit uses a pull-up voltage, 2.6-4.6 volts, which allows the ECT to individually differentiate between an open, short to ground or short to voltage. DTC P0445 will set if the ECM detects a higher than normal feedback voltage when EVAP purge solenoid is commanded ON with engine cranking/running.

Conditions for Running the DTC

    • The engine speed is more than 40 RPM.
    • The battery is between 8-18 volts.
    • DTC P0445 runs continuously once the above conditions have been met.

Conditions for Setting the DTC

DTC P0445 will set if the EVAP purge solenoid feedback voltage is more than 4.6 volts when EVAP purge solenoid is commanded ON, and the condition exists for longer than 0.5 seconds.

Action Taken When the DTC Sets

    • The control module illuminates the malfunction indicator lamp (MIL) on the second consecutive ignition cycle that the diagnostic runs and fails.
    • The control module records the operating conditions at the time the diagnostic fails. The first time the diagnostic fails, the control module stores this information in the Failure Records. If the diagnostic reports a failure on the second consecutive ignition cycle, the control module records the operating conditions at the time of the failure. The control module writes the operating conditions to the Freeze Frame and updates the Failure Records.

Conditions for Clearing the DTC

    • A current DTC Last Test Failed clears when the diagnostic runs and passes.
    • A history DTC clears after 40 consecutive warm-up cycles, if no failures are reported by this or any other non-emission related diagnostic.
    • Clear the DTC with a scan tool.

Diagnostic Aids

    • EVAP purge solenoid resistance is 23-32 ohms.
    • To locate an intermittent problem, command EVAP Purge Solenoid ON at 70 percent duty cycle with ignition ON, and the engine OFF, with a scan tool. Wiggle the harness and surrounding wiring, if the clicking stops, look for a fault in that area.
    • The EVAP purge solenoid is pulse width modulated (PWM). An audible clicking should be heard when the purge solenoid is commanded to 50 percent and should stop when the EVAP purge solenoid is commanded to 0 percent. The rate at which the solenoid cycles should increase as the commanded state is increased and decreased as the commanded state is decreased. Repeat the commands as necessary.
    • For intermittent conditions refer to Intermittent Conditions .

Step

Action

Yes

No

Schematic Reference: Engine Controls Schematics

Connector End View Reference: Engine Control Module Connector End Views or Engine Controls Connector End Views

1

Did you perform the Diagnostic System Check-Engine Controls?

Go to Step 2

Go to Diagnostic System Check - Engine Controls

2

  1. Turn ON the ignition, with the engine OFF.
  2. Command the evaporative emission (EVAP) purge solenoid to 50 percent and then to 0 percent with a scan tool.

Do you hear or feel a clicking from the EVAP purge solenoid when the solenoid is commanded to 50 percent?

Go to Step 3

Go to Step 4

3

  1. Review the Freeze Frame/Failure Records for this DTC.
  2. Turn OFF the ignition for 30 seconds.
  3. Start the engine.
  4. Operate the vehicle within the Conditions for Running the DTC as specified in the supporting text or as close to the Freeze Frame/Failure Records that you observed.

Does the DTC fail this ignition?

Go to Step 4

Go to Diagnostic Aids

4

  1. Turn OFF the ignition.
  2. Disconnect the evaporative emission (EVAP) purge solenoid.
  3. Turn ON the ignition, with the engine OFF
  4. Probe the control circuit of the EVAP purge solenoid with a test lamp that is connected to a good ground.

Does the test lamp illuminate?

Go to Step 5

Go to Step 6

5

Test the control circuit of the EVAP purge solenoid for a short to voltage. Refer to Circuit Testing and Wiring Repairs in Wiring Systems.

Did you find and correct the condition?

Go to Step 10

Go to Step 7

6

Inspect for an intermittent and for a poor connection at the EVAP purge solenoid. Refer to Testing for Intermittent Conditions and Poor Connections and Connector Repairs in Wiring Systems.

Did you find and correct the condition?

Go to Step 10

Go to Step 8

7

Inspect for an intermittent and for a poor connection at the control module. Refer to Testing for Intermittent Conditions and Poor Connections and Connector Repairs in Wiring Systems.

Did you find and correct the condition?

Go to Step 10

Go to Step 9

8

Replace the EVAP purge solenoid. Refer to Evaporative Emission Canister Purge Solenoid Valve Replacement .

Did you complete the replacement?

Go to Step 10

--

9

Replace the control module. Refer to Engine Control Module Replacement .

Did you complete the replacement?

Go to Step 10

--

10

  1. Clear the DTCs with a scan tool.
  2. Turn OFF the ignition for 30 seconds.
  3. Start the engine.
  4. Operate the vehicle within the Conditions for Running the DTC as specified in the supporting text.

Does the DTC run and pass?

Go to Step 11

Go to Step 2

11

Observe the Capture Info with a scan tool.

Does the scan tool display any DTCs that you have not diagnosed?

Go to Diagnostic Trouble Code (DTC) List

System OK