GM Service Manual Online
For 1990-2009 cars only

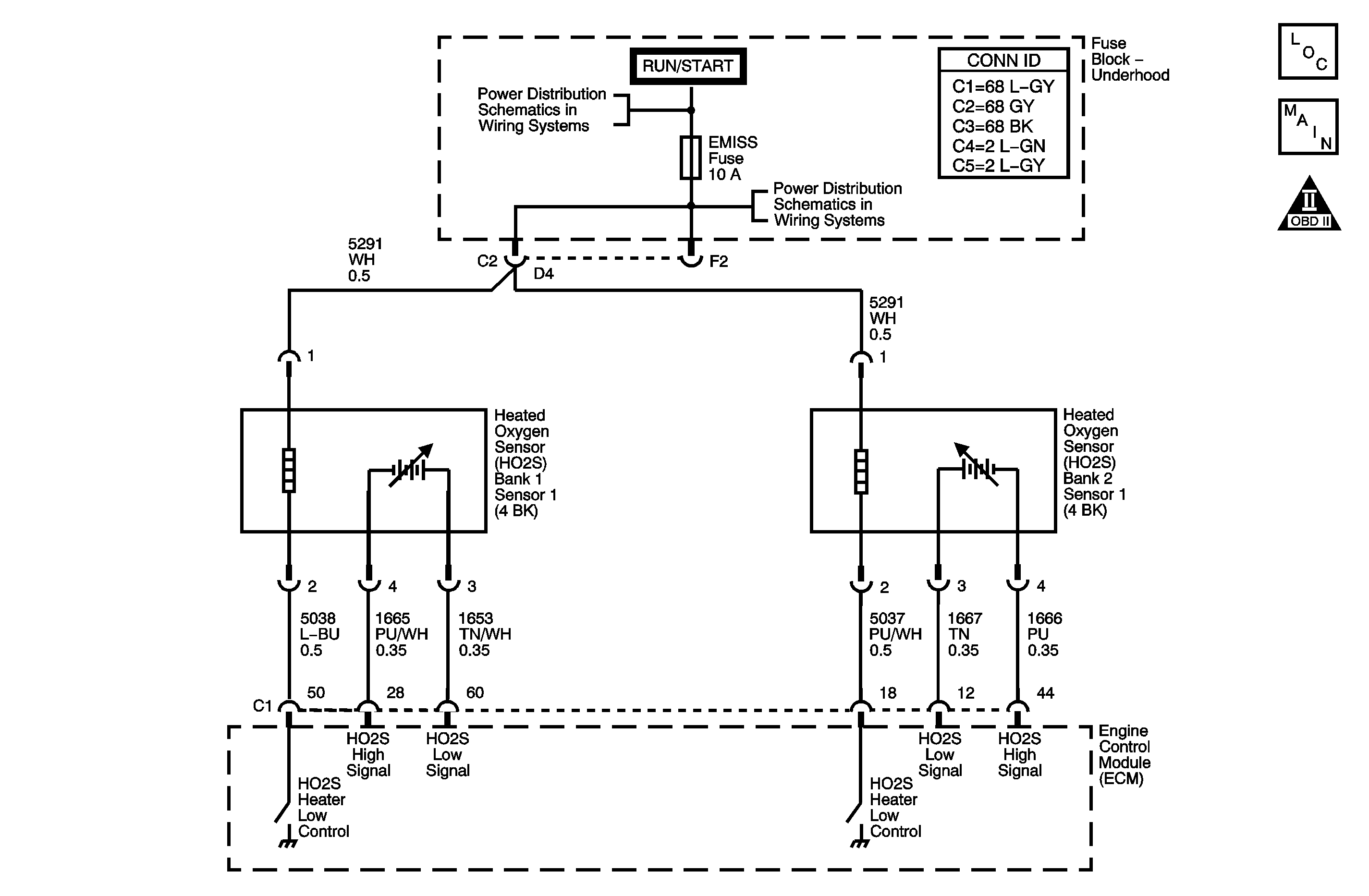
Object Number: 1254405  Size: MF
Engine Controls Component Views
Engine Controls Schematics

Circuit Description

Heated oxygen sensors (HO2S) are used for fuel control and post catalyst monitoring. Each HO2S compares the oxygen content of the surrounding air with the oxygen content of the exhaust stream. When the vehicle is first started the engine control module (ECM) operates in an open loop mode, ignoring the HO2S signal voltage when calculating the air-to-fuel ratio. The ECM supplies the HO2S with a reference, or bias, voltage of about 450 mV. The HO2S generates a voltage within a range of 0-1,000 mV that fluctuates above and below bias voltage. High HO2S voltage output indicates a rich fuel mixture. Low HO2S voltage output indicates a lean mixture. Heating elements inside the HO2S minimize the time required for the sensors to reach operating temperature, and to provide an accurate voltage signal. The ECM monitors the rich-to-lean and lean-to-rich transition time. If the ECM detects an HO2S 1 voltage signal average transition time that is too slow, DTC  P0133 will set for HO2S bank 1 sensor 1, or DTC P0153 will set for HO2S bank 2 sensor 1.

Conditions for Running the DTC

    • DTCs P0030, P0031, P0032, P0036, P0037, P0038, P0101, P0102, P0103, P0112, P0113, P0116, P0117, P0118, P0125, P0128, P0135, P0141, P0171, P0172, P0174, P0175, P0300, P0301-P0306, P0313, P0341, P0342, P0343, P0443, P0444, and P0445 are not set.
    • The Loop Status parameter is closed.
    • The Engine Speed parameter is between 1,600-2,400 RPM.
    • The calculated converter temperature is over 350°C (662°F).
    • The Engine Load parameter is between 25-60 percent.
    • The EVAP system is not purging or has been purging for at lest 10 seconds.
    • This diagnostic runs once per ignition cycle once the above conditions are met.

Conditions for Setting the DTC

The ECM detects that the HO2S 1 signal takes longer than 1.3 seconds to switch, after 21 valid switching cycles have occurred.

Action Taken When the DTC Sets

    • The control module illuminates the malfunction indicator lamp (MIL) on the second consecutive ignition cycle that the diagnostic runs and fails.
    • The control module records the operating conditions at the time the diagnostic fails. The first time the diagnostic fails, the control module stores this information in the Failure Records. If the diagnostic reports a failure on the second consecutive ignition cycle, the control module records the operating conditions at the time of the failure. The control module writes the operating conditions to the Freeze Frame and updates the Failure Records.

Conditions for Clearing the MIL/DTC

    • The control module turns OFF the malfunction indicator lamp (MIL) after 3 consecutive ignition cycles that the diagnostic runs and does not fail.
    • A current DTC, Last Test Failed, clears when the diagnostic runs and passes.
    • A history DTC clears after 40 consecutive warm-up cycles, if no failures are reported by this or any other emission related diagnostic.
    • Clear the MIL and the DTC with a scan tool.

Step

Action

Values

Yes

No

Schematic Reference: Engine Controls Schematics

Connector End View Reference: Engine Control Module Connector End Views or Engine Controls Connector End Views

1

Did you perform the Diagnostic System Check-Engine Controls?

--

Go to Step 2

Go to Diagnostic System Check - Engine Controls

2

  1. Allow the engine to idle at operating temperature.
  2. Observe the affected heated oxygen sensor (HO2S) 1 voltage parameter with a scan tool.
  3. Clear the DTCs and record the Freeze Frame/Failure Records.
  4. Operate the engine at 2,000 RPM for at least 1 minute, then allow to idle.
  5. Vary the engine speed from idle to 3,000 RPM several times within 5 seconds.

Does the affected HO2S voltage fluctuate above and below the specified range?

400-597 mV

Go to Step 3

Go to Step 4

3

  1. Observe the Freeze Frame/Failure Records for this DTC.
  2. Turn OFF the ignition.
  3. Start the engine.
  4. Operate the vehicle within the Conditions for Running the DTC. You may also operate the vehicle within the conditions that you observed from the Freeze Frame/Failure Records.

Did the DTC fail this ignition?

--

Go to Step 4

Go to Intermittent Conditions

4

  1. Turn OFF the ignition.
  2. Disconnect the affected HO2S connector.
  3. Connect a 3-amp fused jumper wire between the affected HO2S high signal circuit of the engine harness connector and a good ground.
  4. Turn ON the ignition, with the engine OFF.
  5. Observe the affected HO2S voltage with a scan tool.

Is the affected HO2S high signal voltage less than the specified value?

25 mV

Go to Step 5

Go to Step 6

5

  1. Remove the jumper wire from the previous step.
  2. Connect a 3-amp fused jumper wire between the affected HO2S high signal circuit of the engine harness, and the affected HO2S low signal circuit of the engine harness.
  3. Observe the affected HO2S voltage with a scan tool.

Is the affected HO2S voltage less than the specified value?

25 mV

Go to Step 8

Go to Step 7

6

Test the affected HO2S high signal circuit for an open or high resistance. Refer to Circuit Testing and Wiring Repairs in Wiring Systems.

Did you find and correct the condition?

--

Go to Step 13

Go to Step 10

7

Test the affected HO2S low signal circuit for an open or high resistance. Refer to Circuit Testing and Wiring Repairs in Wiring Systems.

Did you find and correct the condition?

--

Go to Step 13

Go to Step 10

8

Inspect for the following that may affect the HO2S operation:

Notice: Contamination of the oxygen sensor can result from the use of an inappropriate RTV sealant (not oxygen sensor safe) or excessive engine coolant or oil consumption. Remove the HO2S and visually inspect the portion of the sensor exposed to the exhaust stream in order to check for contamination. If contaminated, the portion of the sensor exposed to the exhaust stream will have a white powdery coating. Silicon contamination causes a high but false HO2S signal voltage (rich exhaust indication). The control module will then reduce the amount of fuel delivered to the engine, causing a severe driveability problem. Eliminate the source of contamination before replacing the oxygen sensor.

    • HO2S contamination--Inspect the HO2S for contamination.

Notice: Do not remove the pigtail from either the heated oxygen sensor (HO2S) or the oxygen sensor (O2S). Removing the pigtail or the connector will affect sensor operation.

Handle the oxygen sensor carefully. Do not drop the HO2S. Keep the in-line electrical connector and the louvered end free of grease, dirt, or other contaminants. Do not use cleaning solvents of any type.

Do not repair the wiring, connector or terminals. Replace the oxygen sensor if the pigtail wiring, connector, or terminal is damaged.

This external clean air reference is obtained by way of the oxygen sensor signal and heater wires. Any attempt to repair the wires, connectors, or terminals could result in the obstruction of the air reference and degraded sensor performance.

The following guidelines should be used when servicing the heated oxygen sensor:

   • Do not apply contact cleaner or other materials to the sensor or vehicle harness connectors. These materials may get into the sensor causing poor performance.
   • Do not damage the sensor pigtail and harness wires in such a way that the wires inside are exposed. This could provide a path for foreign materials to enter the sensor and cause performance problems.
   • Ensure the sensor or vehicle lead wires are not bent sharply or kinked. Sharp bends or kinks could block the reference air path through the lead wire.
   • Do not remove or defeat the oxygen sensor ground wire, where applicable. Vehicles that utilize the ground wired sensor may rely on this ground as the only ground contact to the sensor. Removal of the ground wire will cause poor engine performance.
   • Ensure that the peripheral seal remains intact on the vehicle harness connector in order to prevent damage due to water intrusion. The engine harness may be repaired using Packard's Crimp and Splice Seals Terminal Repair Kit. Under no circumstances should repairs be soldered since this could result in the air reference being obstructed.

    • Chafed, burnt, cut, pinched, or otherwise damaged HO2S wiring
    • Exhaust system leaks or restrictions
    • Evaporative Emissions (EVAP) system malfunction--Inspect the EVAP control system. Refer to Inspection/Maintenance Evaporative Emission System Set .
    • The fuel pressure--Incorrect fuel pressure can affect HO2S operation. Refer to Fuel System Diagnosis .

Did you find and correct the condition?

--

Go to Step 13

Go to Step 9

9

Test for an intermittent and for a poor connection at the affected HO2S connector. Refer to Testing for Intermittent Conditions and Poor Connections and Connector Repairs in Wiring Systems.

Did you find and correct the condition?

--

Go to Step 13

Go to Step 11

10

Test for an intermittent and for a poor connection at the engine control module (ECM) harness connectors. Refer to Testing for Intermittent Conditions and Poor Connections and Connector Repairs in Wiring Systems.

Did you find and correct the condition?

--

Go to Step 13

Go to Step 12

11

Replace the affected HO2S. Refer to Heated Oxygen Sensor Replacement - Bank 1 Sensor 1 or Heated Oxygen Sensor Replacement - Bank 2 Sensor 1 .

Did you complete the replacement?

--

Go to Step 13

--

12

Replace the ECM. Refer to Engine Control Module Replacement .

Did you complete the replacement?

--

Go to Step 13

--

13

  1. Clear the DTCs with a scan tool.
  2. Turn OFF the ignition.
  3. Start the engine.
  4. Operate the vehicle within the Conditions for Running the DTC. You may also operate the vehicle within the conditions that you observed from the Freeze Frame/Failure Records.

Did the DTC fail this ignition

--

Go to Step 2

Go to Step 14

14

Observe the Capture Info with a scan tool.

Are there any DTCs that have not been diagnosed?

--

Go to Diagnostic Trouble Code (DTC) List

System OK