GM Service Manual Online
For 1990-2009 cars only

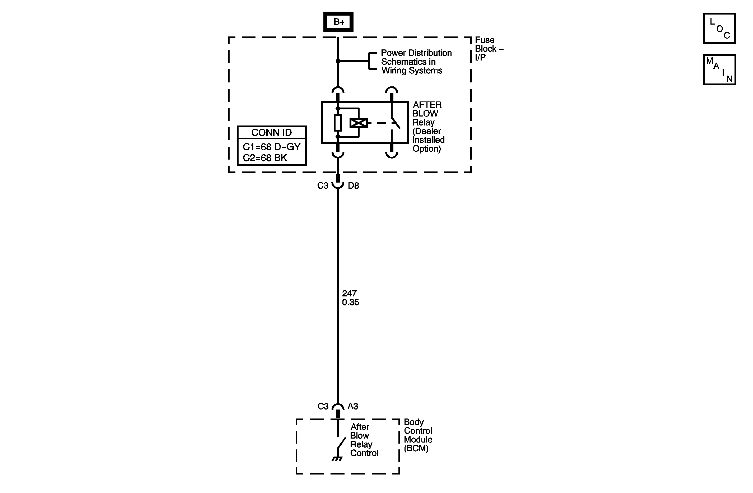
Object Number: 1232940  Size: MF
Master Electrical Component List
Blower Controls

Circuit Description

Battery voltage is supplied directly to the after blow relay directly through the underhood fuse block. The body control module (BCM), provides the ground to enable the after blow operation through the blower motor relay control circuit. The after blow relay control circuit and relay are retailer installed. The BCM provides logic to enable the blower based on information from the engine control module (ECM). The duration of the after blow relay cycle is determined by A/C operation, ambient air temperature and vehicle speed.

Conditions for Running the DTC

    • Engine is running.
    • Any of the conditions for setting the DTC are met for 5 seconds.
    • Battery voltage is between 11 to 17 volts.
    • Output control is ON.

Conditions for Setting the DTC

B3788: The BCM detects a short to battery voltage for 5 seconds on the blower motor relay control circuit when the output is on.

Action Taken When the DTC Sets

    • The BCM will not illuminate the malfunction indicator lamp (MIL).
    • The BCM stores the failure records.
    • The HVAC Blower is disabled.

Conditions for Clearing the DTC

    • The history DTC will clear after forty consecutive ignition cycles have occurred without a malfunction.
    • The DTC can be cleared by the scan tool.
    • The DTC will become history if the BCM no longer detects a failure.

Diagnostic Aids

    • Visually inspect the relay and connection for damage.
    • Visually inspect the instrument panel fuse block for damage.
    • Check for poor connection at the BCM.
    • Refer to Testing for Intermittent Conditions and Poor Connections in Wiring Systems.

Test Description

The number(s) below refer to the step number(s) on the diagnostic table.

  1. Listen for an audible click when the after blower relay operates. Command both the ON and OFF states. Repeat the commands as necessary.

  2. Tests for voltage at the coil side of the after blow relay. The BATT Feed fuse supplies power to the coil side of the after blow relay.

  3. Verifies that the body control module is providing ground to the after blow relay.

  4. Tests if ground is constantly being applied to the after blow relay.

  5. Tests if intermittent voltage is being applied to the after blow relay.

  6. It is important to follow the programming procedure for replacing the body control module.

Step

Action

Yes

No

Connector End View Reference: HVAC Connector End Views

1

Did you perform the HVAC Diagnostic System Check?

Go to Step 2

Go to Diagnostic System Check - HVAC Systems - Manual

2

  1. Install a scan tool.
  2. Turn ON the ignition, with the engine OFF.
  3. With a scan tool, command the after blow relay ON and OFF.

Does the after blow relay turn ON and OFF with each command?

Go to Diagnostic Aids

Go to Step 3

3

  1. Turn OFF the ignition.
  2. Disconnect the after blow relay.
  3. Turn ON the ignition, with the engine OFF.
  4. Probe the battery positive voltage circuit of the after blow relay with a test lamp that is connected to a good ground.

Does the test lamp illuminate?

Go to Step 4

Go to Step 10

4

  1. Connect a test lamp between the control circuit of the after blow relay and the battery positive voltage circuit of the after blow relay.
  2. With a scan tool, command the after blow relay ON and OFF .

Does the test lamp turn ON and OFF with each command?

Go to Step 8

Go to Step 5

5

Does the test lamp remain illuminated with each command?

Go to Step 7

Go to Step 6

6

Test the control circuit of the after blow relay for a short to voltage or an open. Refer to Circuit Testing and Wiring Repairs in Wiring Systems.

Did you find and correct the condition?

Go to Step 13

Go to Step 9

7

Test the control circuit of the after blow relay for a short to ground. Refer to Circuit Testing and Wiring Repairs in Wiring Systems.

Did you find and correct the condition?

Go to Step 13

Go to Step 9

8

Inspect for poor connections at the after blow relay. Refer to Testing for Intermittent Conditions and Poor Connections and Connector Repairs in Wiring Systems.

Did you find and correct the condition?

Go to Step 13

Go to Step 11

9

Inspect for poor connections at the harness connector of the body control module. Refer to Testing for Intermittent Conditions and Poor Connections and Connector Repairs in Wiring Systems.

Did you find and correct the condition?

Go to Step 13

Go to Step 12

10

Repair the battery positive voltage circuit of the after blow relay. Refer to Wiring Repairs in Wiring Systems.

Did you complete the repair?

Go to Step 13

--

11

Replace the after blow relay.

Did you complete the replacement?

Go to Step 13

--

12

Important: Perform the set up procedure for the body control module .

Replace the body control module. Refer to Body Control Module Replacement in Body Control Systems.

Did you complete the replacement?

Go to Step 13

--

13

  1. Use the scan tool in order to clear the DTCs .
  2. Operate the vehicle within the Conditions for Running the DTC as specified in the supporting text.

Does the DTC reset?

Go to Step 2

System OK