GM Service Manual Online
For 1990-2009 cars only

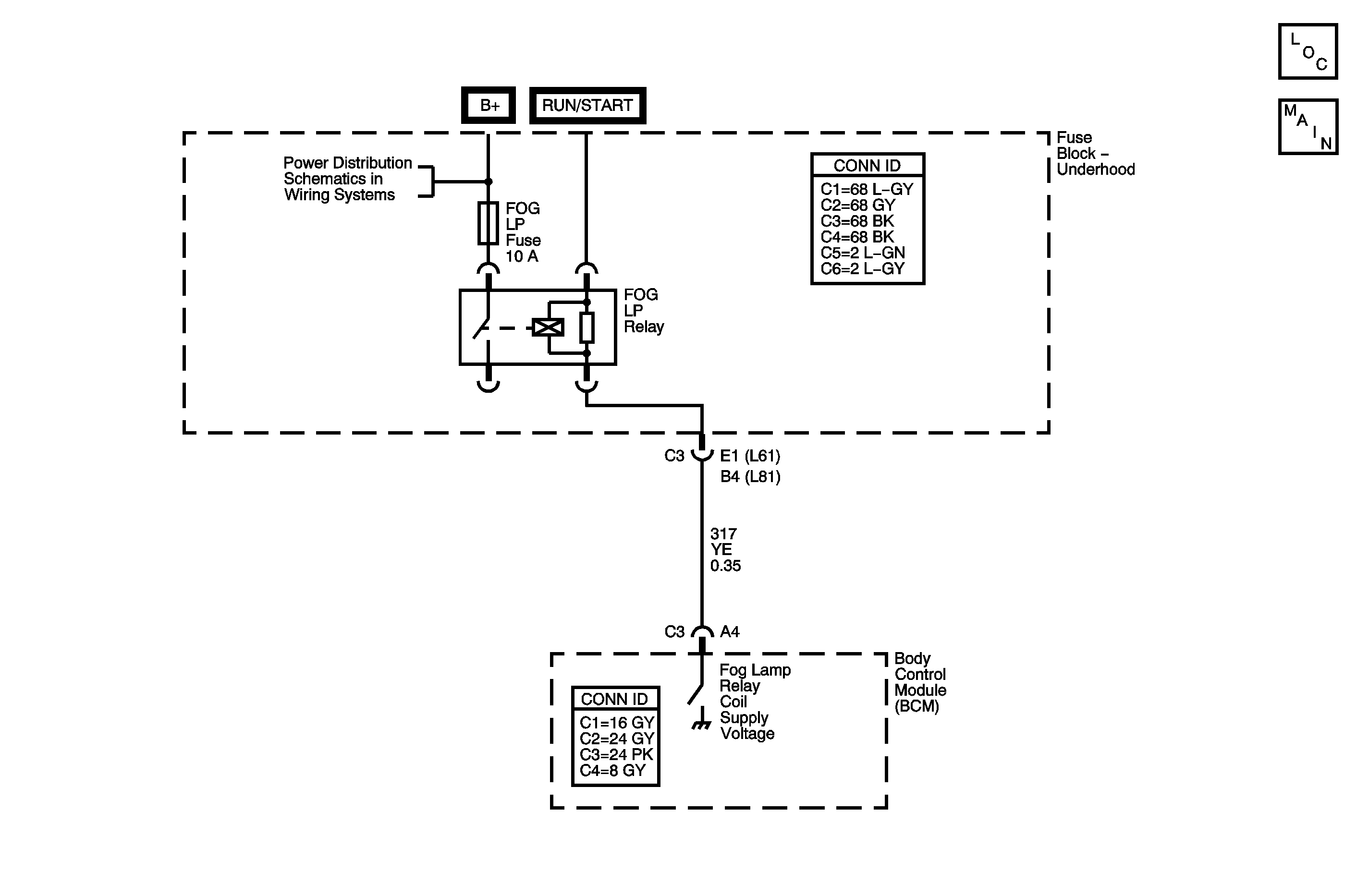
Object Number: 1351218  Size: MF

Circuit Description

The fog lamp relay is controlled by the body control module (BCM). On the Chevrolet, battery positive voltage is applied to the relay coil when the headlamp switch is in the PARK or HEAD position. On the Pontiac, battery positive voltage is applied to the relay coil at all times. The BCM grounds the fog lamp relay control circuit in order to turn ON the fog lamp relay. When the fog lamp relay control circuit opens or becomes shorted to ground without being commanded ON by the BCM, DTC B2532 is set.

Conditions for Running the DTC

    • The ignition switch is in the ON position.
    • The headlamp switch is in the PARK or HEAD position.

Conditions for Setting the DTC

All of the following conditions must be met:

    • The ignition switch is in the ON position.
    • The headlamp switch is in the PARK or HEAD position.
    • The fog lamp relay control circuit is shorted to battery positive voltage for 250 milliseconds.

Action Taken When the DTC Sets

    • DTC B2533 will be stored in the BCM memory.
    • The fog lamps are inoperative.

Conditions for Clearing the DTC

    • The conditions for setting the DTC are no longer present.
    • A history DTC clears after 100 malfunction free ignition cycles.
    • The BCM receives the clear code command from the scan tool.

Diagnostic Aids

    • The fog lamps will only illuminate under the following conditions:
       - The park lamps or low beam headlamps are ON.
       - The highbeam headlamps are OFF.
       - The fog lamp switch is ON.
    • If the DTC is a history DTC, the problem may be intermittent. Refer to Testing for Intermittent Conditions and Poor Connections in Wiring Systems.

Test Description

The numbers below refer to the step numbers on the diagnostic table.

  1. Listen for an audible click when the fog lamp relay operates. Command both the ON and OFF states. Repeat the commands as necessary.

  2. Tests for voltage at the coil side of the fog lamp relay.

  3. Verifies that the body control module is providing ground to the fog lamp relay.

Step

Action

Yes

No

Schematic Reference: Fog Lights Schematics

1

Did you perform the Lighting System Diagnostic System Check?

Go to Step 2

Go to Diagnostic System Check - Lighting Systems

2

  1. Install a scan tool.
  2. Turn ON the ignition, with the engine OFF.
  3. With a scan tool, command the fog lamp relay ON and OFF.

Does the fog lamp relay state change with each command?

Go to Testing for Intermittent Conditions and Poor Connections in Wiring Systems

Go to Step 3

3

  1. Turn OFF the ignition.
  2. Disconnect the fog lamp relay.
  3. Turn ON the ignition, with the engine OFF.
  4. Turn the headlamp switch to the PARK or HEAD position.
  5. Probe the coil side battery positive voltage circuit between the fog lamp relay and the headlamp switch with a test lamp that is connected to a good ground.

Does the test lamp illuminate?

Go to Step 4

Go to Step 8

4

  1. Connect a test lamp between the control circuit of the fog lamp relay and the coil side battery positive voltage circuit of the fog lamp relay.
  2. Place the headlamp switch in the PARK or HEADLAMP position.
  3. With a scan tool, command the fog lamp relay ON and OFF .

Does the test lamp turn ON and OFF with each command?

Go to Step 6

Go to Step 5

5

Test the control circuit of the fog lamp relay for a short to voltage. Refer to Circuit Testing and Wiring Repairs in Wiring Systems.

Did you find and correct the condition?

Go to Step 11

Go to Step 7

6

Inspect for poor connections at the fog lamp relay. Refer to Testing for Intermittent Conditions and Poor Connections and Connector Repairs in Wiring Systems.

Did you find and correct the condition?

Go to Step 11

Go to Step 9

7

Inspect for poor connections at the harness connector of the body control module. Refer to Testing for Intermittent Conditions and Poor Connections and Connector Repairs in Wiring Systems.

Did you find and correct the condition?

Go to Step 11

Go to Step 10

8

Repair the open in the coil side battery positive voltage circuit of the fog lamp relay. Refer to Wiring Repairs in Wiring Systems.

Did you complete the repair?

Go to Step 11

--

9

Replace the fog lamp relay.

Did you complete the replacement?

Go to Step 11

--

10

Important: Perform the set up procedure for the body control module.

Replace the body control module. Refer to Body Control Module Replacement in Body Control System .

Did you complete the replacement?

Go to Step 11

--

11

  1. Use the scan tool in order to clear the DTCs .
  2. Operate the vehicle within the Conditions for Running the DTC as specified in the supporting text.

Does the DTC reset?

Go to Step 2

System OK