GM Service Manual Online
For 1990-2009 cars only

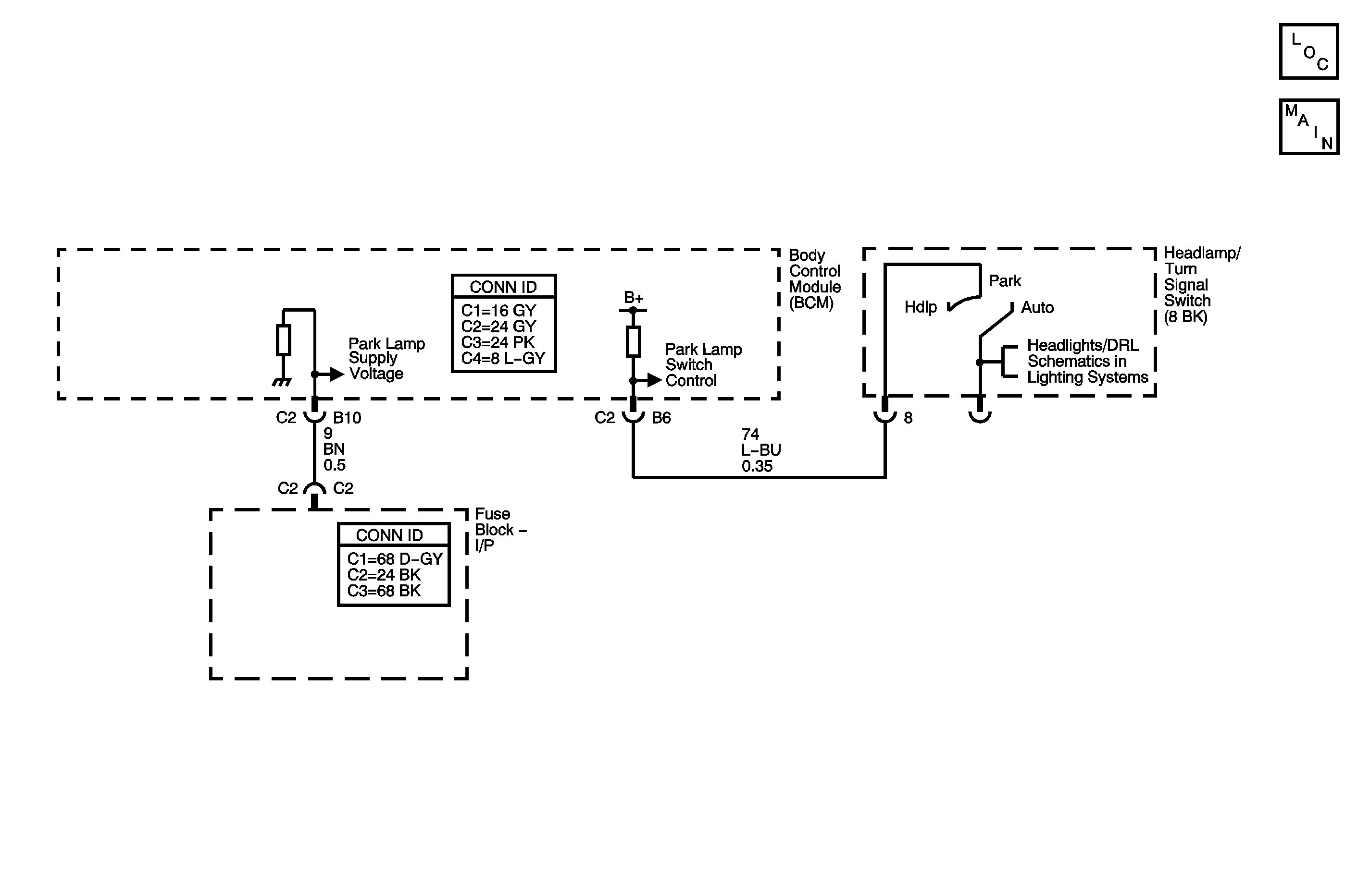
Object Number: 1351198  Size: MF

Circuit Description

The park lamps are controlled by the headlamp switch. Battery positive voltage is supplied to the switch through the PARK LP fuse. When the headlamp switch is placed in the park or head position, battery voltage is supplied to the park lamps. The body control module is also connected to the park lamp circuit to sense whether or not the park lamps turn on when the lowbeam or highbeam headlamps are turned on. If the BCM senses that the lowbeam or highbeam headlamps are on and the park lamp input is not active, DTC B2662 sets.

Conditions for Running the DTC

    • The ignition switch is in the ON position.
    • The lowbeam or highbeam headlamps are on.

Conditions for Setting the DTC

The park lamp input is inactive.

Action Taken When the DTC Sets

DTC B2662 is stored in the BCM memory.

Conditions for Clearing the DTC

    • The conditions for setting the DTC are no longer present.
    • A history DTC clears after 100 malfunction free ignition cycles.
    • The BCM receives the clear code command from the scan tool.

Diagnostic Aids

    • The low or highbeam headlamps must be on in order to set this DTC.
    • An open PARK LP fuse will set this code.
    • If the DTC is a history DTC, the problem may be intermittent. Refer to Testing for Intermittent Conditions and Poor Connections in Wiring Systems.

Step

Action

Yes

No

Schematic Reference: Exterior Lights Schematics

1

Did you perform the Lighting System Diagnostic System Check?

Go to Step 2

Go to Diagnostic System Check - Lighting Systems

2

  1. Install a scan tool.
  2. Turn ON the ignition, with the engine OFF.
  3. With a scan tool, observe the Parklamp Switch parameter in the Exterior Lamps data list.
  4. Turn the lowbeam headlamps ON.
  5. Return the headlamp switch to the OFF position.

Does the scan tool display toggle between on and off?

Go to Testing for Intermittent Conditions and Poor Connections in Wiring Systems

Go to Step 3

3

Are the park lamps operating properly when the headlamp switch is turned ON and then OFF?

Go to Step 4

Go to Step 6

4

Test the signal circuit of the headlamp switch for an open or high resistance. Refer to Circuit Testing and Wiring Repairs in Wiring Systems.

Did you find and correct the condition?

Go to Step 11

Go to Step 5

5

Inspect for poor connections at the harness connector of the BCM. Refer to Testing for Intermittent Conditions and Poor Connections and Connector Repairs in Wiring Systems.

Did you find and correct the condition?

Go to Step 11

Go to Step 9

6

Test the battery positive voltage circuit of the headlamp switch for an open or short to ground. Refer to Circuit Testing and Wiring Repairs in Wiring Systems.

Did you find and correct the condition?

Go to Step 11

Go to Step 7

7

Test the park lamp signal circuit of the headlamp switch for an open or high resistance. Refer to Circuit Testing and Wiring Repairs in Wiring Systems.

Did you find and correct the condition?

Go to Step 11

Go to Step 8

8

Inspect for poor connections at the harness connector of the headlamp switch. Refer to Testing for Intermittent Conditions and Poor Connections and Connector Repairs in Wiring Systems.

Did you find and correct the condition?

Go to Step 11

Go to Step 10

9

Important: Perform the set up procedure for the body control module. Refer to Body Control Module (BCM) Programming/RPO Configuration in Body Control System.

Replace the body control module. Refer to Body Control Module Replacement in Body Control System.

Did you complete the replacement?

Go to Step 11

--

10

Replace the headlamp switch. Refer to Turn Signal Multifunction Switch Replacement in Steering Wheel and Column.

Did you complete the replacement?

Go to Step 11

--

11

  1. Use the scan tool in order to clear the DTCs.
  2. Operate the vehicle within the Conditions for Running the DTC as specified in the supporting text.

Does the DTC reset?

Go to Step 2

System OK