Heated oxygen sensors (HO2S) are used for fuel control and post catalyst monitoring. Each HO2S compares the oxygen content of the surrounding air with the oxygen content of the exhaust stream. When the vehicle is first started the engine control module (ECM) operates in an Open Loop mode, ignoring the HO2S signal voltage when calculating the air-to-fuel ratio. The ECM supplies the HO2S with a reference, or bias, voltage of about 450 mV. The HO2S generates a voltage within a range of 0-1,000 mV that fluctuates above and below bias voltage. High HO2S voltage output indicates a rich fuel mixture. Low HO2S voltage output indicates a lean mixture. Heating elements inside the HO2S minimize the time required for the sensors to reach operating temperature, and to provide an accurate voltage signal. The ECM monitors the rich-to-lean and lean-to-rich transition time. If the ECM detects an HO2S 2 voltage signal that remains at or near the bias voltage, DTC P0138 will set for HO2S bank 1 sensor 2, or DTC P0158 will set for HO2S bank 2 sensor 2.
| • | DTCs P0030, P0031, P0032, P0036, P0037, P0038, P0050, P0051, P0052, P0056, P0057, P0058, P0171, P0172, P0174, P0175, P0300, P0301-P0306, P0313, P0341, P0342, P0343, P0443, P0444, P0445 are not set. |
| • | The Engine Run Time parameter is more than 280 seconds. |
| • | The calculated converter temperature is less than 800°C (1,472°F). |
| • | The Ignition 1 voltage parameter is more than 10.5 volts. |
The ECM detects that the affected HO2S 2 voltage remains over 1,080 mV for more than 5 seconds.
OR
The ECM detects that the affected HO2S 2 voltage signal remains above 200 mV during decel fuel cut-off, for more than 3 seconds.
OR
An HO2S 2 voltage does not move below 600 mV at least one time during 400 seconds when the ECM has forced a lean condition.
| • | The control module illuminates the malfunction indicator lamp (MIL) on the second consecutive ignition cycle that the diagnostic runs and fails. |
| • | The control module records the operating conditions at the time the diagnostic fails. The first time the diagnostic fails, the control module stores this information in the Failure Records. If the diagnostic reports a failure on the second consecutive ignition cycle, the control module records the operating conditions at the time of the failure. The control module writes the operating conditions to the Freeze Frame and updates the Failure Records. |
| • | The control module turns OFF the malfunction indicator lamp (MIL) after 3 consecutive ignition cycles that the diagnostic runs and does not fail. |
| • | A current DTC, Last Test Failed, clears when the diagnostic runs and passes. |
| • | A history DTC clears after 40 consecutive warm-up cycles, if no failures are reported by this or any other emission related diagnostic. |
| • | Clear the MIL and the DTC with a scan tool. |
Step | Action | Values | Yes | No | ||||||||||||||||||||
|---|---|---|---|---|---|---|---|---|---|---|---|---|---|---|---|---|---|---|---|---|---|---|---|---|
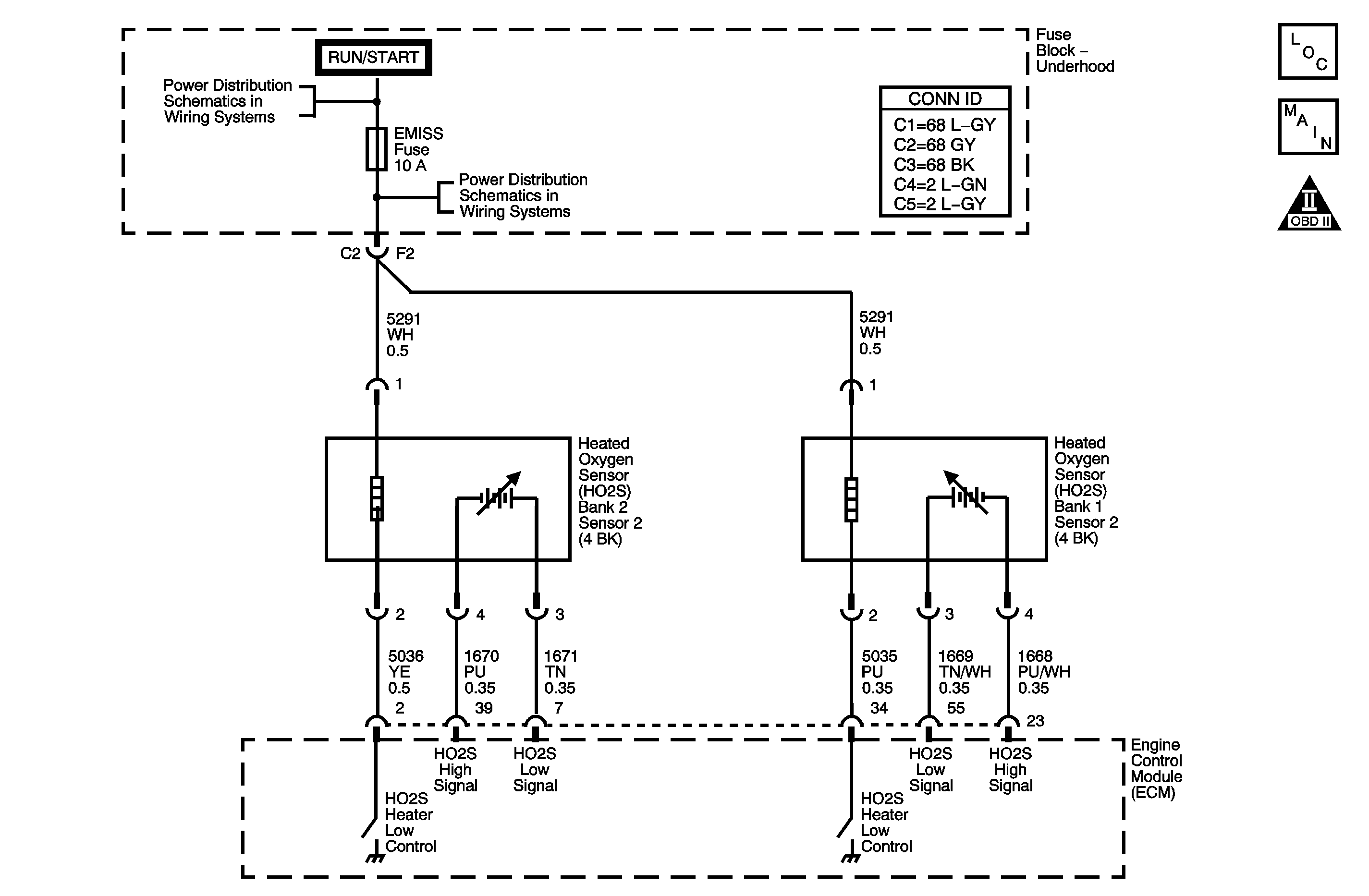
Schematic Reference: Engine Controls Schematics Connector End View Reference: Engine Control Module Connector End Views or Engine Controls Connector End Views | ||||||||||||||||||||||||
1 | Did you perform the Diagnostic System Check-Engine Controls? | -- | Go to Step 2 | |||||||||||||||||||||
2 |
Does the affected HO2S voltage react immediately to the above action? | -- | Go to Step 3 | Go to Step 4 | ||||||||||||||||||||
3 |
Did the DTC fail this ignition? | -- | Go to Step 4 | Go to Intermittent Conditions | ||||||||||||||||||||
4 |
Is the affected HO2S voltage within the specified range? | 425-475 mV | Go to Step 5 | Go to Step 7 | ||||||||||||||||||||
5 |
Is the voltage less than the specified value? | 25 mV | Go to Step 6 | Go to Step 8 | ||||||||||||||||||||
6 |
Is the affected HO2S voltage less than the specified value? | 25 mV | Go to Step 11 | Go to Step 9 | ||||||||||||||||||||
7 | Test the HO2S high signal circuit for a short to voltage. Refer to Circuit Testing and Wiring Repairs in Wiring Systems. Did you find and correct the condition? | -- | Go to Step 16 | Go to Step 13 | ||||||||||||||||||||
8 | Test the HO2S high signal circuit for an open or for high resistance. Refer to Circuit Testing and Wiring Repairs in Wiring Systems. Did you find and correct the condition? | -- | Go to Step 16 | Go to Step 13 | ||||||||||||||||||||
9 |
Important: The ECM may have been damaged if the circuit was shorted to a voltage source. Test the HO2S low signal circuit for a short to voltage. Refer to Circuit Testing and Wiring Repairs in Wiring Systems. Did you find and correct the condition? | -- | Go to Step 16 | Go to Step 10 | ||||||||||||||||||||
10 | Test the affected HO2S low signal circuit for an open or high resistance. Refer to Circuit Testing and Wiring Repairs in Wiring Systems. Did you find and correct the condition? | -- | Go to Step 16 | Go to Step 13 | ||||||||||||||||||||
11 | Inspect for the following that may affect the HO2S operation: Notice: Contamination of the oxygen sensor can result from the use of an inappropriate RTV sealant (not oxygen sensor safe) or excessive engine coolant or oil consumption. Remove the HO2S and visually inspect the portion of the sensor exposed to the exhaust stream in order to check for contamination. If contaminated, the portion of the sensor exposed to the exhaust stream will have a white powdery coating. Silicon contamination causes a high but false HO2S signal voltage (rich exhaust indication). The control module will then reduce the amount of fuel delivered to the engine, causing a severe driveability problem. Eliminate the source of contamination before replacing the oxygen sensor.
Notice: Do not remove the pigtail from either the heated oxygen sensor (HO2S) or the oxygen sensor (O2S). Removing the pigtail or the connector will affect sensor operation. Handle the oxygen sensor carefully. Do not drop the HO2S. Keep the in-line electrical connector and the louvered end free of grease, dirt, or other contaminants. Do not use cleaning solvents of any type. Do not repair the wiring, connector or terminals. Replace the oxygen sensor if the pigtail wiring, connector, or terminal is damaged. This external clean air reference is obtained by way of the oxygen sensor signal and heater wires. Any attempt to repair the wires, connectors, or terminals could result in the obstruction of the air reference and degraded sensor performance. The following guidelines should be used when servicing the heated oxygen sensor:
Did you find and correct the condition? | -- | Go to Step 16 | Go to Step 12 | ||||||||||||||||||||
12 | Test for an intermittent and for a poor connection at the affected HO2S connector. Refer to Testing for Intermittent Conditions and Poor Connections and Connector Repairs in Wiring Systems. Did you find and correct the condition? | -- | Go to Step 16 | Go to Step 14 | ||||||||||||||||||||
13 | Test for an intermittent and for a poor connection at the ECM harness connectors. Refer to Testing for Intermittent Conditions and Poor Connections and Connector Repairs in Wiring Systems. Did you find and correct the condition? | -- | Go to Step 16 | Go to Step 15 | ||||||||||||||||||||
14 | Replace the affected HO2S. Refer to Heated Oxygen Sensor Replacement - Bank 1 Sensor 2 or Heated Oxygen Sensor Replacement - Bank 2 Sensor 2 . Did you complete the replacement? | -- | Go to Step 16 | -- | ||||||||||||||||||||
15 | Replace the ECM. Refer to Engine Control Module Replacement . Did you complete the replacement? | -- | Go to Step 16 | -- | ||||||||||||||||||||
16 |
Did the DTC fail this ignition? | -- | Go to Step 2 | Go to Step 17 | ||||||||||||||||||||
17 | Observe the Capture Info with a scan tool. Are there any DTCs that have not been diagnosed? | -- | System OK | |||||||||||||||||||||